【深度挖掘Java性能调优】「底层技术原理体系」深入探索Java服务器性能监控Metrics框架的实现原理分析(Counter篇)

285 阅读7分钟

前提概要

对于后台服务而言,除了保证每个功能的正常工作,我们还需要了解服务的运行情况,包括机器的物理性能(例如线程数、文件句柄数、内存占用大小、GC时间等)以及业务性能(例如关键流程通过率、QPS以及响应时间等)。目前,常用的做法是通过定义、收集和展示一系列指标(metrics)来完成对后台服务的监控。

监控工作可以分为四个部分

根据以下这四个部分,我们能够完成对后台服务的监控工作,从而能够及时了解和处理服务的运行情况,优化性能,提供更好的用户体验,并确保服务的可靠性和稳定性。 在这里插入图片描述

  • 定义监控数据的产生:我们需要明确定义要监控的数据,包括哪些指标和数据需要收集和监控,以满足监控需求。这可以包括硬件资源利用率、服务的核心性能指标、业务处理的成功率等。

  • 定义监控数据收集的规则:我们需要定义如何收集和存储监控数据。这可能涉及到在代码中嵌入采集指标的逻辑,使用监控代理或导入外部监控系统等方式。关键是确定监控数据的数据源,以及数据如何采集、存储和处理。

  • 数据监控数据的展现形式:需要将收集到的监控数据进行可视化展示,以便更好地理解和分析。这可以包括创建仪表盘、图表、报表或使用专业的监控系统来呈现监控数据,让监控数据更易于理解和分析。

  • 根据监控数据进行报警:根据监控数据设置报警规则,以便在出现异常情况时及时提醒相关人员。这可以通过阈值设置、异常模式识别或使用专业的报警系统来实现。及时的报警能够帮助快速响应和解决问题,确保服务的稳定性和可靠性。

监控开发任务

接下来将逐步介绍如何在Java服务中接入监控服务,我们将从监控数据的产生开始。在本文中,我们将主要基于当前流行的度量框架 codahale.metrics 来进行介绍。

通过引入此依赖项,您可以使用 codahale.metrics 框架中提供的各种功能和特性进行应用程序的度量和监控。

<dependencies>
    <dependency>
        <groupId>com.codahale.metrics</groupId>
        <artifactId>metrics-core</artifactId>
        <version>x.y.z</version>
    </dependency>
</dependencies>

在接下来我们将指导您如何使用 codahale.metrics 库来定义和收集监控数据,展示和分析指标,并根据数据设置报警规则等。codahale.metrics 提供了丰富的功能和灵活的API,可以轻松地与您的Java服务集成,帮助您监控和优化服务的性能、可靠性和稳定性。

Metrics中的基础数据类型

在谈论监控数据的产生时,我们首先需要了解监控库中最常用的三种数据类型,它们分别是:计数器(Counter)、量规(Gauge)和直方图(Histogram)。几乎所有的 Java 监控库都包含了这三种数据类型的实现。

计数器(Counter)

计数器用于记录一个累加值,它表示一个增加或减少的计数。可以通过 inc() 方法增加计数器的值,也可以通过 dec() 方法减少计数器的值。计数器可以用于统计请求次数、错误次数等离散的事件计数。

列举的三种需求场景,可以使用 com.codahale.metrics(或其他类似的监控库)中的不同数据类型来实现。

统计 API 访问中异常(1000/1500)的次数

使用计数器(Counter)来实现。在每次 API 请求中,当发生异常(如 400 或 500 错误)时,通过 inc() 方法将计数器值增加1。

Counter apiErrorCounter = metricRegistry.counter("api.error.counter");
// 在 API 请求处理中,当发生异常时,调用以下代码
apiErrorCounter.inc();

统计 API 的调用量

使用计数器(Counter)来实现。在每次 API 请求时,通过 inc() 方法增加计数器的值。

Counter apiCallCounter = metricRegistry.counter("api.call.counter");
// 在每个 API 请求处理中,调用以下代码
apiCallCounter.inc();

统计特定事件发生的次数

使用计数器(Counter)来记录特定事件发生的次数。在事件发生时,通过 inc() 方法将计数器值增加1。

Counter eventCounter = metricRegistry.counter("event.counter");
// 在特定事件发生时,调用以下代码
eventCounter.inc();

以上示例展示了如何使用计数器来统计异常次数、API 调用量和特定事件发生的次数。可以根据具体需求给计数器命名并使用相应的记录代码。通过监控库提供的方法,可以简单快速地进行数据统计和监控,从而更好地了解和管理应用程序的行为。

Counter的底层原理

Counter 的底层实现主要通过(基础 (Base) 计数器)和(单元 (Cell) 数组)来保证自增的原子性和性能。

com.codahale.metrics.Counter 的源码中,每个 Counter 对象由两部分组成,这是一种称为 "Striped64" 的机制,它是针对高并发情况下的性能优化。

基础 (Base) 计数器

Base 计数器是一个 volatile long 类型的字段,用于存储计数器的初始值及其当前值。它用于低并发情况下对计数进行快速的自增和获取操作。

单元 (Cell) 数组

Cellvolatile long 类型的数组,每个单元内部维护一个计数器的增量值。为了处理高并发情况下的并发访问,Cell 数组采用了分段锁(CAS 操作)的方式,将计数器的自增操作分散到多个单元上。每个线程独占一个单元,当多个线程访问不同的单元时,它们之间不会发生竞争,可以保证并发访问时的性能。

简单的源码案例

通过这些策略和机制的组合,Counter 在具有竞争的情况下保持了较高的性能,同时也考虑了内存消耗的控制,使得其在高并发场景下能够有效地进行计数操作。

public class Counter {
	transient volatile int busy;
	transient volatile long base;
	transient volatile Cell[] cells;
	public void inc(long n) {
		long b;
		if(cells == null || !casBase(b=base, b+n)) {
			//使用cells进行计算
		}
	}
	public long sum() {
		long sum = base;
		Cell[] as = cells;
		if (as != null) {
			int n = as.length;
		for (int i = 0; i < n; ++i) {
			Cell a = as[i];
			if (a != null)
				sum += a.value;
		}
	}	
		return sum;
	}
}

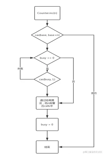
基本的执行流程图: 在这里插入图片描述

Counter分析总结

Counter 的底层实现使用了基础(Base)和单元(Cell)来存储计数值。在高并发情况下,线程会针对不同的 Cell 进行自增操作,从而避免了竞争,减少了资源争用。而在低并发情况下,通过直接对 Base 进行自增操作,避免了锁的开销,提高了性能,也保证了 Counter 的高性能和并发性能。 在这里插入图片描述 这种基于 BaseCell 的实现方式能够平衡高并发和低并发情况下的性能需求,确保了 Counter 的自增操作的原子性和并发性能。

从CPU和内存角度去分析资源开销

对于有竞争的情况,Counter 使用自旋锁来进行同步,这意味着线程会在一个忙等待的循环中等待竞争解决。这种自旋锁的方式避免了线程上下文切换的开销,并且消耗的 CPU 时间较少,从而提高了性能。

为了避免过多使用内存,当单元数组的数量超过 CPU 核心数时,Counter 将不再扩展单元数组的大小,而是保持不变。这样可以避免过多的内存消耗,并具有更好的性能。