人大金仓KFS管控台向导模式双轨并行链路的搭建

78 阅读2分钟

关键字:

管控台,向导模式,双轨并行

概述

管控台是图形化的管理平台,方便用户使用KFS同步工具,管控台具有7个基础功能模块,分别是实时监控、部署管理、数据搬迁、数据比对、数据修复、系统管理、告警管理,用户可以通过图形化界面轻易完成这些操作,简单清晰,易于使用,本文将简要介绍部署管理模块通过向导模式搭建双轨并行链路。

向导模式介绍

向导模式是一个简化部署流程,填写少量的配置参数,低成本的快速安装同步服务的模块,达到简化配置,快速安装的目的。向导模式包含5种同步服务模式(1-1模式,1-N模式,N-1模式,双轨模式,双向模式(暂未开放))

双轨并行链路搭建

登录管控台后,进入部署管理模块下的向导模式,在该页面用户可以看到目前向导模式所支持的几种链路模式,本文使用Oracle和KES V8作为数据源。

image.png

选择双轨并行模式,填写Oracle端同步程序所在机器信息

image.png

填写Oracle端数据源信息

image.png

Oracle端评估

image.png

Oracle端高级参数配置

image.png

image.png

image.png

KES端同步程序所在机器信息

image.png

填写KES端数据源信息

KES端评估

image.png

image.png

KES端高级参数配置

image.png

image.png 链路同步范围选择

image.png

链路同步映射配置

image.png

拓扑确认

image.png

image.png

确认相关信息正确后点进立即安装,安装成功后相关环境如下

  1. 监控主页

image.png

  1. 节点管理

image.png

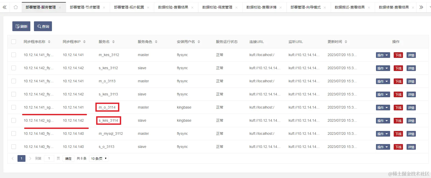
  1. 服务管理

image.png

  1. 拓扑配置

image.png

image.png

  1. 阶段切换

右键点击拓扑图中双轨链路的任意节点,会有切换阶段的选项,点击后,将会进行链路源端目标端的切换

image.png

image.png

image.png

image.png