纸、纸板和纸制品 有效回收组分的测定

222 阅读7分钟

声明

本文是学习GB-T 42944-2023 纸、纸板和纸制品 有效回收组分的测定. 而整理的学习笔记,分享出来希望更多人受益,如果存在侵权请及时联系我们

1 范围

本文件描述了纸、纸板和纸制品中有效回收组分的测定方法。

本文件适用于各种纸、纸板和纸制品,也适用于铝箔纸、淋膜纸等纸基复合材料。

2 规范性引用文件

下列文件中的内容通过文中的规范性引用而构成本文件必不可少的条款。其中,注日期的引用文
件,仅该日期对应的版本适用于本文件;不注日期的引用文件,其最新版本(包括所有的修改单)适用于

本文件。

GB/T 450 纸和纸板 试样的采取及试样纵横向、正反面的测定

GB/T 5399 纸浆 浆料浓度的测定

GB/T 21557—2008 废纸中胶粘物的测定

GB/T 22877 纸、纸板和纸浆 灼烧残余物(灰分)的测定(525 ℃)

3 术语和定义

下列术语和定义适用于本文件。

3.1

碎解 disintegration behavior

试样解离、分散成纤维悬浮液的过程。

3.2

粗渣 coarse reject

试样在实验室规定条件下,经碎解和粗筛处理后无法通过10 mm 孔筛的筛渣。

3.3

片状物 flake

试样在实验室规定条件下,经碎解、粗筛和细筛处理后能通过10 mm
孔筛但无法通过0.7 mm 孔

筛的筛渣。

3.4

有效回收组分 effective-recyclable components

试样在实验室规定条件下,经碎解和粗筛处理后得到的、可进行回收并用于制浆造纸的组分。

4 仪器设备

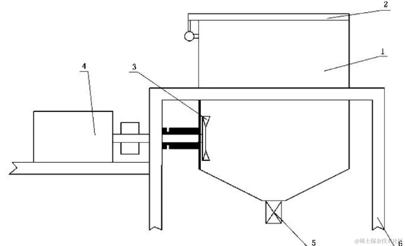
4.1 低浓水力碎浆机

实验室用低浓水力碎浆机,容积为20 L, 转速为0 r/min~3000
r/min,转速可调,结构如图1

GB/T 42944—2023

所示。

标引序号说明:

1—-桶身;

2——桶盖;

3— 转 子 ;

4—— 电机;

5——排放阀;

支架。

1 低浓水力碎浆机结构示意图

4.2 粗筛设备

试验用粗筛设备为配有筛孔直径为10 mm 筛板的筛浆机,容积不小于12 L,
具有振动或搅拌功

能。对于振动式筛浆机,振动膜振动频率为(700±10)次/min;
对于搅拌式筛浆机,搅拌叶片边缘与筛

板上表面的距离为10 mm~20 mm,叶片转速为200 r/min。

4.3 胶粘物筛分仪

实验室胶粘物筛分仪,筛板的平均缝宽应为(0.100±0.005)mm,
且每个缝宽与平均缝宽之差应不

大于0.015 mm。

4.4 细筛设备

试验用细筛设备为配有筛孔直径为0.7 mm 孔筛筛板和筛缝为0.10 mm
缝筛筛板的振动式筛浆

机。振动膜振动频率为(700±10)次/min, 振幅为(3.2+0.1)mm.
水流速度为(8.6±0.2)L/min.

4.5 其他仪器设备

其他仪器设备分别详述于相应的方法标准中。

GB/T 42944—2023

5 试样处理

不应用手触摸试样,处理试样时应戴干净的无粉防护手套。

称取约480 g(记为m₀) 的绝干样品,将其切成约100 mm×100
mm大小的试样,置于桶中。在室

温下,加入40℃水至浆浓为4%,浸泡10 min。 若样品为纸和纸板,应按 GB/T450
描述的方法取样。
若试样为包装用纸制品(纸箱、纸杯、纸盒等),尽量确保试样中包含整数个样品的所有组成部分,当单个

样品绝干质量大于480 g
时,应确保所取样品具有代表性,并包含样品的所有组成部分。

6 试验步骤

6.1 试样的碎解

将试样倒入低浓水力碎浆机(4.1)中,碎解5 min。
碎解完成后,将浆料全部排出至桶中。

6.2 粗筛

粗筛的目的是将粗渣分离出来。粗筛前,粗筛设备(4.2)下放置容量至少为30 L
的容器。将碎解
后的试样加入粗筛设备中,启动设备并开始振动或搅拌,打开出口阀开始进行筛选。浆料排尽后,加入
12L 水继续筛选。粗筛过程中有些纤维会附着在筛板或设备的表面,用2 L~5L
水冲洗筛渣或设备

内壁。

将筛板上的筛渣转移到能够加热和称重的容器中,然后在105℃条件下干燥至恒重并称重(记

为 m。)。

6.3 浆料均质

粗筛后的浆料经搅拌均质化处理使浆料成分均匀。均质处理后得到绝干含量至少为70
g 的浆
料,以保证有充足的试样用于所有的试验。然后,将浆料稀释至浓度约为1%,轻轻搅拌至少2
min,按

GB/T 5399描述的方法测定其浓度。

6.4 灰分含量的测定

取均质后的浆料,按GB/T 22877 描述的方法进行测定。

6.5 胶粘物面积的测定

取均质后的浆料,用胶粘物筛分仪(4.3)进行筛选,按GB/T 21557—2008
中图像分析法进行测定。

6.6 片状物含量的测定

浆料均质后取绝干量约为2 g (记为 m₂) 的浆料,用筛孔直径为0.7 mm
的细筛设备(4.4)进行筛

选,筛选时间为5 min。 收集筛板上残渣并进行烘干、称重(记为m₁),
重复测定5次。

6.7 0.10 mm 细筛筛渣率的测定

均质后的浆料取样,用筛缝为0.10 mm
的细筛设备(4.4)进行筛选,收集筛渣并进行烘干、称重(记

为m,), 重复测定5次。

GB/T 42944—2023

7 结果计算

7.1 粗渣率

按公式(1)计算试样的粗渣率,结果保留两位小数。

…………………… (1)

式中:

R。——粗渣率,%;

m。 ——10mm 孔筛粗筛后筛渣的绝干质量,单位为克(g);

mo—— 碎解前试样的绝干质量,单位为克(g)。

7.2 有效回收组分含量

按公式(2)计算试样的有效回收组分含量,结果保留两位小数。

(2)

式中:

E—— 有效回收组分含量,%。

7.3 灰分含量

按公式(3)计算试样的灰分含量,用两次测定的算术平均值表示结果,结果保留两位小数。

(3)

式中:

X — 灰分含量,%;

m、 — 灼烧后盛有残余物的坩埚质量,单位为克(g);

m 。—— 灼烧后的空坩埚质量,单位为克(g);

mi — 试样的绝干质量,单位为克(g)。

7.4 纤维得率

按公式(4)计算试样的纤维得率,结果保留两位小数。

Y=(1-X)XE …………………… ( 4)

式中:

Y— 纤维得率,%。

7.5 胶粘物面积

按 GB/T 21557—2008 中第6章计算胶粘物面积。

7.6 片状物含量

按公式(5)计算试样的片状物含量,用5次测定的算术平均值表示结果,结果保留两位小数。

( 5)

GB/T 42944—2023

式中:

F — 片状物含量,%;

mi 0.7mm 孔筛细筛后筛渣的绝干质量,单位为克(g);

m₂— 0.7mm 孔筛细筛前试样的绝干质量,单位为克(g)。

7.7 0.10 mm 细筛筛渣率

按公式(6)计算试样的0.10 mm
细筛筛渣率,用5次测定的算术平均值表示结果,结果保留两位

小数。

式中:

R 、——0. 10mm

m、 —0.10mm

m₃——0.10mm

……………………

(6)

细筛筛渣率,%;

缝筛细筛后筛渣的绝干质量,单位为克(g);

缝筛细筛前试样的绝干质量,单位为克(g)。

8 试验报告

试验报告应包含以下内容:

a) 本文件编号;

b) 试验日期和地点;

c) 完整识别样品所需的全部信息:

d) 粗渣率;

e) 有效回收组分含量;

f) 灰分含量;

g) 纤维得率;

h) 胶粘物面积;

i) 片状物含量;

j) 0.10 mm 细筛筛渣率;

k) 任何与本文件的偏离或可能影响试验结果的操作。

延伸阅读

更多内容 可以 GB-T 42944-2023 纸、纸板和纸制品 有效回收组分的测定. 进一步学习

联系我们

GB-T 31496-2015 信息技术 安全技术 信息安全管理体系实施指南.pdf