电子商务交易产品质量监测实施指南

57 阅读27分钟

声明

本文是学习GB-T 42893-2023 电子商务交易产品质量监测实施指南. 而整理的学习笔记,分享出来希望更多人受益,如果存在侵权请及时联系我们

1 范围

本文件提供了开展电子商务交易的有形产品质量监测的总则,监测准备、监测实施、监测效果评价

与反馈等过程指导。

本文件适用于有关监管部门、第三方监测机构开展电子商务交易有形产品质量监测活动,也适用于

各类电子商务平台经营者对平台内经营者销售有形产品质量监测活动。

本文件不适用于电子商务交易无形产品质量监测活动。

2 规范性引用文件

下列文件中的内容通过文中的规范性引用而构成本文件必不可少的条款。其中,注日期的引用文
件,仅该日期对应的版本适用于本文件;不注日期的引用文件,其最新版本(包括所有的修改单)适用于

本文件。

GB/T 22239 信息安全技术 网络安全等级保护基本要求

GB/T 22240 信息安全技术 网络安全等级保护定级指南

GB/T 25058 信息安全技术 网络安全等级保护实施指南

GB/T 27921—2011 风险管理 风险评估技术

GB/T 31167—2014 信息安全技术 云计算服务安全指南

GB/T 35273—2020 信息安全技术 个人信息安全规范

GB/T 35408—2017 电子商务质量管理 术语

GB/T 37538—2019 电子商务交易产品质量网上监测规范

3 术语和定义

GB/T 35408—2017 和 GB/T 37538—2019
界定的以及下列术语和定义适用于本文件。

3.1

电子商务平台经营者 E-commerce platform operator

在电子商务中为交易双方或者多方提供网络经营场所、交易撮合、信息发布等服务,供交易双方或

者多方独立开展交易活动的法人或者非法人组织。

[来源:《中华人民共和国电子商务法》,第九条]

3.2

信息 information

关于客体(如事实、事件、事物、过程或思想,包括概念)的知识,在一定的场合中具有特定的意义。

[来源:GB/T 5271.1—2000,01.01.01]

3.3

监测过程风险 monitoring process risk

监测实施过程中可能存在的风险。

GB/T 42893—2023

注: 监测过程风险包括但不限于软硬件系统风险、信息安全风险、人员风险、信息收集风险、采样过程风险、样品管

理风险、样品检验风险、效果评价风险等。

3.4

质量监测 quality monitoring

为掌握电子商务交易产品质量水平和分析产品质量风险而进行信息监测、抽检监测等一系列活动

过程。

3.5

organization

为实现目标,由职责、权限和相互关系构成自身功能的一个人或一组人。

注:开展电子商务交易产品质量监测活动的组织包括但不限于监管部门、第三方监测机构、电子商务平台等。质量
监测实施过程中,监测方、监测实施方由相同或不同的组织构成,各类组织根据自身需求开展不同形式的电子

商务交易产品质量监测。

4 总则

4.1 基本原则

电子商务交易产品质量监测实施过程遵循科学、公正、合规、可控、经济等原则。

4.2 质量监测框架

开展电子商务交易产品质量监测宜整合网上监测资源,利用现代信息技术和计算机网络(包括互联
网、移动网络),对电子商务交易的有形产品及交易过程中产生的信息,开展电子商务平台自我监测、第

三方监测以及有关监管部门的监测等活动。

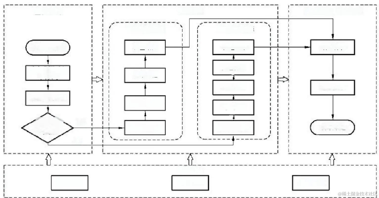
电子商务交易产品质量监测通常包括监测准备、监测实施和监测效果评价与反馈3个方面。其中
监测实施根据抽检的必要性,又分为信息监测实施和抽检监测实施。3个方面贯穿着输入、过程和输出
3个环节,上一个环节的输出即为下一个环节的输入,效果评价与反馈内容的输出将成为下一次质量监
测准备的输入。资源配置、信息管理和风险防控保障整个质量监测活动的顺利实施。通用质量监测框

架见图1。

1 通用质量监测框架

GB/T 42893—2023

4.3 资源配置

4.3.1 风险信息采集和分析宜配置以下资源:

——计算机设备、网络通信设备等硬件;

——信息采集系统、数据分析系统、信息安全保护系统等软件;

——信息采集渠道的权限或接口;

——数据采集分析等方面人员。

4.3.2 信息监测宜配置以下资源:

—计算机设备、网络通信设备、服务器等硬件;

—信息采集系统、数据分析系统、信息监测模型、基准数据、信息安全保护系统、信息监控系统等

软件;

— 信息采集渠道的权限或接口;

——数据采集分析人员、模型构建维护人员、信息监测实施人员等。

4.3.3 抽检监测宜配置以下资源:

——计算机设备、网络通信设备、影音记录设备等硬件;

——报告管理系统、物流查询系统、数据分析系统等软件;


采样对象产品清单和链接、采样经费、采样账号、样品收货信息、样品存放场所等采样资源;

场地设施、仪器设备、实施环境等检验资源;


过程信息管理人员、采样人员、样品管理人员、检验技术人员、后勤保障人员等。

4.4 信息管理

4.4.1 基本原则

信息管理遵循职责明确、安全合规、质量保障、责任不随信息转移、最小授权、确保安全的原则。

4.4.2 管理内容

信息管理内容宜包括:

——需要采集的质量信息:如有关监管部门发布或掌握的质量风险信息、消费者反馈的质量信息、
电子商务平台经营者掌握的质量信息、第三方监测机构发布或掌握的质量信息、其他组织发布

或掌握的质量信息、媒体网络质量信息以及其他质量信息等;


信息清洗后产生的无效信息:重复信息、不相关信息、逻辑错误的信息以及虚假信息等;


质量核心要素信息:如质量风险评估准则、质量风险列表、风险分析结果文件、质量风险评估技

术文件、质量风险点评价报告等;

质量监测过程产生的信息:如质量监测计划、质量监测实施方案、批准信息、采样过程中记录的
信息、各类表单、监测结果数据、评价方案、效果评价报告、信息监测过程中产生的数据、基准数

据等;

--分析评价模型:如信息采集模型、风险分析模型、信息监测分析模型、监测结果评价模型等;

——开放接口的数据库。

4.4.3 管理制度

信息管理制度宜包括网络安全管理制度、信息安全保密制度、信息安全监测预警制度、应急处置制

度、数据库管理制度等。

建议规定信息安全保密职责和权限控制,区分受控资源和非受控资源,宜对受控资源(包括功能和

GB/T 42893—2023

数据)限制用户未经授权的访问。信息安全管理通常采用分类分级管理原则,可按照
GB/T 22239、 GB/T 22240和 GB/T
25058对系统实施和评估信息安全保护等级,最重要的是确保监测过程中所使用

软硬件系统达到安全保护等级。

有关监管部门在履行相应职责过程中生产、采集、加工、使用和管理的数据可按照GB/T
31167—2014
中6.3的规定,可将非涉密数据分为公开、敏感数据。个人信息和个人敏感信息可按照GB/T
35273—2020

中的附录A 和附录 B 执行。保证涉密信息的处理、保存、传输、利用的安全性。

4.4.4 管理流程

信息管理贯穿整个监测实施过程,附录 A
提供了一种监测过程质量信息管理流程的示例。

4.5 风险防控

监测实施过程中的风险通常有信息安全风险、人员风险、信息收集分析风险、采样过程风险、样品管

理风险、检验风险和监测效果评价风险等。附录B
提供了监测过程风险防控表的示例。

5 监测准备

5.1 概述

监测准备宜通过风险信息的采集、处理和分析,确认质量风险点,确定监测目标和范围,最终形成监
测计划。监测准备的过程可包括确认质量风险点、确定监测对象和形式、明确监测依据、输出监测计划。

监测准备各环节的工作输出直接影响到监测实施的方向和效果。

5.2 监测准备过程

5.2.1 确认质量风险点

5.2.1.1 风险信息采集

风险信息采集是指为获取风险信息而开展的信息搜索和获取的过程。在风险信息采集之前需要明
确采集的范围、来源、采集准则要求等。根据要求可建立采集模型,并对采集模型进行管理,对模型的输
出可进行评价,并持续改进。以评估监测总体质量水平为目的的监测任务,所采集的风险信息宜聚焦监
测对象,采集范围、来源尽可能覆盖所有领域,必要时可将上一次的监测结果作为采集对象。以问题导

向为目的的监测任务,宜聚焦问题点,围绕问题发生的产品、平台或经营者深挖信息。

风险信息的获取途径通常包括:

——互联网:可通过网络技术获取网络信息;

——组织内部系统:组织内部的系统在运行过程中采集和产生的业务数据,以及各种系统、程序和

服务运行产生的运算和日志数据等;

—组织外部:可通过线上或线下等方式从组织外获取信息,也可通过与第三方数据库对接获取

信息。

风险信息采集的方法通常包括:

——调查采集法:包括有针对性地通过问卷、访谈等方式向掌握某类电子商务交易产品质量信息的

个人或组织获取信息;

——工具采集法:包括对于互联网上的产品质量信息,可利用搜索引擎人工搜索和采集信息,或者

利用自动采集工具软件,自动搜索和采集相关信息;

—定向采集法:包括某一渠道的信息对本组织非常重要时,可通过与该渠道的相关机构建立合作

机制,以定向获取信息;

GB/T 42893—2023


验证采集法:往往对于某类不确定的风险信息需要利用技术手段进行验证和确认时,可由相关

检测机构或实验室按照相关标准要求检测或模拟伤害发生环境进行验证试验。

5.2.1.2 风险信息处理

在风险信息分析前需要对信息进行处理,可形成一维表、格式正确、数据精简的原始数据集。风险

信息处理方式通常包括以下两种。

——信息清洗:指在风险信息分析前宜对所采集的质量信息进行清洗,让信息规范化。质量信息清
洗宜先对信息进行探索性分析,初步确定质量信息特征及相互关系。对缺失值和异常数据可
进行处理,剔除重复信息、不相关的信息、逻辑错误的信息以及虚假信息等。对于多种来源的

信息,还可进行关联性验证。


核心要素提取:指对相关质量信息可进行信息识别与分析处理,提取出质量核心要素。可选用
适宜的质量工具,对经过清洗规范化的质量信息进行多层次的演绎分析,宜利用量化评估方法

识别关键信息,并逐层地转化为质量核心要素。

5.2.1.3 风险信息分析

风险信息分析宜通过数据分析和数据可视化等技术对处理后的风险信息进行深入分析和挖掘,把
握信息的内在特征和规律。可采用统计分析、数据挖掘算法等方法对风险信息进行系统分析,分析时宜

包括涉及影响的广泛度、时间跨度、比率等多维度分析。

分析时,宜采用批量数据处理系统,可借助深度学习、知识计算或可视化等大数据分析技术,通过对
数据的批量处理挖掘其中的价值来支持决策和发现新规律。常用的数据分析工具可包括漏斗观察、分

层分析模型等。

根据分析要求和目标,搭建适宜的分析模型,并开展准确性验证。持续使用的分析模型,宜建立版

本管理的程序,通过输入输出情况持续改进升级。

5.2.1.4 质量风险点评估

通过质量风险评估准则,基于处理分析后的风险信息,可进行风险点评估。风险点评估宜包含已知
风险及潜在风险。已知风险,宜记录包含具体风险点、可统计的数据,可将该风险分为系统性风险和个

体性风险。潜在风险,宜分析并记录风险的可能来源。

在评估前,可先确定质量风险评估准则,并且选择适宜、有效的质量风险评估技术。风险评估技术

可按照GB/T27921—2011 的附录B。
如有具体产品类型或风险类型的风险评估技术标准也可参考。

根据质量风险点的评估结果形成风险点评价报告。宜将重点关注的风险列入监测实施范围,对于

一般关注和暂不关注的风险可根据产品质量特性及实际情况进一步确认。

通过质量风险点评估,识别目标如何受各类不确定性因素的影响,建议从后果和可能性两个方面来

进行风险点分析,以确定是否需要进一步的应对。

质量风险点评估工作尝试解决以下问题:

——为什么会发生;

——可能会发生什么;

— 后果是什么;

— 发生的可能性有多少;

——是否存在一些可以减轻风险后果或者降低风险可能性的因素;

——风险等级是否可容许或可接受;

是否要求进 一 步的应对。

质量风险点评估的主要作用如下:

GB/T 42893—2023

——认识风险点及其对目标的潜在影响;

— 为决策者提供相关信息;

—增进对风险点的理解,以利于风险应对策略的正确选择;

—识别那些导致风险的主要因素,以及系统和组织的薄弱环节;

沟通风险和不确定性;

— 有助于建立优先顺序;

——帮助确定风险是否可接受;

有助于通过事后调查来进行事故预防;

— 选择风险点应对的不同方式;

——满足监管要求。

5.2.2 确定监测对象和形式

监测方宜根据风险点和任务要求确定监测对象和形式。本指南中的监测对象为电子商务交易的有
形产品,监测实施前宜明确被监测产品和该产品交易相关组织的特征、数量、范围等要求。宜通过对质
量风险进行分级管理来选择适宜的监测实施形式。以评估监测总体质量水平为目的的监测任务,监测
对象的确定宜遵循代表性、随机性、公正性原则,监测对象范围的选取尽可能反映总体,降低错判概率。
以问题导向为目的的监测任务,监测对象的确定宜遵循发现问题、扩大覆盖面为原则,监测对象范围的

选取尽可能围绕问题展开,降低漏判概率。

5.2.3 明确监测依据

在明确监测依据前,可根据风险点对监测依据进行适当调整。现有依据能满足总体要求的,不再制
定新依据;现有依据不能满足要求的,在现有法律法规、部门规章、强制性标准的基础上,宜修订或制定

补充依据并对依据的合理性开展评估。

5.2.4 监测计划

监测计划宜包含监测周期、职责分工、进度安排、经费预算、监测实施形式、监测数据分析方法、监测
报告及信息发布形式等内容。可根据需要确定监测实施形式,采用抽检监测实施形式时监测计划还可

以包含抽样计划、收货中转地址、检验机构等内容。监测计划实施前宜获得批准。

6 监测实施

6.1 概述

监测实施宜分为信息监测实施和抽检监测实施两种形式。信息监测实施基于大数据分析,可构建
模型,对质量信息进行核查、研判。抽检监测实施基于实物抽样检验输出的检验报告,可对产品质量水

平进行符合性评价、确定风险等级等。

对于有明确质量基准,可以通过对产品信息大数据分析识别产品质量风险状况的,宜采用信息监测

实施方式,如:


建立产品质量评价基准数据,可通过对用户评价信息、投诉信息进行监测分析,核查产品质量;


建立产品质量参数数据集,可通过对详情页面质量参数信息监测,核查虚假宣称信息的产品;


以对接的强制性认证数据库作为基准数据,可核查未按规定进行强制性认证的产品;

— 以公开的抽查不合格数据作为基准数据,可核查同批次不合格产品。

当信息监测无法达到监测目的,或需要通过对实物进行抽检了解产品质量风险状况时,可采用抽检

监测实施方式。

GB/T 42893—2023

监测实施的过程通常包括监测方案制定、监测方案实施,输出监测结果。信息监测实施的重点在于
对信息的核查,最终输出核查结果。抽检监测实施宜根据监测准备阶段形成的监测计划制定监测实施
方案,方案宜涵盖组建监测团队、明确职责分工、提出技术要求、制定阶段性目标等具体流程。所制定的
监测实施方案宜在实施前进行审查。依据审查通过后的监测实施方案,可开展采样管理、样品跟踪管

理、检验过程管理,最终获得抽检监测结果。

6.2 信息监测实施

6.2.1 监测方案制定

信息监测方案通常涵盖但不限于以下内容。

—监测周期:通常分为在线监测和特定周期监测。在线监测指实时对网上产品的质量信息可进
行连续自动抓取、筛选、分析和评估的过程。特定周期监测指项目发起单位根据监测需求在特

定周期内实施信息核查监测。

——监测对象。

——监测范围:可根据风险点的来源确定监测范围,风险点的来源可包括消费者投诉、政府公示、数

据模型、社会热点等。

——监测依据:通常依据项目实施单位的需求、产品特征、行为特征等建立。

——核查模型策略:宜基于监测依据搭建模型策略,核查模型策略通常可包含识别、测试、处置、优

化等流程,从而筛查出不符合依据的信息,并通过沉淀数据不断优化模型。

6.2.2 监测方案实施

根据监测方案,对监测信息进行采集,采集方式可包括工具采集法和定向采集法。对授权的第三方
数据库或组织内部数据,可采用定向采集法。对于组织外的互联网数据,可采用工具采集法。采集后的

信息宜进行清洗和核心要素提取,以获得核心质量信息。

监测方案实施前宜开展信息核查,可使用大数据分析模型、监测依据、基准数据库等,剔除不符合监

测依据的产品。

信息监测实施时宜建立大数据分析模型,可基于人工智能、机器学习、模式学习、统计学等方法和手
段,通过对大数据高度自动化地分析,做出归纳性的推理,进而对监测对象做出评价、判断、推论、预测、

预警等。

6.2.3 监测结果

信息监测结果是信息监测实施输出的结果,结果的表达形式可以是分析报告,也可以是信息数据文

档。必要时可使用信息监测评价模型,对监测结果进行自动化评价、处置。

6.3 抽检监测实施

6.3.1 监测方案制定

6.3.1.1 实施人员

抽检监测实施前监测实施方宜及时明确实施人员的角色与职责,人员宜经过必要的培训,熟悉项目
的要求。通常监测实施方宜确定项目负责人,项目负责人宜具备风险信息采集、风险研判、风险预警、风

险处置的能力,可研究分析产品风险趋势和规律。

以社会监督为目的的监测项目,监测实施方宜按照采购要求,确定监测实施人员。根据"抽检分离"

的原则,实施人员通常宜由抽样机构和检验机构的相关人员组成。特殊情况下,实施人员也可全部来自

GB/T 42893—2023

检验机构。以风险排查或内部监控为目的监测项目,监测实施方宜根据监测方的规定和原则确定实施

人员。

6.3.1.2 技术要求

监测实施方宜根据监测计划明确项目实施的技术要求,技术要求宜包含采样方案、检验项目、检验

依据、检验周期、检验仪器。必要时还可明确判定原则、复检规则、异议受理流程等。

检验依据宜选取现行有效的国际标准、国家标准、行业标准、地方标准、团体标准、抽查评价规则、抽
查实施细则等。当使用非标准方法或实验室自研方法时,宜确认适用性、合理性和合法性,同时考虑是

否遵循相关政策和程序。

6.3.1.3 进度计划

监测实施方宜根据监测方的要求制定进度计划。制定各阶段工作的时间、工作要求以及数据报送

等要求。

6.3.1.4 处置方案

评估抽检监测实施过程中潜在的异常情况,宜形成相应的异常情况处置方案,可包括但不限于:

—— 因物流等原因导致的采样无法进行的;

— 所采样品不符合监测方案要求的;

— 因样品失效或非正常损坏致使检验无法进行的;

—— 因检验设备故障导致检验无法按时完成的;

——监测实施过程中发生的其他影响监测实施方按时完成项目的特殊情况。

6.3.1.5 监测方案编制

监测方案宜包含但不限于以下内容:

— 监测目标;

——监测范围;

— 采样方案;

——检验项目和检验依据;

——职责分工;

——进度安排;

— 经费预算。

6.3.2 监测方案实施

6.3.2.1 网上采样

网上采样宜遵循采样管理制度,减少因采样不规范而造成的样品错采、漏采或重复采,信息错填、漏

填等情况。网上采样通常包括采样前准备、采样实施、信息反馈等活动。

——采样前准备:采样人员在监测项目实施前宜经过必要的培训,并确保与被监测方不存在利害关

系和工作的保密性。宜对采样账号、收件信息等采取保密措施,必要时可启用物流中转站。

——采样实施:采样人员按照监测方案实施网上采样。宜对采样过程的下单记录、付款记录、备用

样品、物流记录等网页信息进行存证。

——信息反馈:采样人员宜在采样实施过程中做好采样信息清单,并及时反馈给样品管理人员,用

于样品信息核对。清单宜包括产品名称、产品链接网址、购买时间、样品数量、销售价格、物流

GB/T 42893—2023

单号、收件信息等。

6.3.2.2 样品管理

6.3.2.2.1
样品管理宜包括样品跟踪、样品接收、样品确认、样品送检、样品的后处置等环节。样品管理
团队宜建立样品管理制度。样品管理人员宜根据样品管理制度规范样品跟踪、接收、确认、送检等过程
管理,发现样品异常情况及时处置。

6.3.2.2.2
样品跟踪:样品管理人员宜根据信息管理制度记录样品跟踪过程信息,及时跟踪样品物流

动态。

6.3.2.2.3
样品接收:样品管理人员宜根据信息管理制度记录样品接收过程信息,收到包裹后可根据采
样信息清单对包裹进行核查确认,宜对样品拆包前状态、拆包过程和拆包后状态等以视频或照片等形式
进行存证。存证内容宜包括样品完整的包装外观、样品整体信息、样品吊牌、洗唛、铭牌等信息和样品合
格证信息等。

6.3.2.2.4
样品确认:样品管理人员宜根据信息管理制度记录样品确认过程信息,样品确认是向样品电
子商务平台经营者或样品生产者确认样品真实性的过程。样品管理人员可根据样品管理制度完成样品
确认工作。样品确认宜采用线上确认方式完成,亦可采用函件确认方式。

6.3.2.2.5
样品送检:样品管理人员宜根据信息管理制度记录样品送检过程信息,经接收核查、确认的
样品,可分为检验样品及备用样品,宜及时将检验样品送到检验机构进行检验。样品管理人员宜采取有
效措施确保样品传输中的不被损坏、污染或退化等,特别是对于易碎品、危险化学品、有特殊贮存条件等
要求的样品;检验机构接收样品时宜进行检验样品检验符合性确认。备用样品可选择适合的场地进行
存放,做好登记方便查找。

6.3.2.2.6
样品的后处置:监测完成后样品管理人员宜根据监测方案对检验样品及备用样品开展后处
置工作。处置样品时,宜对样品状态、处置过程和处置结果等以视频或照片形式进行存证。

6.3.2.3 检验过程管理

样品进入检验环节后,宜对样品的接收、标识、保管、存放、发放、返库、保留、清理等各个环节施以有

效的控制。检验过程中宜规范检验行为,保证检验结果的准确性、可靠性和公正性。

检验前宜对样品的包装、外观、样品功能状态和抽样信息等进行真实性、符合性核查,记录异常情况

或对检验方法中所述正常(或规定)条件的偏离情况。开展检验活动前宜确认以下信息:

——检测能力维持情况;

——检测方法一致性或者方法比较;

——人员的检测技能;

— 设备运行情况;

——环境条件有效性;

— 标准物质有效性。

检验过程中宜按规定的检验规范、方法和程序进行检验,遵守仪器设备操作规程正确地操作。当遇
有样品失效、仪器设备故障或其他情况致使检验无法进行时,宜如实做好即时情况记录并拍照,提供充
分的证实材料,并对失效样品进行妥善保管和处置。当出现临界检验结果时,宜采用质量控制措施和不

确定度评定为判定提供技术依据。

6.3.3 监测结果

6.3.3.1 检验报告

检验机构宜按照约定要求出具符合实验室规范的报告,以确保数据和结果的准确、清晰、明确、客

GB/T 42893—2023

观。检验结果对外公布的,公布前宜与样品的利益相关方进行检验结果确认。

6.3.3.2 结果汇总和上报

根据监测方要求,监测实施方可在监测方案规定时间节点内,对检验结果和数据进行分类汇总,上

报最终监测结果。如果有特殊情况不能按时上报的,宜提前向监测方请示。

6.3.3.3 分析报告

根据监测方要求,监测实施方可对监测产品质量情况进行客观分析,编制质量分析总结报告。

延伸阅读

更多内容 可以 GB-T 42893-2023 电子商务交易产品质量监测实施指南. 进一步学习

联系我们

AQ 4128-2019 烟花爆竹零售店(点)安全技术规范.pdf