web流量监控

239 阅读1分钟

场景:想要知道网站每天有多少访问量,哪些页面访问的最多。
工具:百度统计

image.png

方法:

首先,往自己的网站安装百度统计,也就是插入一段代码。

image.png

其次,检测有没有安装好

image.png

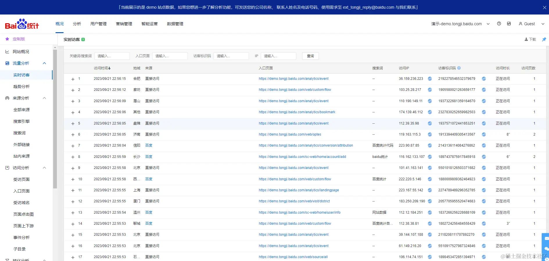
安装好后就可以查看网站的实时访问情况了

image.png