LVS负载均衡群集

66 阅读11分钟

一.群集

1.什么是群集?

  • 由多台主机构成,但对外只表现为一一个整体,只提供一-个访问入口(域名或IP地址), 相当于一台大型计算机。

2.群集的目的

  • 提高性能:计算密集应用。如天气预报,核试验模拟。
  • 降低成本:相对百万美元的超级计算机,价格便宜。
  • 提高可扩展性:只要增加集群节点即可。
  • 增强可靠性:多个节点完成相同功能,避免单点失败。

3.群集分类

  • 负载均衡群集
  • 高可用群集
  • 高性能运算群集

3.1负载均衡群集(Load Balance Cluster)

  • 提高应用系统的响应能力、尽可能处理更多的访问请求、减少延迟为目标,获得高并发、负载(LB)的整体性能;
  • LB的负载分配依赖于主节点的分流算法,将来自客户机的访问请求分担给多个服务器节点,从而缓解整个系统的负载压力。例如,“DNS轮询”、“反向代理” 等。

3.2 高可用群集(High Availability Cluster)

  • 提高应用系统的可靠性、尽可能地减少中断时间为目标,确保服务的连续性,达到高可用(HA) 的容错效果。

  • HA的工作方式包括双工主从两种模式,双工即所有节点同时在线;主从则只有主节点在线,但当出现故障时从节点能自动切换为主节点。例如,“故障切换” 、“双机热备” 等。

3.2高性能运算群集(High Performance Computer Cluster)

  • 以提高应用系统的CPU运算速度、扩展硬件资源和分析能力为目标,获得相当于大型、超级计算机的高性能运算(HPC)能力。

  • 高性能依赖于"分布式运算”、 “并行计算”,通过专用硬件和软件将多个服务器的CPU、内存等资源整合在一起,实现只有大型、超级计算机才具备的计算能力。例如,'云计算”、 “网格计算”等。

二.负载均衡群集

1.负载均衡群集架构

1.1第一层,负载调度器(Load Balancer或Director)  负载均衡层

访问整个群集系统的唯一入口,对外使用所有服务器共有的VIP地址,也称为群集 IP地址。通常会配置主、备两台调度器实现热备份,当主调度器失效以后能够平滑 替换至备用调度器,确保高可用性。

1.2第二层,服务器池(Server Pool)  WEB应用层

群集所提供的应用服务、由服务器池承担,其中每个节点具有独立的RIP地址(真 实IP),只处理调度器分发过来的客户机请求。

当某个节点暂时失效时,负载调度 器的容错机制会将其隔离,等待错误排除以后再重新纳入服务器池。

1.3第三层,共享存储(Share Storage)  确保多台服务器使用的是相同的资源

为服务器池中的所有节点提供稳定、一致的文件存取服务,确保整个群集的统一性 共享存储可以使用NAS设备,或者提供NFS共享服务的专用服务器。

(因为节点服务器的资源都是由NAS或NFS提供,所以NAS或NFS需要做主备、或分布式,从而实现高可用。)

2.负载均衡群集的工作模式

负载均衡群集是目前企业用得最多的群集类型

群集的负载调度技术有三种工作模式:

  • 1、地址转换(NAT模式)
  • 2、IP隧道(IP-TUN)
  • 3、直接路由(DR模式)

通常使用 NAT和DR,使用最多的是DR模式。

2.1 NAT模式(地址转换

  • Network Address Translation,简称NAT模式

  • 类似于防火墙的私有网络结构,负载调度器作为所有服务器节点的网关,即作为客户机 的访问入口,也是各节点回应客户机的访问出口。

  • 服务器节点使用私有IP地址,与负载调度器位于同一个物理网络,安全性要优于其他两 种方式。

  • 缺点:由于NAT的负载均衡器既作为用户的访问请求入口,也作为节点服务器响应请求的出口,承载两个方向的压力,调度器的性能会成为整个集群的瓶颈。

2.2 TUN模式(IP隧道)

  • IP Tunnel ,简称TUN模式。

  • 采用开放式的网络结构,负载调度器仅作为客户机的访问入口,各节点通过各自的Internet连接直接回应客户机,而不再经过负载调度器。承载的压力比NAT小。

  • 服务器节点分散在互联网中的不同位置,具有独立的公网IP地址,通过专用IP隧道与负载调度器相互通信。

  • 缺点:成本很高。

  • 这种模式一般应用于特殊场景,比如将节点服务器分布在全国各地,防止被物理攻击(如地震、战争等),做灾备。

2.3 DR模式(直接路由)

  • Direct Routing,简称DR模式。

  • 采用半开放式的网络结构,与TUN模式的结构类似,负载调度器仅作为客户机的访问入口,各节点通过各自的Internet连接直接回应客户机,而不再经过负载调度器。承载的压力比NAT小。

  • 但各节点并不是分散在各地,而是与调度器位于同一个物理网络。

  • 负载调度器与各节点服务器通过本地网络连接,不需要建立专用的IP隧道。

三.LVS虚拟服务器

Linux Virtual Server:

3.1 LVS相关术语

DS:Director Server。指的是前端负载均衡器。

RS:Real Server。节点服务器,后端真实的工作服务器。

VIP:向外部直接面向用户请求,作为用户请求的目标的IP地址。

DIP:Director Server IP,主要用于和内部主机通讯的IP地址。

RIP:Real Server IP,后端服务器的IP地址。

CIP:Client IP,访问客户端的IP地址。

3.2 LVS的负载调度算法

rr:轮询算法(Round Robin)

  • 将请求依次分配给不同的RS节点,即RS节点中均摊分配。适合于RS所有节点处理性能接近的情况。
  • 将收到的访问请求安装顺序轮流分配给群集指定各节点(真实服务器),均等地对待每一台服务器,而不管服务器实际的连接数和系统负载。

wrr:加权轮询调度(Weighted Round Robin)

  • 依据不同RS的权重值分配任务。权重值较高的RS将优先获得任务,并且分配到的连接数将比权值低的RS更多。相同权值的RS得到相同数目的连接数。
  • 保证性能强的服务器承担更多的访问流量。

dh:目的地址哈希调度(destination hashing)

  • 以目的地址为关键字查找一个静态hash表来获得所需RS。

sh:源地址哈希调度(source hashing)

  • 以源地址为关键字查找--个静态hash表来获得需要的RS。

(2)动态调度算法: wlc,lc,1blc

lc:最小连接数调度( Least Connections)

  • ipvs表存储了所有活动的连接。LB会比较将连接请求发送到当前连接最少的RS。
  • 根据真实服务器已建立的连接数进行分配,将收到的访问请求优先分配给连接数最少的节点。

wlc:加权最小连接数调度(Weighted Least Connections)

  • 假设各台RS的权值依次为Wi,当前tcp连接数依次为Ti,依次取Ti/Wi为最小的RS作为下一个分配的RS。
  • 在服务器节点的性能差异较大时,可以为真实服务器自动调整权重。
  • 性能较高的节点将承担更大比例的活动连接负载。

lblc:基于地址的最小连接数调度(locality-based least-connection)

  • 将来自同一个目的地址的请求分配给同一-台RS,此时这台服务器是尚未满负荷的。否则就将这个请求分配给连接数最小的RS,并以它作为下一次分配的首先考虑。

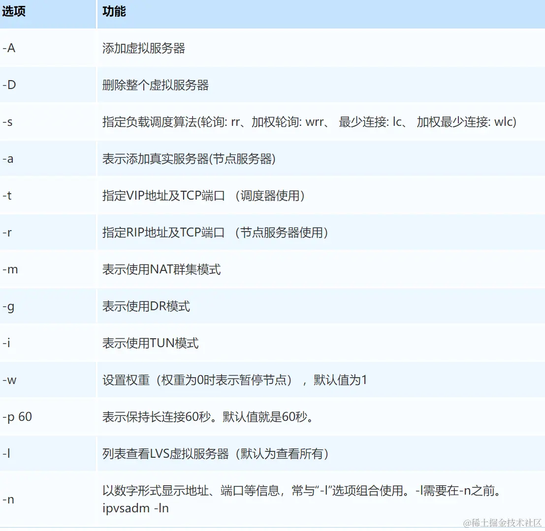
四. ipvsadm工具

ipvsadm是一个工具,同时它也是一条命令,用于管理LVS的策略规则。

ipvsadm是ipvs的管理器,需要yum安装。

ipvsadm工具的作用:

LVS群集创建与管理:

  • 创建虚拟服务器
  • 添加、删除服务器节点
  • 查看群集及节点情况
  • 保存负载分配策略

微信截图_20230918185021.png

五. LVS-DR 工作原理

1.LVS-DR数据包流向分析

(1)客户端发送请求到Director Server (负载均衡器),请求的数据报文(源IP是CIP,目标IP是VIP)到达内核空间。

(2)Director Server 和Real Server 在同一个网络中,数据通过二层数据链路层来传输。

(3)内核空间判断数据包的目标IP是本机VIP,此时IPVS(IP虛拟服务器)比对数据包请求的服务是否是集群服务,是集群服务就重新封装数据包修改源MAC地址为Director server 的MAC地址,修改目标MAC地址为Real Server 的MAC 地址,源IP 地址与目标IP地址没有改变,然后将数据包发送给Real Server。

(4)到达Real server 的请求报文的MAC地址是自身的MAC地址,就接收此报文。数据包重新封装报文(源IP地址为VIP,目标IP为CIP),将响应报文通过lo接口传送给物理网卡然后向外发出。

(5)Real Server 直接将响应报文传送到客户端。客户端收到回复报文,认为得到正常的服务,而不会知道是哪一台服务器处理的。

注意:如果跨网段,则报文通过路由器经由Internet返回给用户。

2.DR模式的特点

(1)Director Server(调度器) 和 Real Server(节点服务器) 必须在同一个物理网络中。

(2)Real Server可以使用私有地址,也可以使用公网地址。如果使用公网地址,可以通过互联网对RIP进行直接访问。

(3)Director Server作为群集的访问入口,但不作为网关使用。

(4)所有的请求报文经由Director Server, 但回复响应报文不能经过Director Server。

(5) Real Server 的网关不允许指向Director Server IP, 即Real Server发送的数据包不允许经过Director Server。(RS的网关地址只能指定真实的路由器网关)

(6) Real Server 上的 lo 接口配置VIP的IP地址。

六.LVS-DR中的ARP问题

1.VIP地址相同导致响应冲突

问题原因:

在LVS-DR负载均衡集群中,负载均衡器与节点服务器都要配置相同的VIP地址,在局域网中具有相同的IP地 址,势必会造成各服务器ARP通信的紊乱。

  • 当ARP广播发送到LVS-DR集群时,因为负载均衡器和节点服务器都是连接到相同的网络上,它们都会收到ARP广播。
  • 只有前端的负载均衡器进行响应,其他节点服务器不应该响应ARP广播。

解决方法:

对节点服务器进行处理,使其不响应针对VIP的ARP请求

  • 使用虚接口lo:0承载VIP地址
  • 设置内核参数 arp_ ignore=1:系统只响应目的IP为本地IP(物理网卡的地址,而不是lo网卡的虚接口地址)的ARP请求。

2.返回报文时源地址使用VIP,导致网关设备的ARP缓存表紊乱

问题原因:

  • RealServer返回报文(源IP是VIP)经路由器转发,重新封装报文时,需要先获取路由器的MAC地址。
  • 发送ARP请求时,Linux默认使用IP包的源IP地址(即VIP)作为ARP请求包中的源IP地址,而不使用发送接口的IP地址。
  • 路由器收到ARP请求后,将更新ARP表项。原有的VIP对应Director的MAC地址,会被更新为VIP对应的Real Server的MAC地址。导致网关设备的ARP缓存表紊乱。
  • 路由器根据ARP表项,会将新来的请求报文转发给Real Server,导致Director的VIP失效。

解决方法:

对节点服务器进行处理,设置内核参数arp_announce=2:系统不使用IP数据包的源地址来设置ARP请求的源地址,而选择发送接口(物理网卡)的IP地址。

3.解决ARP的两个问题的设置方法

修改配置文件vim /etc/sysctl.conf

微信截图_20230918185546.png

注:

NFS服务器配置步骤:

  • 关闭防火墙
  • 安装nfs-utils、rpcbind软件包
  • 新建共享目录,并创建站点文件
  • 修改共享配置文件,设置共享策略
  • 启动两个服务,查看本机的NFS共享信息

节点服务器配置步骤:

  • 关闭防火墙
  • 安装httpd服务
  • 配置 lo:0 虚拟网卡,承载VIP
  • 添加路由 route add
  • 修改内核配置,/etc/sysctl.conf
  • 挂载站点(将NFS服务器的共享目录挂载到httpd的站点目录)

DR负载调度服务器的配置步骤:

  • 关闭防火墙

  • 加载ip_vs模块,安装ipvsadm工具

  • 配置虚拟IP地址(VIP和节点服务器的VIP一致)

  • 调整 proc 响应参数,关闭路由转发功能,/etc/sysctl.conf

  • 配置负载分配策略