PHP 5 的变量结构
PHP 5 中一个变量的内存占用比较浪费,比如 long 和 double 类型的变量是不需要引用计数的

PHP 7 的变量变化:变量名 zval、变量值 zend_value
PHP 7 使用名为 zval 的结构存储变量名,使用名为 zend_value 的结构体存储变量值。zval 中有一个 zend_value 类型的属性,将 zval 和 zend_value 关联起来。
在 PHP 中所有类型的变量都是用 zval 来存储,zval 中包含一个 type 属性,表示本变量的类型。这就是 PHP 弱类型的核心。
//zend_types.h
typedef struct _zval_struct zval;
/*** 变量值结构体 zend_value ***/
typedef union _zend_value {
/***
这里就是存放具体值的地方的了,
除了zend_log整型和double浮点型是直接存储具体值,
其他类型都是使用指针指向额外的结构体地址
***/
zend_long lval; //如果是整型 则其值存放在这里
double dval; //如果是浮点型 则其值存放在这里
//如果下面类型时,值则使用指针指向额外的内存
zend_refcounted *counted;
zend_string *str; //string字符串
zend_array *arr; //array数组
zend_object *obj; //object对象
zend_resource *res; //resource资源类型
zend_reference *ref; //引用类型,通过&$var_name定义的
zend_ast_ref *ast; //下面几个都是内核使用的value
zval *zv;
void *ptr;
zend_class_entry *ce;
zend_function *func;
struct {
uint32_t w1;
uint32_t w2;
} ww;
} zend_value;
/*** 变量名结构体 zval ***/
struct _zval_struct {
zend_value value; /*** 变量实际的value,指向zend_value结构体地址 ***/
union {
struct {
ZEND_ENDIAN_LOHI_4( //这个是为了兼容大小字节序,小字节序就是下面的顺序,大字节序则下面4个顺序翻转
zend_uchar type, /*** 变量类型 ***/
zend_uchar type_flags, /*** 变量类型掩码,不同的类型会有不同的几种属性。比如当前类型是否支持引用计数、是否支持写时复制。主要在内存管理时会用 ***/
zend_uchar const_flags, /*** 常量类型掩码 ***/
zend_uchar reserved) //call info,zend执行流程会用到
} v;
uint32_t type_info; //上面4个值的组合值,可以直接根据type_info取到4个对应位置的值
} u1;
union {
uint32_t var_flags;
uint32_t next; //哈希表中解决哈希冲突时用到
uint32_t cache_slot; /* literal cache slot */
uint32_t lineno; /* line number (for ast nodes) */
uint32_t num_args; /* arguments number for EX(This) */
uint32_t fe_pos; /* foreach position */
uint32_t fe_iter_idx; /* foreach iterator index */
} u2; //一些辅助值
};
zval 中 u1 和 u2 都是联合体,联合体特点是内部给字段复用存储空间,故 v 和 type_info 是共享一块空间的,v 和 type_info 的关系:

图中 type 值为 6,即等于宏定义 IS_STRING,表示当前变量类型是字符串,且字符串的 type_flag掩码为 24,这两项设置完后,再从 type_info 侧读取,type_info 值就为 6150了( 2^1 + 2^2 + 2^11 + 2^12)。
u2 中记录了一些辅助字段,如 next 用来解决哈希表中的哈希冲突。
zval 的整体内存结构如图:

变量类型
变量的类型存储在 zval.u1.v.type 中,可选值有:

其中 IS_TRUE(布尔类型 true)、IS_FALSE(布尔类型 false)、IS_NULL(空类型 null) 这几个类型没有具体的变量值,直接根据其类型来区分。
而 IS_LONG(整型 long)、IS_DOUBLE(浮点型 double) 的变量值则分别存在 zend_value 中的 zend_long、double 两个属性下。也就是说,标量类型不需要额外的 value 指针,,其他类型都是通过指针,指向额外的数据结构结构体地址。
变量类型属性
zval.u1.v.type_flags 的宏定义如下:
/* zval.u1.v.type_flags */
#define IS_TYPE_CONSTANT (1<<0)
#define IS_TYPE_IMMUTABLE (1<<1)
#define IS_TYPE_REFCOUNTED (1<<2)
#define IS_TYPE_COLLECTABLE (1<<3)
#define IS_TYPE_COPYABLE (1<<4)
通过 bitmap 设置当前变量的内存属性,如是否支持写时复制,是否支持垃圾回收等
字符串结构体 zend_string
字符串结构体使用 _zend_string 表示,其中 zend_refcounted_h 表示引用计数,以及后面所有支持引用计数的数据结构都使用这个结构体来实现。
struct _zend_string {
zend_refcounted_h gc; /*** 引用计数 ***/
zend_ulong h;
size_t len;
char val[1];
};
数组结构体 zend_array
数组底层实现就是普通的有序 HashTable,后面会详细介绍数组
typedef struct _zend_array HashTable;
struct _zend_array {
zend_refcounted_h gc; //引用计数信息,与字符串相同
union {
struct {
ZEND_ENDIAN_LOHI_4(
zend_uchar flags,
zend_uchar nApplyCount,
zend_uchar nIteratorsCount,
zend_uchar reserve)
} v;
uint32_t flags;
} u;
uint32_t nTableMask; //计算bucket索引时的掩码
Bucket *arData; //bucket数组
uint32_t nNumUsed; //已用bucket数
uint32_t nNumOfElements; //已有元素数,nNumOfElements <= nNumUsed,因为删除的并不是直接从arData中移除
uint32_t nTableSize; //数组的大小,为2^n
uint32_t nInternalPointer; //数值索引
zend_long nNextFreeElement;
dtor_func_t pDestructor;
};
对象 zend_object / 资源结构体 zend_resource
资源是指 tcp 连接、文件句柄等等。
struct _zend_object {
zend_refcounted_h gc;
uint32_t handle;
zend_class_entry *ce; //对象对应的class类
const zend_object_handlers *handlers;
HashTable *properties; //对象属性哈希表
zval properties_table[1];
};
struct _zend_resource {
zend_refcounted_h gc;
int handle;
int type;
void *ptr;
};
引用结构体 zend_reference
引用是一种特殊的类型:
struct _zend_reference {
zend_refcounted_h gc;
zval val;
};
在 PHP 中通过 & 操作符产生一个引用变量。具体过程:不管以前的类型是什么,& 首先会创建一个zend_reference 结构体,其内嵌的 zval 的 value 指向原来 zval 的 value (如果是布尔、整形、浮点则直接复制原来的值),然后将原 zval 的类型修改为 IS_REFERENCE,即将其变成引用类型的 zval,最后将原 zval 的 value 指向新创建的 zend_reference 结构。
一开始的情况: zval(类型xxx).value → zend_value。
取 & 后的情况:zval(类型IS_REFERENCE).value → zend_reference.zval.value → zend_value
这个过程有点像往链表中插入节点的过程。注意,此时会将 b 这两个变量都变成 ref 类型。
如代码:
$a = "time:" . time();
$b = &$a;
图示的最终结果:

另外引用只能通过 & 产生,赋值操作是不会产生引用的,也就是说引用只会有一层,不会出现引用指向引用的情况。
再看一个例子:
$a = 'hello';
$b = $a;
$c = &$b;
首先 a 的赋值后的情况:

之后 c = &b 的情况:

但如果此时 unset 掉 b 的话,b 的 type 会变成 null,但 c 依旧是 reference,而并不是第一印象中的 b 和 c 都变成 null 了,因为 unset b 只是将 b 的 type 改成了 null,不影响 c 的 type。
同样的,如果将 b 或 c改变了值,此时会发生 COW,b 和 c 指向新的 string,a 还指向最初的string,如下代码:
$a = 'hello' . time();
echo $a;
$b = $a;
echo $a;
echo $b;
// 此时z.value.str指向的zend_value的refcount=2
$c = &$b;
echo $a;
echo $b;
echo $c;
// 此时老的zend_value的refcount依旧是2,因为有a和新的bc的reference两个指向。
// 新的zend_reference的refcount也是2,由b和c指向
$c = 'xxx' . time();
echo $a;
echo $b;
echo $c;
// a 和 bc 的指向分离,bc指向新的字符串。老的字符串refcount变成1
内存管理
绝大部分对变量的操作都是读操作,如果赋值一个变量就完全 alloc 一份数据出来理论上是可行的,也是最简单的,但对性能消耗太大效率太低,所以一般的方案都是引用计数+写时复制,附加垃圾回收来维护内存。
引用计数
引用计数是 zend_value 中的 value 结构体(比如字符串 zend_string )中的一个属性(一般记为zend_refcounted_h),记录指向当前 value 的数量。
- 变量复制、函数传参时 此计数 +1
- 变量销毁时计数 -1
- 直到计数为 0 时 将销毁。
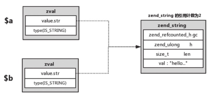
$a = "time:" . time(); //$a -> zend_string_1(refcount=1)
$b = $a; //$a,$b -> zend_string_1(refcount=2)
$c = $b; //$a,$b,$c -> zend_string_1(refcount=3)
unset($b); //$b = IS_UNDEF $a,$c -> zend_string_1(refcount=2)
引用计数zend_refcounted_h 结构体:
typedef struct _zend_refcounted_h {
uint32_t refcount; /* reference counter 32-bit */
union {
struct {
ZEND_ENDIAN_LOHI_3(
zend_uchar type,
zend_uchar flags, /* used for strings & objects */
uint16_t gc_info) /* keeps GC root number (or 0) and color */
} v;
uint32_t type_info;
} u;
} zend_refcounted_h;
不是所有类型都有引用计数,是否支持引用计数是通过 zend_value.u1.v.type_flags 类型掩码控制的
支持引用计数的类型,掩码包含 IS_TYPE_REFCOUNTED
#define IS_TYPE_REFCOUNTED (1<<2)
| type | refcounted |
+----------------+------------+
|simple types | |
|string | Y |
|interned string | |
|array | Y |
|immutable array | |
|object | Y |
|resource | Y |
|reference | Y |
简单数据类型没有不用说,比如 long、double 都是没有的,另外两个说明一下:
- interned string:内部字符串,像这种
$a = "hi~",可理解为在请求期间不会改变且请求结束后被销毁的值,这样就不需要通过引用计数管理了。 - immutable array:还不太清楚
写时复制
写时复制即:当多个变量指向同一个 zend_value 的情况下,当某一个变量发生更改,会重新拷贝一份 value 出来供修改,同时断开旧的指向。
$a = array(1,2);
$b = &$a;
$c = $a;
// 尝试修改,$a $b
$b[] = 3;
在 a $b 指向。

跟引用计数一样,不是所有类型都支持写时复制。是否支持写时复制也是通过 zend_value.u1.v.type_flags 类型掩码控制的,下图中不支持 copyable 的就是不支持写时复制。
支持写时复制的类型,掩码中包含 IS_TYPE_COPYABLE。
#define IS_TYPE_COPYABLE (1<<4)
| type | copyable |
+----------------+------------+
|simple types | |
|string | Y |
|interned string | |
|array | Y |
|immutable array | |
|object | |
|resource | |
|reference | |
变量回收
- 主动销毁回收:使用 unset
- 自动销毁回收:函数 return、发生写时复制等,可能导致引用计数为0
垃圾回收
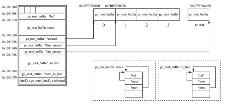
垃圾回收相当于是高阶的变量回收,普通的垃圾回收通过引用计数为 0 即可实现,复杂的情况如下:
$a = [1];
$a[] = &$a;
unset($a);
unset之前:

unset之后:

此时该数值外部已经没有指向的变量,导致数组无法访问到。这种情况只可能发生在数组或对象中,所以 PHP 会针对这两种类型做特殊检查:如果当销毁一个变量后,发现引用计数还大于0,并且是IS_ARRAY 、IS_OBJECT时,则此 value 则会被放入 gc 的垃圾链表中,等待链表达到一定数量后会启动检查回收掉。

垃圾回收步骤:

- 对 roots 环(即新加入的有可能是垃圾的变量)中每个元素进行深度优先遍历,将每个元素中 gc_info 为紫色的标记元素为灰色,且引用计数减 1。
- 扫描 roots 环中 gc_info 为灰色的元素,如果发现其引用计数仍旧大于 0,说明这个元素还在其他地方使用,那么将其颜色重新标记回黑色,并将其引用计数加 1(在第一步有减 1 操作)。如果发现其引用计数为 0,则将其标记为白色。该过程同样为深度优先遍历。
- 扫描 roots 环,将 gc_info 颜色为黑色的元素从 roots 移除。然后对 roots 中颜色为白色的元素进行深度优先遍历,将其引用计数加 1(在第一步有减 1 操作),然后将 roots 链表移动到待释放的列表中(to_free)。
- 释放 to_free 列表的元素。
是否支持垃圾回收也是 zend_value.u1.v.type_flags 掩码定义的
#define IS_TYPE_COLLECTABLE
| type | collectable |
+----------------+-------------+
|simple types | |
|string | |
|interned string | |
|array | Y |
|immutable array | |
|object | Y |
|resource | |
|reference | |
总结一下:一个类型是否支持引用计数、写时复制、垃圾回收,是根据 zval.u1.v.type_flags 掩码来决定的,下面三个值分别表示是否支持的对应的功能。
- IS_TYPE_REFCOUNTED
- IS_TYPE_COPYABLE
- IS_TYPE_COLLECTABLE
写时复制机制可以提高性能减少内存占用,简单的变量回收可以通过引用计数实现,复杂的变量引用关系导致的垃圾需要使用垃圾回收来处理。
本文由mdnice多平台发布