重构,改善既有代码的设计(实战篇)

148 阅读13分钟

目录

前言

题目

初步解法

1.Movie类

2.Rental类

3.Customer类

4.谈谈初步解法的问题

重构实战

1. 重构第一步

2.分解并重组statements

2.1. Extract Method(提取函数)

2.2. Move Method(搬移函数)

2.3.提炼“积分计算”代码

2.4.去除临时变量(Replace Temp with Query以查询取代临时变量)

3.运用多态取代与价格相关的条件逻辑

3.1. Replace type code with state/strategy(以state/strategy取代类型码)

3.2.Move Method(搬移函数)

3.3. Replace Conditional with Polymorphism(以多态取代表达式)

总结


前言

程序员必懂的代码重构(理论篇)一文介绍了代码重构是什么、常用的重构手法和代码中的“坏味道”。But talk is cheap. Show me the code,本文将从实战的角度来谈谈代码重构,共分为:题目、初步解法、重构实战和总结四部分。

本篇blog是《重构,改善代码既有代码的设计》(密码: ab5g)一文的读书笔记,读书笔记与书一起食用效果更佳哦。欢迎点赞、收藏、评论三连~,谢谢大家。


题目

该程序为影片出租店用的程序,目的是计算每位顾客的消费金额并打印详单。你需要1.根据租赁时间和影片类型(普通片、儿童片和新片三类)计算费用;2.除了计算费用之外,需要计算积分。积分会根据是否是新片而有所不同。

初步解法

跟着笔者思路一起来看,按照功能可以拆分为Movie类、Rental类和Customer类。

1.Movie类

功能:该类主要记录类型、价格和标题等,是单纯数据类。

/**
 * Movie记录类型、价格和标题等,单纯数据类。
 * @author kevinhe
 */
public class Movie {
    //三种片类型
    public static final int CHILDRENS = 2;
    public static final int REGULAR = 0;
    public static final int NEW_RELEASE = 1;

    private String title;
    private int priceCode;

    public Movie(String title, int priceCode) {
        this.title = title;
        this.priceCode = priceCode;
    }

    public int getPriceCode() {
        return priceCode;
    }

    public void setPriceCode(int priceCode) {
        this.priceCode = priceCode;
    }

    public String getTitle() {
        return title;
    }
}

2.Rental类

功能:表示某位顾客租了一部影片,表示行为。

/**
 * Rental表示某位顾客租了一部影片,表示行为。
 * @author kevinhe
 */
class Rental {
    private Movie movie;
    private int daysRented;

    public Rental(Movie movie, int daysRented) {
        this.movie = movie;
        this.daysRented = daysRented;
    }

    public int getDaysRented() {
        return daysRented;
    }

    public Movie getMovie() {
        return movie;
    }
}

3.Customer类

功能:表示顾客,有数据和相应的访问函数。

/**
 * Customer表示顾客,有数据和相应的访问函数
 *
 * @author kevinhe
 */
public class Customer {
    private String name;
    //Vector 类实现了一个动态数组。和 ArrayList 很相似,但是两者是不同的;
    //1.Vector 是同步访问的。2.Vector 包含了许多传统的方法,这些方法不属于集合框架。
    //Vector 主要用在事先不知道数组的大小,或者只是需要一个可以改变大小的数组的情况。
    private Vector rentals = new Vector();

    public Customer(String name) {
        this.name = name;
    }

    public void addRental(Rental rental) {
        rentals.add(rental);
    }

    public String getName() {
        return name;
    }

    /**
     * 提供一个用于生成详单的函数
     */
    public String statement() {
        double totalAmount = 0;
        //常客计算积分时使用
        int frequentRenterPoints = 0;
        Enumeration enumeration = rentals.elements();
        String result = "Rental Record for " + getName() + "\n";
        while (enumeration.hasMoreElements()) {
            //总金额
            double thisAmount = 0;
            Rental each = (Rental) rentals.elements();
            switch (each.getMovie().getPriceCode()) {
                case Movie.REGULAR:
                    thisAmount += 2;
                    //优惠力度
                    if (each.getDaysRented() > 2) {
                        thisAmount += (each.getDaysRented() - 2) * 1.5;
                    }
                    break;
                case Movie.NEW_RELEASE:
                    //果然还是新书最贵啊
                    thisAmount += each.getDaysRented() * 3;
                    break;
                case Movie.CHILDRENS:
                    thisAmount += 1.5;
                    if (each.getDaysRented() > 3) {
                        thisAmount += (each.getDaysRented() - 3) * 1.5;
                    }
                    break;
            }
            frequentRenterPoints++;
            //如果是新书,另算积分呢
            if (each.getMovie().getPriceCode() == Movie.NEW_RELEASE && each.getDaysRented() >= 1) {
                frequentRenterPoints++;
            }
            result += "\t" + each.getMovie().getTitle() + "\t" + String.valueOf(thisAmount) + "\n";
            totalAmount += thisAmount;
        }
        result += "Amount owed is " + String.valueOf(totalAmount) + "\n";
        result += "You earned " + String.valueOf(frequentRenterPoints) + " frequent renter points";
        return result;
    }
}

4.谈谈初步解法的问题

  • 不符合面向对象的精神。

    • statement() 做的实在过多了,如果改成HTML格式网页详单输出;或者计费标准发生变化,大量重复statement的代码非常恶心;
    • 假设用户希望改变影片分类规则,进而影响到积分的计算的方式,那么HTML网页显示和现在的显示方式会很难保持修改一致性,很容易修改出bug。
  • 建议:“如果它没坏,就不要动它”可能是不可取的,如果你需要为程序添加一个特性,发现代码结构无法让你很方便达到目的,那么是时候重构了。

重构实战

1. 重构第一步

   重构之前,检查是否有一套可靠测试机制,这些测试必须要足够自动化。

  • 为即将修改的代码建立一组可靠的测试环境,即需要可靠的测试。由于statement是输出是字符串,那么假设有顾客,各租不同影片,产生报表字符串,看新字符串和符合预期的字符串是否一致。
  • 测试需足够自动化,若新/参考字符串一致,那么OK,如果不一致,则显示问题字符串行号,测试能够自我校验,否则大把时间的对比无疑会降低开发速度。 

2.分解并重组statements

  长长的函数需要大卸八块,代码块越小,代码的移动和处理也就越轻松。将较小代码块移至更合适的类,降低代码重复使新函数更容易撰写。

2.1. Extract Method(提取函数)

1.找出逻辑泥团并运用Extract Method方法。本例中的switch语句需提炼至独立函数。找出函数内局部变量和参数。each(未被修改,可以当成参数传入新的函数)和thisAmount(会被修改,格外小心,如果只有一个变量修改,可以将其作为返回值)。那么将新函数返回值返回给thisAmount是可行的。

2.重构技术以微小的步伐修改程序,如果你犯下错误,很容易也能发现它。 好的代码应该清楚表达自己的功能,变量名称是代码清晰的关键,唯有写出人类容易理解的代码,才是好的程序员。

/**
 * 提供一个用于生成详单的函数
 */
public String statement() {
    .​...
    while (enumeration.hasMoreElements()) {
        //总金额
        double thisAmount = 0;
        Rental each = (Rental) rentals.elements();
        thisAmount = amountFor(each);
        ....
    }
    .​...
}


/**
 * 金额计算
 * @param aRental
 * @return
 */
private double amountFor(Rental aRental) {
    //注意double、int类型之间的转换。
    double result = 0;
    switch (aRental.getMovie().getPriceCode()) {
        case Movie.REGULAR:
            result += 2;
            //优惠力度
            if (aRental.getDaysRented() > 2) {
                result += (aRental.getDaysRented() - 2) * 1.5;
            }
            break;
        case Movie.NEW_RELEASE:
            //果然还是新书最贵啊
            result += aRental.getDaysRented() * 3;
            break;
        case Movie.CHILDRENS:
            result += 1.5;
            if (aRental.getDaysRented() > 3) {
                result += (aRental.getDaysRented() - 3) * 1.5;
            }
            break;
    }
    return result;
}

2.2. Move Method(搬移函数)

1.观察amountFor函数,使用了Rental类的信息却没有使用来自Customer类的信息,函数是应该放在它所使用的数据的对象内的,所以amountFor应该要放到Rental类而非Customer类,调整代码以使用新类。

2.本例较为简单,只有一个地方使用了新函数,通常来说,你得在可能运用该函数的所有类中查一遍。此时customer类中使用each.getCharge()替代了amountFor(each)方法。此时发现thisAmount变得多余了。使用Replace Temp with Query(以查询取代临时变量)将thisAmount去掉。

补充知识点:尽量去除一部分不必要的临时变量,临时变量会导致大量参数传来传去,长函数容易跟丢,引发bug。

class Rental {
    ....
    /**
     * 金额计算
     * @return
     */
    public double getCharge() {
        //注意double、int类型之间的转换。
        double result = 0;
        switch (getMovie().getPriceCode()) {
            case Movie.REGULAR:
                result += 2;
                //优惠力度
                if (getDaysRented() > 2) {
                    result += (getDaysRented() - 2) * 1.5;
                }
                break;
            case Movie.NEW_RELEASE:
                //果然还是新书最贵啊
                result += getDaysRented() * 3;
                break;
            case Movie.CHILDRENS:
                result += 1.5;
                if (getDaysRented() > 3) {
                    result += (getDaysRented() - 3) * 1.5;
                }
                break;
        }
        return result;
    }
}
public class Customer {
    ....
    /**
     * 提供一个用于生成详单的函数
     */
    public String statement() {
        ....
        while (enumeration.hasMoreElements()) {
            ...
            result += "\t" + each.getMovie().getTitle() + "\t" 
                 + String.valueOf(each.getCharge()) + "\n";
            totalAmount += each.getCharge();
        }
        .​..
    }
}

2.3.提炼“积分计算”代码

积分计算因影片种类而有所不同,针对“积分计算”代码运用Extract Method重构手法。局部变量each,另一个临时变量是frequentRenterPoints(这个参数在使用之前已初始化,但提炼出的函数并未读取该值,因此无需传入,只需作为新函数的返回值累加上去即可)。

class Rental {
     ...
    /**
     * 计算常客积分
     * @return
     */
    public int getFrequentRenterPoints() {
        //如果是新书,另算积分呢
        if (getMovie().getPriceCode() == Movie.NEW_RELEASE && getDaysRented() >= 1) {
            return 2;
        } else {
            return 1;
        }
    }
}
public class Customer {
    ....
    /**
     * 提供一个用于生成详单的函数
     */
    public String statement() {
        double totalAmount = 0;
        //常客计算积分时使用
        int frequentRenterPoints = 0;
        Enumeration enumeration = rentals.elements();
        String result = "Rental Record for " + getName() + "\n";
        while (enumeration.hasMoreElements()) {
            Rental each = (Rental) rentals.elements();
            //计算常客积分
            frequentRenterPoints += each.getFrequentRenterPoints();
            result += "\t" + each.getMovie().getTitle() + "\t" + String.valueOf(each.getCharge()) + "\n";
            totalAmount += each.getCharge();
        }
        result += "Amount owed is " + String.valueOf(totalAmount) + "\n";
        result += "You earned " + String.valueOf(frequentRenterPoints) + " frequent renter points";
        return result;
    }
}

2.4.去除临时变量(Replace Temp with Query以查询取代临时变量)

临时变量会造成冗长复杂的函数,使用Replace Temp with Query(以查询取代临时变量)方法,以查询函数替代totalAmount和frequentRentalPoints临时变量。任何函数均可调用,促成干净设计、减少冗长函数。

public class Customer {
    ...
    /**
     * 提供一个用于生成详单的函数
     */
    public String statement() {
        //常客计算积分时使用
        Enumeration enumeration = rentals.elements();
        String result = "Rental Record for " + getName() + "\n";
        while (enumeration.hasMoreElements()) {
            Rental each = (Rental) rentals.elements();
            result += "\t" + each.getMovie().getTitle() + "\t" + String.valueOf(each.getCharge()) + "\n";
        }
        result += "Amount owed is " + String.valueOf(getTotalCharge()) + "\n";
        result += "You earned " + String.valueOf(getTotalFrequentRenterPoints()) + " frequent renter points";
        return result;
    }

    /**
     * 获取总积分
     * @return
     */
    private double getTotalFrequentRenterPoints() {
        int result = 0;
        Enumeration enumeration = rentals.elements();
        while (enumeration.hasMoreElements()) {
            Rental each = (Rental) rentals.elements();
            result += each.getFrequentRenterPoints();
        }
        return result;
    }

    /**
     * 获取总金额
     * @return
     */
    private double getTotalCharge() {
        double result = 0;
        Enumeration enumeration = rentals.elements();
        while (enumeration.hasMoreElements()) {
            Rental each = (Rental) rentals.elements();
            result +=  each.getCharge();
        }
        return result;
    }
}

重构带来了性能问题,原本while执行一次,但新版本执行三次,降低了性能。重构时可不必担心这些,优化时你需要考虑。现在Customer类的代码可以调用这些查询函数了。如果没有查询函数,你必须得看懂Rental类,并自行循环。程序编写和维护难度大大增加。这时再编写html-statement就简单一些了。

/**
 * 生成HTML详单的函数
 * @return
 */
public String htmlStatement() {
    //常客计算积分时使用
    Enumeration enumeration = rentals.elements();
    String result = "HTML:Rental Record for " + getName() + "\n";
    while (enumeration.hasMoreElements()) {
        Rental each = (Rental) rentals.elements();
        result += "\t" + each.getMovie().getTitle() + "\t" + String.valueOf(each.getCharge()) + "\n";
    }
    result += "Amount owed is " + String.valueOf(getTotalCharge()) + "\n";
    result += "On this rental You earned " + String.valueOf(getTotalFrequentRenterPoints()) + " frequent renter points";
    return result;
}

3.运用多态取代与价格相关的条件逻辑

用户准备修改影片分类规则。费用计算和常客积分计算也会因此而发生改变。首当其冲的就是Rental类getCharge中的switch...case...语句,除非迫不得已,switch..case..应当作用于自己的数据上,而非别人的数据上(这样会有风险)。getCharge移到Movie类中去会更好,传入的是租期长度而非影片类型,因为系统可能会加入新影片类型,不稳定,因此在Movie对象内计算费用。同样的手法处理常客积分函数。

public class Movie {
   ...
    /**
     * 根据影片类型获取费用
     * @param daysRented
     * @return
     */
    public double getCharge(int daysRented) {
        double result = 0;
        switch (getPriceCode()) {
            case Movie.REGULAR:
                result += 2;
                //优惠力度
                if (daysRented > 2) {
                    result += (daysRented - 2) * 1.5;
                }
                break;
            case Movie.NEW_RELEASE:
                //果然还是新书最贵啊
                result += daysRented * 3;
                break;
            case Movie.CHILDRENS:
                result += 1.5;
                if (daysRented > 3) {
                    result += (daysRented - 3) * 1.5;
                }
                break;
        }
        return result;
    }

    public int getFrequentRenterPoints(int daysRented) {
        //如果是新书,另算积分呢
        if (getPriceCode() == Movie.NEW_RELEASE && daysRented >= 1) {
            return 2;
        } else {
            return 1;
        }
    }
}
class Rental {
    private Movie movie;
    private int daysRented;
    .​..
    /**
     * 金额计算
     * @return
     */
    public double getCharge() {
        return movie.getCharge(daysRented);
    }

    /**
     * 计算常客积分
     * @return
     */
    public int getFrequentRenterPoints() {
        return movie.getFrequentRenterPoints(daysRented);
    }
}

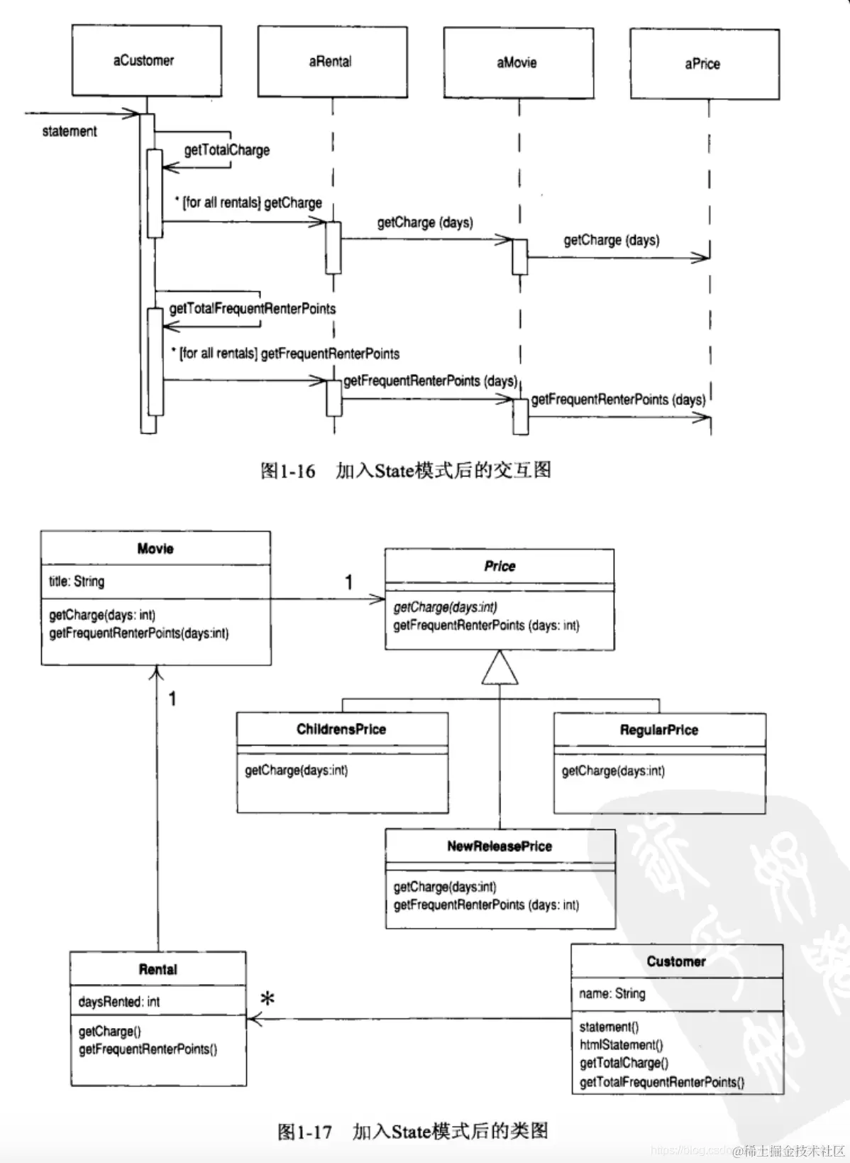
多态取代switch语句,多态设计时不要直接继承Movie,而是通过Price间接去处理,一部影片可以在生命周期内修改自己的分类,但一个对象却不能再生命周期内修改自己所属的类,使用state模式叭。为了引入State模式重构,我们首先使用Replace type code with state/strategy(以state/strategy取代类型码)将与类型相关的行为搬移至state模式中,运用Move Method(搬移函数)方法将switch语句移动至price类中,最后运用Replace Conditional with Polymorphism(以多态取代表达式)去掉switch语句。

3.1. Replace type code with state/strategy(以state/strategy取代类型码)

针对类型码使用Self Encapsulate Field(自封装字段),确保任何时候都通过取/设值函数来访问类型代码,构造函数依旧可以直接访问价格代码。

新建Price类,并提供类型相关的行为,为此,加入抽象函数,并在所有子类中加上对应的具体操作。

public class Movie {
    //三种片类型
    public static final int CHILDRENS = 2;
    public static final int REGULAR = 0;
    public static final int NEW_RELEASE = 1;

    private String title;
    private Price price;

    public Movie(String title, int priceCode) {
        this.title = title;
        setPriceCode(priceCode);
    }

    public int getPriceCode() {
        return price.getPriceCode();
    }

    public void setPriceCode(int arg) {
        switch (arg) {
            case Movie.REGULAR:
                price = new RegularPrice();
                break;
            case Movie.NEW_RELEASE:
                price = new NewReleasePrice();
                break;
            case Movie.CHILDRENS:
                price = new ChildrenPrice();
                break;
            default:
                throw new IllegalArgumentException("Incorrect Price Code");
        }
    }
    ....
    }
 }
abstract class Price {
    abstract  int getPriceCode();
}
public class ChildrenPrice extends Price{
    @Override
    int getPriceCode() {
        return Movie.CHILDRENS;
    }
}
public class NewReleasePrice extends Price {
    @Override
    int getPriceCode() {
        return Movie.NEW_RELEASE;
    }
}
public class RegularPrice extends Price {
    @Override
    int getPriceCode() {
        return Movie.REGULAR;
    }
}

3.2.Move Method(搬移函数)

将Movie中的getCharge方法下沉至Price方法中。 

abstract class Price {
    abstract int getPriceCode();
    /**
     * 根据影片类型获取费用
     * @param daysRented
     * @return
     */
    public double getCharge(int daysRented) {
        double result = 0;
        switch (getPriceCode()) {
            case Movie.REGULAR:
                result += 2;
                //优惠力度
                if (daysRented > 2) {
                    result += (daysRented - 2) * 1.5;
                }
                break;
            case Movie.NEW_RELEASE:
                //果然还是新书最贵啊
                result += daysRented * 3;
                break;
            case Movie.CHILDRENS:
                result += 1.5;
                if (daysRented > 3) {
                    result += (daysRented - 3) * 1.5;
                }
                break;
        }
        return result;
    }
}
public class Movie {
    private Price price;
    .​..

    public int getPriceCode() {
        return price.getPriceCode();
    }
    ....
}

3.3. Replace Conditional with Polymorphism(以多态取代表达式)

一次取出getPriceCode的一个case分支,在对应的类建立覆盖函数。同样的方法处理getFrequentRenterPoints方法。

/**
 * 新建Price类,并提供类型相关的行为,为此,加入抽象函数,并在所有子类中加上对应的具体操作。
 */
abstract class Price {
    /**
     * 获取影片类型code码
     * @return
     */
    abstract  int getPriceCode();
    /**
     * 根据影片类型获取费用
     * @param daysRented
     * @return
     */
    abstract double getCharge(int daysRented);

    /**
     * 如果是新书,采用复写的方法,在超类中留下一个已定义的函数,使之成为一种默认行为。
     * @param daysRented
     * @return
     */
    int getFrequentRenterPoints(int daysRented) {
        return 1;
    }
}
public class RegularPrice extends Price {
    @Override
    int getPriceCode() {
        return Movie.REGULAR;
    }

    @Override
    public double getCharge(int daysRented) {
        double result = 2;
        //优惠力度
        if (daysRented > 2) {
            result += (daysRented - 2) * 1.5;
        }
        return result;
    }
}
public class NewReleasePrice extends Price {
    @Override
    int getPriceCode() {
        return Movie.NEW_RELEASE;
    }

    @Override
    public double getCharge(int daysRented) {
        //果然还是新书最贵啊
        return daysRented * 3;
    }

    @Override
    public int getFrequentRenterPoints(int daysRented) {
        return (daysRented > 1) ? 2 : 1;
    }
}
public class ChildrenPrice extends Price{
    @Override
    int getPriceCode() {
        return Movie.CHILDRENS;
    }

    @Override
    public double getCharge(int daysRented) {
        double result = 1.5;
        if (daysRented > 3) {
            result += (daysRented - 3) * 1.5;
        }
        return result;
    }
}

 引入State设计模式很值,修改影片分类结构/改变费用计价规则/改变积分规则都会容易很多了。

总结

代码重构就到聊到这里啦,送给大家两个小建议:1.读完笔记之后,在项目中实战吧。写出优雅、易维护、类责任更明确的代码;2.把握重构的节奏,小步慢跑,即:测试、小修改、测试、小修改..这种节奏使得重构快速且安全。欢迎互相交流~