Flutter - 记一次 App 4.3 到上线

2,148 阅读2分钟

不是马甲包,马甲包套壳的可以直接划走了

过程

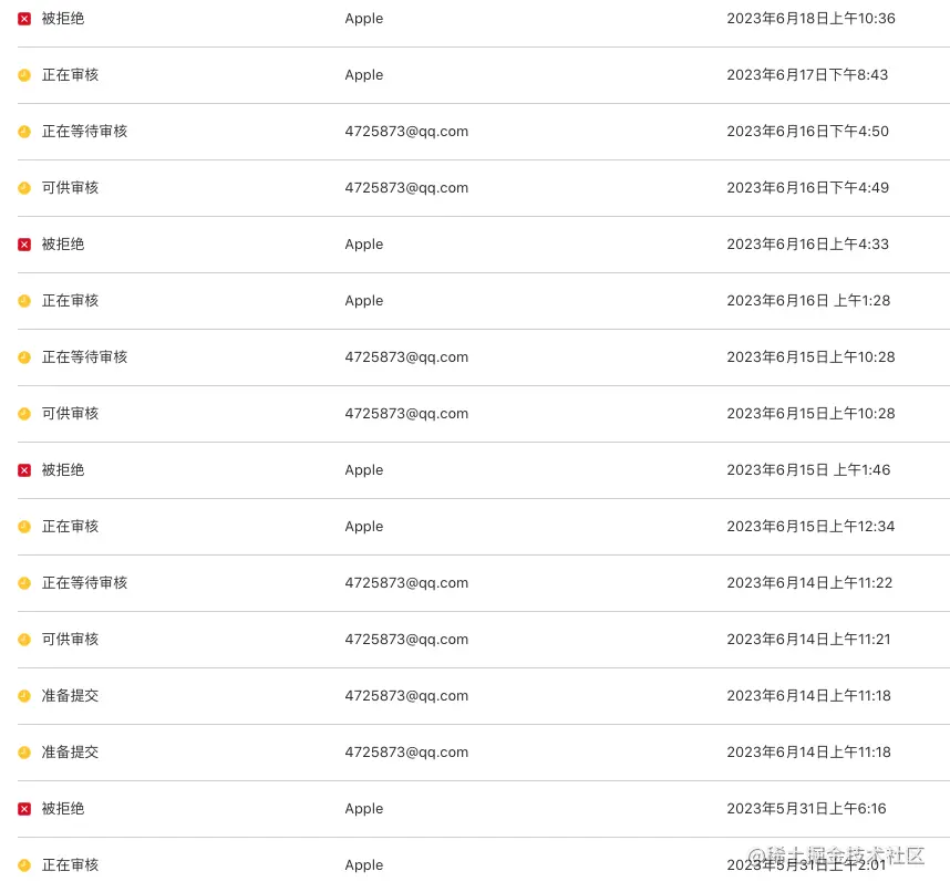
先看一下整个过程,0519 到 0713 整整经历了两个月时间:

image.png

image.png

image.png

期间也是一直在和苹果进行交涉:

image.png

中途还有群里的热心网友送出的鼓励:

image.png

image.png

image.png

解决

  1. 首先确认你的 App 一定不是马甲包,一定一定不是马甲包;
  2. UI 一定要改,从开屏到里面的页面,UI 和逻辑全部重构吧,资源文件换 md5,(有网友说要换新电脑换ip重新打包,不过我都没换);
  3. 耐心的和苹果进行回复,说明你们 App 的功能,不同的点,然后继续回复,回复内容可以把你们 App 的截图,视频带上,申诉也同步进行;
  4. 改动,回复,申诉;
  5. 改动,回复,申诉;
  6. 改动,回复,申诉;
  7. 改动,回复,申诉;

其实我没有关注审核到底是机审还是人工,因为被拒的理由都是这样的:

image.png

image.png

image.png

而我和苹果回复的过程,苹果也没有告诉我具体原因,回复的也比较笼统,只是没有审核时候回复的格式那么规范:

image.png

image.png 同样申诉的回复也是类似的话术:

image.png 所以我得出来的结论就是,你被 4.3 拒绝的回复一定是固定的格式,只有你在和苹果回复的过程中,他们会和你简单聊聊,但是也不会告诉你具体原因的!

你只有真的去改动代码,而且这问题其实更需要产品经理和 UI 设计师去考虑。因为 4.3 是 4.3 - Design,我们写程序的只能简单的做一下混淆等操作。

通过一遍一遍的改动、提交审核,也是让苹果确实看到你是在改动,接下来就是看运气了。

image.png 以上是我最后一次回复,然后打了新包提交审核。经过了一天时间就上架了。总历时将近两个月。

后来提交了两个改 bug 的小版本,也很快就过审了。

image.png

祝大家好运!