如何制作危险废物标签

251 阅读3分钟

为落实《固体废物污染环境防治法》中“应设置危险废物识别标志”等规定,生态环境部制定了《HJ1276-2022危险废物识别标志设置技术规范》,该规范将于2023年7月1日起正式实施

草料二维码提供一物一码标签批量制作功能,现有标签中已新增符合相应规定要求的危险废物标签模板,使用后可以一次性生成大量危废标签,批量下载,且完全免费,还能高效的进行标签排版,打印,让危废标签快速落地。生成的标签也会存储在用户的账号下,后期可随时新增一批,补打标签。

制作方式

草料结合用户分享的经验,提供以下2种模板,可按需选择对应模板,批量制作标签。

1.已有危废管理系统,导出数据,批量制作标签

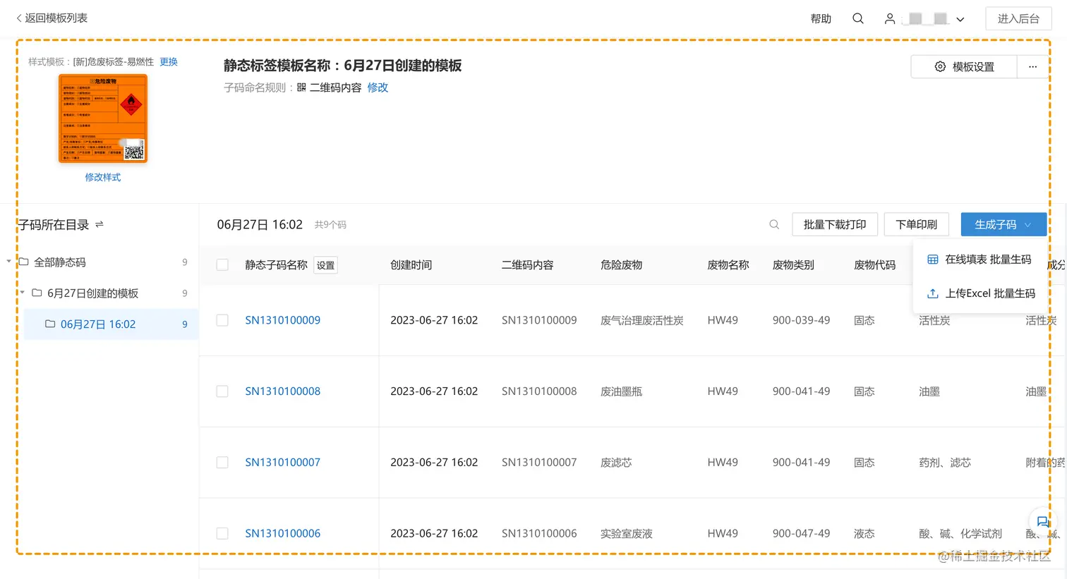
如已有危险废物管理系统,可从已有系统中,导出危险废物的基础信息excel表,包含编码内容、危废名称、类别、代码、形态等。使用草料提供的标签模板,选择批量生码,导入execl表,批量生成标签。

2.没有上述系统,使用草料搭建危废管理系统

若无现成系统,需要扫码查看危险废物相关设置基础信息,进行危险废物管理,例如出入库、危废处理流程管控等,可以在草料上组合功能和服务模块,自主搭建简单实用的危废管理系统,批量制作危废标签。

操作教程

1. 使用标签模板批量制作

在草料二维码首页点击制作标签,选择需要的标签(如危废标签-易燃性) ,选择批量生码制作方式,可通过在线表格填表或上传excel表填入数据,批量制作标签。

2.按需修改模板

标签模板的字段、颜色、图标、背景等均可修改

批量活码模板里的展示内容、样式、表单、状态等内容都支持自定义编辑,同时允许后期随时修改修改后模板下子码会同步更新,可按需调整。

3.批量下载打印

草料提供多种格式的打印文件,包括PNG、A4PDF等格式。可使用A4打印机快速打印,也可下载矢量文件交由广告公司。同时,也提供标签印刷服务,更省时省心。

在打印标签时,建议根据环境以及场景选择合适的材质。室内推荐防水不干胶、滴塑材质,若需要较耐用材质,可使用PVC硬卡、亚克力材质,防潮耐磨;若使用环境较差(如弱酸,弱腐蚀环境)或户外使用,推荐铝板、不锈钢材质,防腐蚀耐用。

4.复用模板新增,批量管理

可在模板详情页,随时复用模板,新增一批结构相同的危废标签。还可批量更新标签内容,下载补打标签,进行批量管理。