Nacos初识-微服务系列03

486 阅读10分钟

1.什么是 Nacos

官方: 一个更易于构建云原生应用的动态服务发现、服务配置和服务管理平台; 集注册中心+配置中心+服务管理平台。 Nacos 是阿里巴巴的产品,现在是 SpringCloud 中的一个组件。相比 Eureka 功能更加丰富,在国内受欢迎程度更高。 Nacos 的关键特性包括: 1.服务发现和服务健康监测 2.动态配置服务动态 DNS 服务 3.服务及其元数据管理(服务名称、地址等)

2. Nacos 注册中心

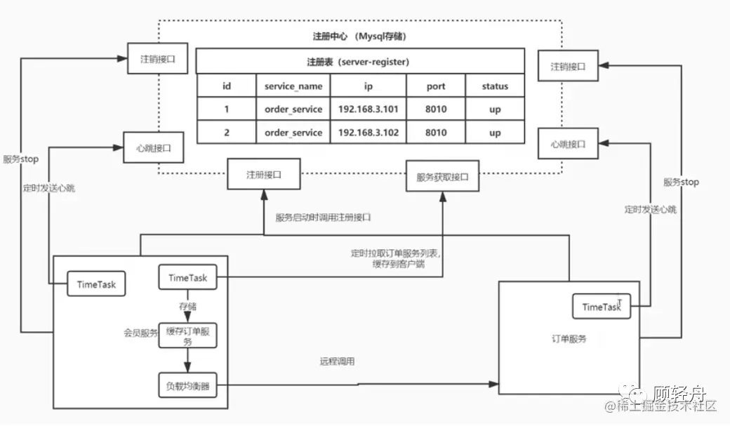
管理所有微服务、解决微服务之间调用关系错综复杂、难以维护的问题; 以下是一个 Nacos 的工作流程图: img 2.1. 核心功能 官方文档:nacos.io/zh-cn/docs/… 服务注册: Nacos Client 会通过发送 REST 请求的方式向 Nacos Server 注册自己的服务,提供自身的元数据,比如 ip 地址、端口等信息。Nacos Server 接收到注册请求后,就会把这些元数据信息存储在一个双层的内存 Map 中。 服务心跳: 在服务注册后,Nacos Client 会维护一个定时心跳来持续通知 Nacos Server,说明服务一直处于可用状态,防止被剔除。默认 5s 发送一次心跳。 服务同步: Nacos Server 集群之间会互相同步服务实例,用来保证服务信息的一致性。 leader raft 服务发现: 服务消费者(Nacos Client)在调用服务提供者的服务时,会发送一个 REST 请求给 Nacos Server,获取上面注册的服务清单,并且缓存在 Nacos Client 本地,同时会在 Nacos Client 本地开启一个定时任务定时拉取服务端最新的注册表信息更新到本地缓存 服务健康检查: Nacos Server 会开启一个定时任务用来检查注册服务实例的健康情况,对于超过 15s 没有收到客户端心跳的实例会将它的 healthy 属性置为 false(客户端服务发现时不会发现),如果某个实例超过 30 秒没有收到心跳,直接剔除该实例(被剔除的实例如果恢复发送心跳则会重新注册) img 2.2.主流的注册中心 CAP 定理: C 一致性 A 可用性 P 分区容错性,多数的分布式架构通常都会去优先保证 AP,nacos 支持 CP、AP 切换。 img

3.Nacos 安装指南

3.1.Windows 安装

3.1.1.下载安装包

在 Nacos 的 GitHub 页面,提供有下载链接,可以下载编译好的 Nacos 服务端或者源代码: GitHub 主页:github.com/alibaba/nac… GitHub 的 Release 下载页:github.com/alibaba/nac… 如图: img 目前 2.X 是 nacos 官方推荐的版本,因为我后面有时间会讲下 1.X 升级 2.X,所以本文采用 1.4.1 版本的 Nacos windows 版本使用 nacos-server-1.4.1.zip 包即可。

3.1.2.解压

将这个包解压到任意非中文目录下,如图: img 目录说明:

  • bin:启动脚本
  • conf:配置文件

3.1.3.端口配置

Nacos 的默认端口是 8848,如果你电脑上的其它进程占用了 8848 端口,请先关闭该进程。 如果无法关闭占用 8848 端口的进程,也可以进入 nacos 的 conf 目录,修改配置文件中的端口: img 修改其中的内容: img 注意:访问时记得加上/nacos,当然你也可以把这个配置给删除掉,那样就不用加了。

3.1.4.启动

启动非常简单,进入 bin 目录,结构如下: img 然后执行命令即可:

  • windows 命令:startup.cmd -m standalone 执行后的效果如图: img 这里可以看到端口为 8848 img

3.1.5.访问

在浏览器输入地址:http://127.0.0.1:8848/nacos即可,默认的账号和密码都是nacos,进入后: img

3.2.Linux 安装

Nacos 依赖于 JDK 运行,所以 Linux 上也需要安装 JDK 才行。 JDK 环境变量:

export JAVA_HOME=/usr/local/java
export PATH=$PATH:$JAVA_HOME/bin

设置环境变量: source /etc/profile

3.2.1.上传安装包

如图: img 上传到 Linux 服务器的某个目录,例如/usr/local/src 目录下: img

3.2.2.解压

命令解压缩安装包: tar -xvf nacos-server-1.4.1.tar.gz 然后删除安装包: rm -rf nacos-server-1.4.1.tar.gz 目录中最终样式: img 目录内部: img

3.2.3.端口配置

与 windows 中类似

3.2.4.启动

在 nacos/bin 目录中,输入命令启动 Nacos: sh startup.sh -m standalone

4.服务注册到 Nacos

Nacos 是 SpringCloudAlibaba 的组件,而 SpringCloudAlibaba 也遵循 SpringCloud 中定义的服务注册、服务发现规范。因此使用 Nacos 和使用 Eureka 对于微服务来说,并没有太大区别。 主要差异在于:

  • 依赖不同
  • 服务地址不同

1)引入依赖

我们可以使用上一章的 cloud-demo 工程把 eureka 替换成 nacos。 父工程的 pom 文件中的中引入 SpringCloudAlibaba 的依赖:

<dependency>
   <groupId>com.alibaba.cloud</groupId>
   <artifactId>spring-cloud-alibaba-dependencies</artifactId>
   <version>2.2.6.RELEASE</version>
   <type>pom</type>
   <scope>import</scope>
</dependency>

然后在 user-service 和 order-service 中的 pom 文件中引入 nacos-discovery 依赖:

<dependency>
   <groupId>com.alibaba.cloud</groupId>
   <artifactId>spring-cloud-starter-alibaba-nacos-discovery</artifactId>
</dependency>

注意:如果项目中引入了 eureka 的依赖,需要注释掉,不然会报错。

2)配置 nacos 地址

在 user-service 和 order-service 的 application.yml 中添加 nacos 地址:

spring:
cloud:
  nacos:
    server-addr: localhost:8848

注意:如果文件中有 eureka 的配置,需要注释掉。 img

3)重启

重启微服务后,登录 nacos 管理页面,可以看到微服务信息: img 测试访问,可以发现注册中心替换后同样是可以访问的; img

5.服务分级存储模型

Nacos 的服务分级存储模型是指在 Nacos 中,所有的服务配置信息都按照服务、分组、命名空间三个维度进行存储。 服务: 是指一组具有相同功能的服务实例的集合。 分组: 是指服务的一种划分方式。 命名空间: 是指一个逻辑隔离的独立区域,用于隔离不同应用或者租户之间的配置信息。 在 Nacos 中,配置信息可以按照这三个维度进行分类、查询和管理,以便于更好地组织和管理配置信息。 一个服务可以有多个实例,例如我们的 user-service,可以有:

  • 127.0.0.1:8081
  • 127.0.0.1:8082
  • 127.0.0.1:8083 假如这些实例分布于全国各地的不同机房(异地容灾,当一个城市的集群宕机了,其他城市依然可以提供服务),例如:
  • 127.0.0.1:8081,在上海机房
  • 127.0.0.1:8082,在上海机房
  • 127.0.0.1:8083,在杭州机房 Nacos 就将同一机房内的实例 划分为一个集群。 也就是说,user-service 是服务,一个服务可以包含多个集群,如杭州、上海,每个集群下可以有多个实例,形成分级模型,如图: img 微服务互相访问时,应该尽可能访问同集群实例,因为本地访问速度更快。当本集群内不可用时,才访问其它集群,Nacos 会对注册的不同集群做资源隔离,让它们没办法随意的跨区域调用。例如: img 杭州机房内的 order-service 应该优先访问同机房的 user-service。

5.1.1.给 user-service 配置集群

修改 user-service 的 application.yml 文件,添加集群配置:

spring:
cloud:
  nacos:
    server-addr: localhost:8848
    discovery:
      cluster-name: SZ # 集群名称 深圳

idea 启动两个 user-service 实例后,我们可以在 nacos 控制台看到下面效果: img 我们再次复制一个 user-service 实例启动配置,配置其集群为 SZ,添加属性: -Dserver.port=8084 -Dspring.cloud.nacos.discovery.cluster-name=SZ 配置如图所示: img 启动 UserApplication2 后再次查看 nacos 控制台,就可以看到三个实例分别从属不同的两个集群。 img

5.3.2.同集群优先的负载均衡

默认的 ZoneAvoidanceRule 并不能实现根据同集群优先来实现负载均衡。 因此 Nacos 中提供了一个 NacosRule 的实现,可以优先从同集群中挑选实例。

1)给 order-service 配置集群信息

修改 order-service 的 application.yml 文件,添加集群配置:

spring:
cloud:
  nacos:
    server-addr: localhost:8848
    discovery:
      cluster-name: SZ # 集群名称

2)修改负载均衡规则

修改 order-service 的 application.yml 文件,添加 Nacos 提供的负载均衡规则: user-service: ribbon: NFLoadBalancerRuleClassName: com.alibaba.cloud.nacos.ribbon.NacosRule # 负载均衡规则 order-service 配置的是 SZ 集群,通过测试发现,他只会去访问集群为 SZ 的服务。 img img img 关掉 SZ 集群的两个实例,发现这时的请求才会跨集群访问: img 哪怕 SZ 集群只有一个实例存活,他都不会跨集群访问,这个可以自行测试。

6.权重配置

实际部署中会出现这样的场景: 服务器设备性能有差异,部分实例所在机器性能较好,另一些较差,我们希望性能好的机器承担更多的用户请求。 但默认情况下 NacosRule 是同集群内随机挑选,不会考虑机器的性能问题。 因此,Nacos 提供了权重配置来控制访问频率,权重越大则访问频率越高。 在 nacos 控制台,找到 user-service 的实例列表,点击编辑,即可修改权重: img 如果权重修改为 0,则该实例永远不会被访问,也就是说,nacos 是可以支持项目进行不停服更新的,当要对实例进行更新时,我们可以将其权重设置为 0,升级完成再设置为 1,另一个要升级的设置为 0,当两个都升级完成再将各实例的权重改回。

7.环境隔离

img Nacos 提供了 namespace 来实现环境隔离功能。

  • nacos 中可以有多个 namespace
  • namespace 下可以有 group、service 等
  • 不同 namespace 之间相互隔离,例如不同 namespace 的服务互相不可见
  • 不同的 group 也相互隔离,但这个正常情况下比较少用到,因为一个项目里不同微服务实例都会相互访问。 如下图,一个 nacos 里有两个 namespace,一个 namespace 对应一个项目,这样就算项目一和项目二有服务名称相同的实例,调用也不会出错,因为项目一和项目二所在的 namespace 彼此是隔离开的。 img

7.1.1.创建 namespace

默认情况下,所有 service、data、group 都在同一个 namespace,名为 public: img 我们可以点击页面新建命名空间按钮,添加一个 namespace,填写表单: img 就能在页面看到新增的 namespace: img

7.1.2.给微服务配置 namespace

给微服务配置 namespace 只能通过修改配置来实现。 例如,修改 order-service 的 application.yml 文件:

spring:
cloud:
  nacos:
    server-addr: localhost:8848
    discovery:
      cluster-name: HZ
      namespace: 492a7d5d-237b-46a1-a99a-fa8e98e4b0f9 # 命名空间,填ID

img 重启 order-service 后,访问控制台,可以看到下面的结果: img 此时访问 order-service,因为 namespace 不同,会导致找不到 userservice,控制台会报错: img 修改 user-service namespace 与 order-service 相同 img img 重启 user-service 再次访问: img

8.Nacos 与 Eureka 的区别

Nacos 的服务实例分为两种类型:

  • 临时实例:如果实例宕机超过一定时间,会从服务列表剔除,默认的类型。
  • 非临时实例:如果实例宕机,不会从服务列表剔除,也可以叫永久实例。 配置一个服务实例为永久实例:
spring:
cloud:
  nacos:
    discovery:
      ephemeral: false # 设置为非临时实例

Nacos 和 Eureka 整体结构类似,服务注册、服务拉取、心跳等待,但是也存在一些差异: img

  • Nacos 与 eureka 的共同点
    • 都支持服务注册和服务拉取
    • 都支持服务提供者心跳方式做健康检测
  • Nacos 与 Eureka 的区别
    • Nacos 支持服务端主动检测提供者状态:临时实例采用心跳模式,非临时实例采用主动检测模式
    • 临时实例心跳不正常会被剔除,非临时实例则不会被剔除
    • Nacos 支持服务列表变更的消息推送模式,服务列表更新更及时,而 eureka 则一直是客户端主动去服务端拉取
    • Nacos 集群默认采用 AP 方式,当集群中存在非临时实例时,采用 CP 模式;Eureka 采用 AP 方式

今天的分享就到这里, 喜欢的记得一键三连~ 关注不迷路~~