更加精准的根据UA识别设备信息方案

775 阅读2分钟

背景

我司新开发了一款App,在windows系统上,App有32位和64两种版本,产品经理希望用户在产品官网下载App时,识别出系统版本,自动下载对应版本的app。也就是需要在网页中识别出cpu架构:64bit还是32bit,并且兼容到ie8。

思路

主流浏览器都提供了navigator.userAgent属性,也就是ua,我们可以从这个属性中得到设备相关信息。在用户下载时直接下载对应版本的App。但是ua是可以伪造的,而且我们也无法保证从ua中得到的信息就是完全正确的,我们永远不知道用户有什么奇奇怪怪的浏览器,所以仍然建议提供一个入口,能够下载全部版本的App。

实现

在github上搜索了一番,看了看star数比较高的几个库

  1. github.com/faisalman/u…
  2. github.com/bestiejs/pl…

实现思路基本一致,定义枚举值,然后根据ua进行字符串匹配,参照Detect 64-bit or 32-bit Windows from User Agent or Javascript?回答的内容,简单的实现代码如下:

function get_bits_system_architecture() {
  var _64bits_signatures = ["x86_64", "x86-64", "Win64", "x64;", "amd64", "AMD64", "WOW64", "x64_64", "ia64", "sparc64", "ppc64", "IRIX64"];
  var _bits = 32, _i;
  for (_i = 0; _i < _64bits_signatures.length; _i++) {
    if (userAgent.indexOf(_64bits_signatures[_i]) != -1) {
      _bits = 64;
      break;
    }
  }
  return _bits;
}

以上代码存在的问题

在win7 32位 chrome浏览器中运行上述代码,得到的bit数是64。 很神奇是不是,我又在看了一下win7 32位 chrome的ua,Mozilla/5.0 (Windows NT 10.0; Win64; x64) AppleWebKit/537.36 (KHTML, like Gecko) Chrome/109.0.0.0 Safari/537.36,根据上文的代码,得到的结果是win10 x64...这样会导致用户下载错误的包。

经过一番资料查找,我发现新版chrome支持的最低版本是win10,win7只能使用chrome 109及以下的版本,也许是这个原因, 直接通过ua判断得到的结果是错误的。

解决方法

根据微软帮助文档,我们看到了如下代码:

navigator.userAgentData.getHighEntropyValues(["architecture", "bitness"])
 .then(ua => {
   if (navigator.userAgentData.platform === "Windows") {
     if (ua.architecture === 'x86') {
       if (ua.bitness === '64') {
         console.log("x86_64");
       }
       else if (ua.bitness === '32') {
         console.log("x86");
       }
     }
     else if (ua.architecture === 'arm') {
       if (ua.bitness === '64') {
         console.log("ARM64");
       }
       else if (ua.bitness === '32') {
         console.log("ARM32");
       }
     }
   }
   else {
     console.log("Not running on Windows");
   }
 });

navigator中有一个useragentData属性,可以根据getHighEntropyValues方法得到cpu的架构信息。我们再去看一下chrome下的兼容性

chrome 4 - 89不支持。

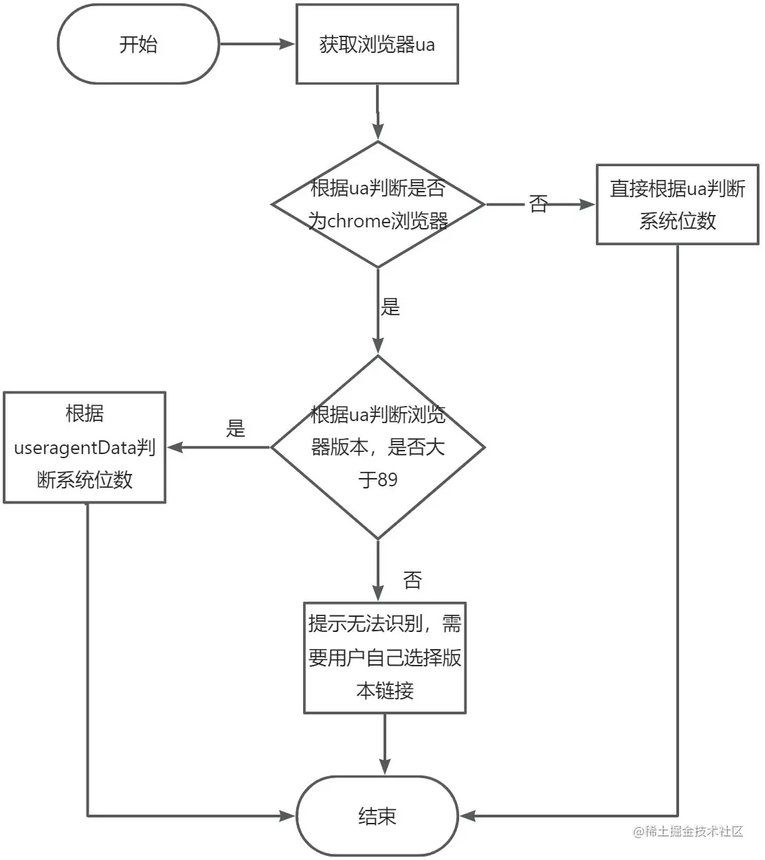
终极方案

根据以上的信息我们可以得到一个综合的方案:

注意!!

  1. 是否为chrome浏览器、浏览器版本、ua识别都可以通过ua-parser-js得到
  2. Promise代码在低版本ie中运行时,需要引入polyfill
  3. 本方案得到的结果不一定完全准确