阿里云ECS免费搭建WordPress个人博客网站

926 阅读3分钟

我正在参加「掘金·启航计划」

前期准备工作

我是在阿里云免费领取的三个月云服务器ECS1核2GB版本,免费领取地址:click.aliyun.com/m/100037169…

在这里插入图片描述 注意:试用的时候预装应用记得选择WordPress。

在这里插入图片描述 然后进入到我们的控制台,点击远程链接,连接时需要输入密码,不记得密码的小伙伴可以重置一下密码,然后再登录。

在这里插入图片描述 登录上之后就是这样。

在这里插入图片描述 然后我们可以输入命令

cat /root/ReadMe

获取到 WordPress admin password,其他的也可以先记一下,这个等会登录WordPress后台要用到的。

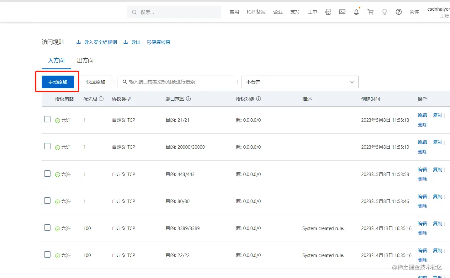
安全组配置规则

然后回到我们控制台,点击安全组,配置规则

在这里插入图片描述

我们需要放行安全组端口(80、443、21、20000~30000),点击手动添加

在这里插入图片描述 然后在目的中选择80,源中选择0.0.0.0/0,点击保存即可,其他几个端口也是一样的步骤。

在这里插入图片描述

访问WordPress默认网站主题

全部都放行之后我们就可以通过浏览器访问服务器公网 IP 来访问WordPress的默认主题网站,如下:

http://< 公网 IP >

在这里插入图片描述

访问WordPress网站后台

然后我们访问网站后台 http://< 公网 IP >/wp-admin 默认用户名是admin,密码就是上面我让大家保存的 WordPress admin password,登录后会是下面这个样子。

在这里插入图片描述

我们可以在外观主题中找一款自己喜欢的模板

在这里插入图片描述

我选的是 ColorPress

在这里插入图片描述

域名解析

如果有自己的域名,我们可以将此ip解析一下,绑定域名。这里我给大家演示一下如何绑定域名,首先来到域名解析的管理后台,点击 haiyong.site。

在这里插入图片描述

这里记录类型就默认选择A,主机记录,也就是域名的前缀,例如我这里用的是blog,访问 blog.haiyong.site 即可看到我们创建的网站 在这里插入图片描述

站点基本设置

接下来教大家如何优化博客,首先点击设置,常规中我们可以先修改一下站点标题、副标题、WordPress地址、站点地址(URL)和管理员电子邮箱地址。

在这里插入图片描述

发布文章

其实很简单,在文章一栏点击写文章

在这里插入图片描述 可以添加分类和标签,编辑好内容点击发布即可

在这里插入图片描述

修改链接格式

第一篇文章就发布完成了,这个链接里带着汉字,也不符合我们的习惯,这里我们可以在后台的设置-固定链接中修改。

在这里插入图片描述 我选择的是自定义结构,/%post_id%/,现在链接看起来简洁多了:blog.haiyong.site/6/

在这里插入图片描述

在外观-菜单中可以编辑菜单,分类/页面/文章/自定义链接都可以放在菜单中。

在这里插入图片描述 编辑好之后就可以看到啦。

在这里插入图片描述

到这里我们就完成了一个基本的个人博客网站,还有可以不断优化,慢慢完善的地方,这里我给大家分享另一个我搭建的WordPress个人博客站点:code.haiyong.site/

在这里插入图片描述

采用的是子比主题,功能挺全,也优化了几个月了,目前运行良好。有什么问题也欢迎大家在评论区提出或者私信我。