MySQL基础篇补充 | 单行函数(数值函数、字符串函数、日期函数、流程控制函数、加密与解密函数、MySQL信息函数)

131 阅读10分钟

目录

一:单行函数

 1. 数值函数

(1)基本函数

(2)角度与弧度互换函数

 

(3)三角函数

(4)指数与对数

(5)进制间的转换

2. 字符串函数

3. 日期和时间函数

(1)获取日期、时间

(2)日期与时间戳的转换

(3) 获取月份、星期、星期数、天数等函数

(4)日期的操作函数

(5)时间和秒钟转换的函数

(6)计算日期和时间的函数 

(7)日期的格式化与解析

4. 流程控制函数

5. 加密与解密函数

6. MySQL信息函数

7. 其他函数


一:单行函数

        我们在使用 SQL 语言的时候,不是直接和这门语言打交道,而是通过它使用不同的数据库软件,即DBMS。DBMS 之间的差异性很大,远大于同一个语言不同版本之间的差异。实际上,只有很少的函数是 被 DBMS 同时支持的。比如,大多数 DBMS 使用(||)或者(+)来做拼接符,而在 MySQL 中的字符串拼 接函数为concat()。大部分 DBMS 会有自己特定的函数,这就意味着采用 SQL 函数的代码可移植性是很 差的,因此在使用函数的时候需要特别注意。

        MySQL提供的内置函数从 实现的功能角度 可以分为数值函数、字符串函数、日期和时间函数、流程控制 函数、加密与解密函数、获取MySQL信息函数、聚合函数等。这里,我将这些丰富的内置函数再分为两类: 单行函数聚合函数(或分组函数)

两种SQL函数

​编辑

单行函数

①操作数据对象; 

②接受参数返回一个结果;

③只对一行进行变换; 

④每行返回一个结果;

⑤可以嵌套;

⑥参数可以是一列或一个值;

 1. 数值函数

(1)基本函数

①第一组

​编辑

测试:

SELECT 
ABS(-123),ABS(32),SIGN(-23),SIGN(43),PI(),CEIL(32.32),CEILING(-43.23),FLOOR(32.32),FLOOR(-43.23),MOD(12,5)
FROM DUAL;

执行结果:

​编辑

②第二组 ​编辑

测试: 

SELECT RAND(),RAND(),RAND(10),RAND(10),RAND(-1),RAND(-1)
FROM DUAL;

执行结果:

​编辑

③第三组

​编辑

测试: 

SELECT 
ROUND(12.33),ROUND(12.343,2),ROUND(12.324,-1),TRUNCATE(12.66,1),TRUNCATE(12.66,-1),SQRT(2)
FROM DUAL;

执行结果: 

​编辑

(2)角度与弧度互换函数

​编辑

 测试:

SELECT RADIANS(30),RADIANS(60),RADIANS(90),DEGREES(2*PI()),DEGREES(RADIANS(90))
FROM DUAL;

执行结果: 

​编辑

(3)三角函数

​编辑

测试: 

SELECT 
SIN(RADIANS(30)),DEGREES(ASIN(1)),TAN(RADIANS(45)),DEGREES(ATAN(1))
FROM DUAL;

执行结果:

​编辑

(4)指数与对数

​编辑

测试:

SELECT POW(2,5),POWER(2,4),EXP(2),LN(10),LOG10(10),LOG2(4)
FROM DUAL;

执行结果: ​编辑

​编辑

(5)进制间的转换

​编辑

测试:

SELECT BIN(10),HEX(10),OCT(10),CONV(10,2,8)
FROM DUAL;

执行结果:

​编辑

2. 字符串函数

注意:MySQL中,字符串的位置是从1开始的。

①第一组

​编辑

测试:ASCII、CHAR_LENGTH、LENGTH

SELECT ASCII('Abcdfsf'),CHAR_LENGTH('hello'),CHAR_LENGTH('我们'),
LENGTH('hello'),LENGTH('我们')
FROM DUAL;

执行结果:

​编辑

测试:CONCAT、CONCAT_WS

SELECT CONCAT(e1.ename,' worked for ',e2.ename)
FROM emp e1
JOIN emp e2
ON e1.mgr = e2.empno;

SELECT CONCAT_WS('-','hello','world','hello','beijing')
FROM DUAL;

执行结果:

​编辑

​编辑

测试:INSERT、REPLACE

SELECT INSERT('helloworld',2,3,'aaaaa'),REPLACE('hello','ll','mm')
FROM DUAL;

执行结果:

​编辑

测试: UPPER、LOWER

SELECT UPPER('HelLo'),LOWER('HelLo')
FROM DUAL;

执行结果:

​编辑

测试:LEFT、RIGHT

SELECT LEFT('hello',2),RIGHT('hello',3),RIGHT('hello',13)
FROM DUAL;

执行结果:

​编辑

测试:LPAD(实现左对齐)、RPAD(实现右对齐);小数点也算一位

SELECT ename,LPAD(sal,8,'*')
FROM emp;

执行结果:

​编辑

②第二组

​编辑

测试:LTRIM、RTRIM

select concat('--->',LTrim('  123   '),'<---'),concat('--->',RTrim('  123   '),'<---')
from dual;

执行结果:

​编辑

测试:TRIM

SELECT CONCAT('--->',TRIM('  123   '),'<---')
FROM DUAL;

SELECT CONCAT('--->',TRIM( 'a' FROM 'aabbcca'),'<---')
FROM DUAL;

SELECT CONCAT('--->',TRIM(LEADING 'a' FROM 'aabbcca'),'<---'),CONCAT('--->',TRIM(TRAILING 'a' FROM 'aabbcca'),'<---')
FROM DUAL;

 执行结果:

​编辑

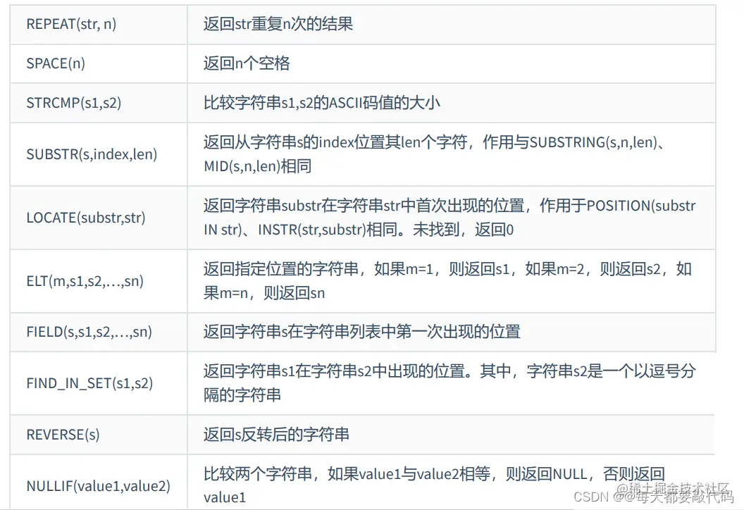
③第三组

​编辑

测试:REPEAT、SPACE、STRCMP

SELECT REPEAT('hello',4),CONCAT(1,SPACE(5),2),STRCMP('abc','abe')
FROM DUAL;

执行结果:

​编辑

测试:SUBSTR、LOCATE

SELECT SUBSTR('hello',2,2),LOCATE('ll','hello')
FROM DUAL;

执行结果:

​编辑

测试:ELT、FIFLD、FIND_IN_SET

SELECT ELT(2,'a','b','c','d'),FIELD('mm','gg','jj','mm','dd','mm'),
FIND_IN_SET('mm','gg,mm,jj,dd,mm,gg')
FROM DUAL;

执行结果:

​编辑

测试:REVERSE、NULLIF

SELECT REVERSE("abcd") 
FROM DUAL;

SELECT empno,NULLIF(LENGTH(ename),LENGTH(job)) 'compare'
FROM emp;

执行结果: 

​编辑

3. 日期和时间函数

(1)获取日期、时间

​编辑

测试:

select curdate(),curTime(),now(),utc_date(),utc_time()
from dual;

执行结果:

​编辑

(2)日期与时间戳的转换

​编辑

测试: 

SELECT UNIX_TIMESTAMP(),UNIX_TIMESTAMP(NOW()),UNIX_TIMESTAMP('1999-01-01'),FROM_UNIXTIME(UNIX_TIMESTAMP(NOW()))
FROM DUAL;

执行结果:

​编辑

(3) 获取月份、星期、星期数、天数等函数

​编辑

测试: 

SELECT YEAR(CURDATE()),MONTH(CURDATE()),DAY(CURDATE()),
HOUR(CURTIME()),MINUTE(NOW()),SECOND(SYSDATE())
FROM DUAL;

执行结果: 

​编辑

测试: 

SELECT MONTHNAME('2021-10-26'),DAYNAME('2021-10-26'),WEEKDAY('2021-10-26'),
QUARTER(CURDATE()),WEEK(CURDATE()),DAYOFYEAR(NOW()),
DAYOFMONTH(NOW()),DAYOFWEEK(NOW())
FROM DUAL;

执行结果: 

​编辑

(4)日期的操作函数

​编辑

XTRACT(type FROM date)函数中type的取值与含义:

​编辑测试: 

SELECT EXTRACT(MINUTE FROM NOW()),EXTRACT( WEEK FROM NOW()),
EXTRACT( QUARTER FROM NOW()),EXTRACT( MINUTE_SECOND FROM NOW())
FROM DUAL;

执行结果: 

​编辑

(5)时间和秒钟转换的函数

​编辑

测试:

select time_to_sec(now()),sec_to_time(TIME_TO_SEC(NOW()))
from dual;

执行结果:

​编辑

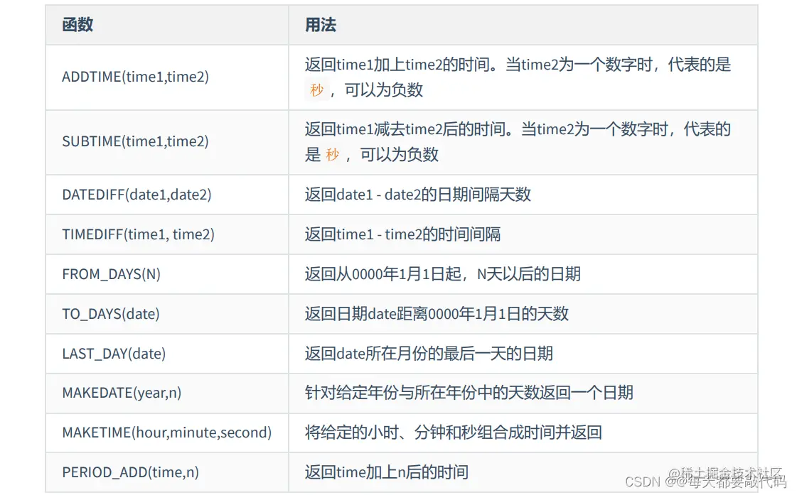
(6)计算日期和时间的函数 

第1组:

 以下两个函数记住一个就行,使用DATE_ADD的INTERVAL值设置为负数就能达到DATE_SUB的效果!

​编辑

上述函数中type的取值:

​编辑

测试:

SELECT DATE_ADD(NOW(), INTERVAL 1 DAY) AS col1,DATE_ADD('2021-10-21 23:32:12',INTERVAL 
1 SECOND) AS col2,
ADDDATE('2021-10-21 23:32:12',INTERVAL 1 SECOND) AS col3,
DATE_ADD('2021-10-21 23:32:12',INTERVAL '1_1' MINUTE_SECOND) AS col4,
DATE_ADD(NOW(), INTERVAL -1 YEAR) AS col5, #可以是负数
DATE_ADD(NOW(), INTERVAL '1_1' YEAR_MONTH) AS col6 #需要单引号
FROM DUAL;

执行结果:

​编辑

第2组:

​编辑

测试:

SELECT ADDTIME(NOW(),20),SUBTIME(NOW(),30),SUBTIME(NOW(),'1:1:3'),DATEDIFF(NOW(),'2021-10-01'),
TIMEDIFF(NOW(),'2021-10-25 22:10:10'),FROM_DAYS(366),TO_DAYS('0000-12-25'),
LAST_DAY(NOW()),MAKEDATE(YEAR(NOW()),12),MAKETIME(10,21,23),PERIOD_ADD(20200101010101,10)
FROM DUAL;

执行结果:

​编辑

(7)日期的格式化与解析

​编辑

上述 非GET_FORMAT 函数中fmt参数常用的格式符:

​编辑GET_FORMAT函数(相当于DATE_FORMAT的提升版)中date_type和format_type参数取值如下:

​编辑

格式化:日期 ---> 字符串

SELECT DATE_FORMAT(CURDATE(),'%Y-%M-%D'),
DATE_FORMAT(NOW(),'%Y-%m-%d'),TIME_FORMAT(CURTIME(),'%h:%i:%S'),
DATE_FORMAT(NOW(),'%Y-%M-%D %h:%i:%S %W %w %T %r')
FROM DUAL;

执行结果:

​编辑

解析:字符串 ----> 日期

SELECT STR_TO_DATE('2021-October-25th 11:37:30 Monday 1','%Y-%M-%D %h:%i:%S %W %w')
FROM DUAL;

执行结果:

​编辑

测试:ET_FORMAT、DATE_FORMAT

SELECT GET_FORMAT(DATE,'USA')
FROM DUAL;

SELECT DATE_FORMAT(CURDATE(),GET_FORMAT(DATE,'USA'))
FROM DUAL;

 执行结果:

​编辑

4. 流程控制函数

流程处理函数可以根据不同的条件,执行不同的处理流程,可以在SQL语句中实现不同的条件选择。MySQL中的流程处理函数主要包括IF()、IFNULL()和CASE()函数。

​编辑

测试:if

# 判断工资
SELECT ename,IF(sal >= 3000,'高工资','低工资') "details"
FROM emp;
# comm为null就转换成0
SELECT ename,(sal+IF(comm IS NOT NULL,comm,0))*12 AS yearSal
FROM emp;

执行结果:

​编辑

​编辑

测试:ifnull实际上是if的一种特殊情况

# 使用if
SELECT ename,(sal+IF(comm IS NOT NULL,comm,0))*12 AS yearSal
FROM emp;

#使用ifnull
SELECT ename,(sal+IFNULL(comm,0))*12 AS yearSal
FROM emp;

执行结果:

​编辑

测试:CASE WHEN ... THEN ...WHEN ... THEN ... ELSE ... END

SELECT empno,ename,sal,CASE WHEN sal >=5000 THEN '老板'
			WHEN sal >=3000 THEN '潜力股'
			WHEN sal >=1000 THEN '小屌丝'
			ELSE '草根' -- 可以没有else
			END AS 'detail'
FROM emp;

执行结果:

​编辑

测试:CASE.....WHEN ... THEN ...WHEN ... THEN ... ELSE ... END

需求:查询部门号为 10,20, 30 的员工信息, 若部门号为 10, 则打印其工资的 1.1 倍, 20 号部门, 则打印其 工资的 1.2 倍, 30 号部门打印其工资的 1.3 倍数。

SELECT empno,ename,sal,deptno,CASE deptno WHEN 10 THEN sal*1.1
					WHEN 20 THEN sal*1.2
					WHEN 30 THEN sal*1.3
					END AS 'detail'
FROM emp
WHERE deptno IN (10,20,30);

执行结果:

​编辑

5. 加密与解密函数

加密与解密函数主要用于对数据库中的数据进行加密和解密处理,以防止数据被他人窃取。这些函数在 保证数据库安全时非常有用。

​编辑

注: 以上的PASSWORD、MD5、SHA加密方式都是不可逆的,其中PASSWORD在MySQL8中已经被弃用了!

SELECT MD5('zhang'),SHA('zhang')
FROM DUAL;

执行结果:

​编辑

注:以上的ENCODE的加密方式是可逆的,实际上和DECODE是一对,ENCODE负责加密、DECODE负责解密。但是MySQL8.0也已经弃用了!

# MySQL8已经弃用,第二个参数'mysql'相当于某个加密的种子(或者说加密的方式)
SELECT ENCODE('atguigu','mysql'),DECODE(ENCODE('atguigu','mysql'),'mysql')
FROM DUAL;

6. MySQL信息函数

MySQL中内置了一些可以查询MySQL信息的函数,这些函数主要用于帮助数据库开发或运维人员更好地 对数据库进行维护工作。

​编辑

测试:

SELECT VERSION(),CONNECTION_ID(),DATABASE(),
USER(),CHARSET('hello'),COLLATION('hello')
FROM DUAL

执行结果: 

​编辑

7. 其他函数

MySQL中有些函数无法对其进行具体的分类,但是这些函数在MySQL的开发和运维过程中也是不容忽视的。

​编辑

测试:FORMAT,如果n的值小于或者等于0,则只保留整数部分

fromat也是四舍五入的和round作用很相似;但是当是负数时,对于round会继续四舍五入,到那时format不会,当n的值小等于于0时,只保留整数部分!

SELECT FORMAT(123.125,2),FORMAT(123.125,-2),ROUND(123.125,-2)
FROM DUAL;

执行结果:

​编辑

测试:ONV,实现进制之间的转换

SELECT CONV(16, 10, 2), CONV(8888,10,16), CONV(NULL, 10, 2)
FROM DUAL;

执行结果:

​编辑

测试:INET_ATON、INET_NTOA

INET_ATON是将一个IP转换成一个数字,采用的算法是以“192.168.1.100”为例,计算方式为192乘以256的3次方,加上168乘以256的2次方,加上1乘以256,再加上100。INET_NTOA是将这个数字再转换成IP

SELECT INET_ATON('192.168.1.100'),INET_NTOA(3232235876)
FROM DUAL;

执行结果:

​编辑

测试:ENCHMARK、用于测试表达式的执行效率

SELECT BENCHMARK(100000,MD5('mysql'))
FROM DUAL;

执行结果:

​编辑

测试:CONVERT、可以实现字符集的转换

SELECT CHARSET('hello'),CHARSET(CONVERT('hello' USING 'gbk'))
FROM DUAL;

执行结果:

​编辑