KgCaptcha 语序识别验证码请求日志记录

93 阅读1分钟

前言

请求日志记录是一个非常普遍的功能,几乎可以涉及到所有的项目。所以一个方便使用的日志记录,将会方便日后的管理,于是我通过使用 KgCaptcha 在我的验证码项目中实现。

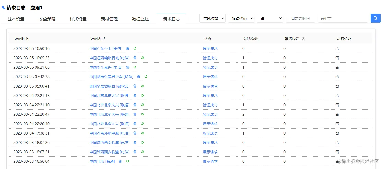
基本显示

表格记录的字段,分别有访问时间、访问者ip、访问状态、尝试次数、错误代码、是否开启无感验证。

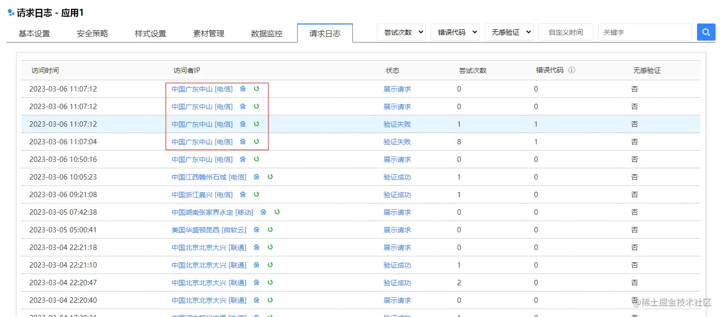
更新IP

通过实现点击指定ip后面的刷新按钮,即可查询更新ip及对应归属地。

更新后:

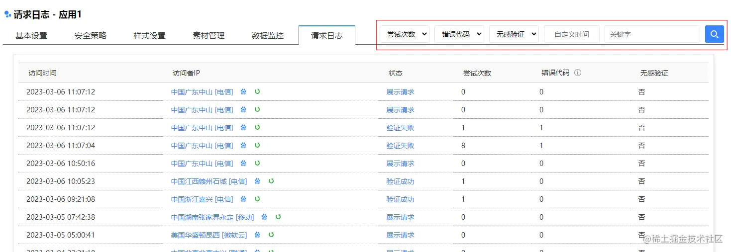
自定义筛选

右上角可以通过尝试次数、错误代码、是否开启无感验证、时间段对记录进行筛选。

尝试次数

访问者验证码验证次数,默认连续3次失败,自动切换到下一个。

错误代码

可以在下方开发文档链接中查看更详细的错误代码及对应信息。

无感验证

开启:当用户通过验证后,再次访问时,无需验证,直接通过。

关闭:用户每次都需手动验证。

自定义时间

指定查看某时间段,验证码的访问情况。

===============================================================================================================================

相关链接

SDK下载:https://github.com/KgCaptcha

在线体验:https://www.kgcaptcha.com/demo/