m基于BP神经网络的房屋价值变换趋势预测matlab仿真

151 阅读5分钟

1.算法描述

      住宅价格是住宅市场的核心,住宅市场的变化关系到广大消费者的切身利益,商品房价格是升是降,销售是冷是旺,是社会关注的热点问题。因此,从不同角度来看,对商品住宅价格的研究都存在着重要的理论与现实意义。商品住宅价格的变化受市场供求、人口、居民收入水平、经济政策等诸多因素的影响,其随时间变动的过程具有很大的不确定性,为较全面地刻画各方面对住房价格的影响,以把握未来住房价格的变动趋势,将通过神经元网络理论的预测方法,延伸应用于商品住宅价格的研究,对住宅价格进行科学的预测。

 

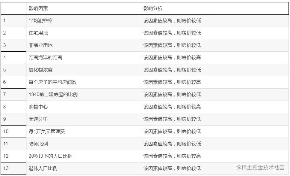
房屋的价格的决定因素如下表所示:

 

1.png

 

        神经网络主要由处理单元、网络拓扑结构、训练规则组成。处理单元是神经网络的基本操作单元,用以模拟人脑神经元的功能。一个处理单元有多个输入、输出,输入端模拟脑神经的树突功能,起信息传递作用;输出端模拟脑神经的轴突功能,将处理后的信息传给下一个处理单元,如图1.1所示。

 

2.png

 

基本的神经处理单元其等效于人体的神经元,如图2所示,

 

 3.png=>

4.png

 

图3 神经元和神经处理单元的对比

 

      具有相同功能的处理单元构成处理层。常用的多层感知机由输入层、输出层和若干隐含层组成,神经网络的拓扑结构决定了各处理单元、各层之间信息的传递方式与途径。训练规则利用转换函数进行数据处理的加权及求和,训练网络系统进行模式识别,并将其转换成潜在的输出值。神经网络的基本出发点,就是通过简单函数的多次迭代,实现对复杂映射的拟合和逼近。神经网络能够实现一对一、一对多的映射关系。因此,许多实际问题都可以用神经网络模型来解决。

 

       神经网络的工作过程主要由两个阶段组成,一个阶段是学习期,即训练阶段,此时连接权值可调整,另一个阶段就是工作期,此时,其各个权值固定。

 

       在学习阶段,训练集中已知类别的输入向量将随机输入给神经网络,每次的输入使得PE之间的连接权重根据一种固定的学习规则得到细致的调整,使得网络的输出向正确的方向转变。随着训练过程的推进,网络的性能得到的改善,直到网络中每一个PE都收敛到合适的权重为止。

 

       在神经网络的学习阶段,当网络做出错误的判决的时候,那么通过神经网络的学习,应使得网络减少下次犯同样错误的可能性,通常情况下,系统将会给网络一个随机的权值,然后将信号输入到神经网络,网络将输入的模式进行加权求和、并与门限进行比较,然后进行非线性运算从而得到网络的输出。这个时候系统输出正确和错误的概率是相同的,那么这个时候,系统将正确的输出结果的连接权值增大,从而使下次输入同一个信号的时候,得到正确的输出结果。

 

       通常情况下,按这种方法学习几次后,神经网络将判断的正确率大大提高,一般来说,网络中所含的神经元个数就越多,那么它能够记忆和识别的模式也越多。

 

       当训练结束进入工作期时,权重系数保持不变,此外神经网络的输入是未知类别的向量,输入的信息经过神经元层层传播,最后在输出层上产生输出向量,根据此输出向量可以将对象划分到某一类中,从而实现对象的模式识别。

 

以上就是神经网络的基本工作过程。

 

2.仿真效果预览

matlab2022a仿真结果如下:

 

5.png

6.png

7.png

8.png

9.png

10.png

11.png  

3.MATLAB核心程序 `%% Parameters initialization

%load data

load data\housing_data.mat

%Display the original data

figure;

subplot(4,4,1);plot(x(1,:));title('Per capita crime rate per town');

subplot(4,4,2);plot(x(2,:));title('Proportion of residential land zoned for lots over 500m2');

subplot(4,4,3);plot(x(3,:));title('Proportion of non-retail business acres per town');

subplot(4,4,4);plot(x(4,:));title('1 within 1km from the sea, 0 otherwise');

subplot(4,4,5);plot(x(5,:));title('Nitric oxides concentration (parts per 10 million)');

subplot(4,4,6);plot(x(6,:));title('Average number of rooms per dwelling');

subplot(4,4,7);plot(x(7,:));title('Proportion of owner-occupied units built prior to 1940');

subplot(4,4,8);plot(x(8,:));title('Weighted distances to a main shopping center');

subplot(4,4,9);plot(x(9,:));title('Index of accessibility to motorways');

subplot(4,4,10);plot(x(10,:));title('Full-value of council rate per $10,000');

subplot(4,4,11);plot(x(11,:));title('Pupil-teacher ratio by town');

subplot(4,4,12);plot(x(12,:));title('Population below the age of 20');

subplot(4,4,13);plot(x(13,:));title('Percentage of retirees');

figure;

plot(10000*t,'r');title('PRICE');grid on

 

%% Select multiple data,train neural network

%step1:parameter

net                   = fitnet(10);

net.trainParam.epcohs = 1000;%train times

net.trainParam.goal   = 0.0001;%aim error

%step2:train

net                   = train(net,x,t);

 

%% By using the neural network to predict the price of houses

view(net);

y1 = net(x);%predict

%% Shows the result

figure;

subplot(221);plot(t);

title('Original price');axis([0,length(t),0,max(t)]);

subplot(222);plot(y1);

title('Predict prices ');axis([0,length(y1),0,max(y1)]);

subplot(223);plot(y1);hold on;plot(t,'r');hold off;

legend('Predict prices','Original price');

title('Predict prices');axis([0,length(y1),0,max(y1)]);

subplot(224);plot(y1 - t,'k');

title('Prediction error ');

05_003_m`