把node和数据库部署到服务器

94 阅读1分钟

image.png

1.客户端

vue /api/goods--->修改vue.config.js

module.exports = {
  devServer: {
    proxy: {
      "/api": {
        // target: "https://www.liulongbin.top:8888/api/private/v1",
        target: "http://localhost:8888/api/private/v1",
        changeOrigin: true,
        pathRewrite: {
          "^/api": "",
        },
      },
    },
  },
};

运行客户端

npm run serve

2.node运行

  • 运行命令: node app.js
  • 链接数据库

​ /config/default.json

{
。。。。
	"db_config" : {
		"protocol" : "mysql",
		"host" : "127.0.0.1",
		"database" : "mydb",
		"user" : "root",
		"password" : "123456",
		"port" : 3306
	}
}

3.数据库

  • 工具:phpStudy --->mysql 服务跑起来

image.png

2.navicat操作

2.1 创建链接

设置数据库账号密码

image.png navicat链接数据库

image.png

导入数据表和数据

image.png

1.添加一个数据库

image.png

image.png

2.将数据库文件导入到宝塔的数据库中

点击导入选择所需的压缩包上传 image.png 文件上传完成后在导入到数据库 image.png

3.将node文件压缩上传到宝塔(下图的目录)

image.png

4.点击网站添加node项目(如下图所示)

image.png

5.点击根目录修改用户名 /node_api/config/default.json

用户名为添加数据库时的用户名 image.png

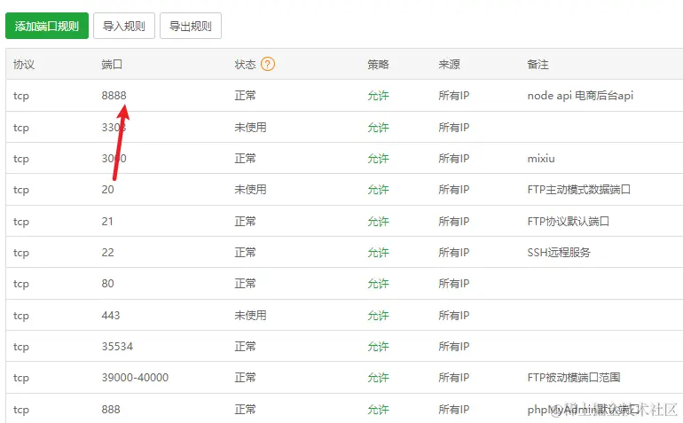
6检查app.js和配置的端口号是否相同,系统防火墙是否添加了这个端口

image.png

image.png

  • 查看系统防火墙是否添加了这个端口 image.png