m基于FH-GFSK信号的盲解调matlab仿真

255 阅读3分钟

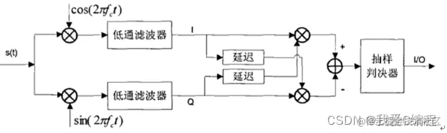
1.算法描述

       GFSK 高斯频移键控调制是把输入数据经高斯低通滤波器预调制滤波后,再进行FSK调制的数字调制方式。它在保持恒定幅度的同时,能够通过改变高斯低通滤波器的3dB带宽对已调信号的频谱进行控制,具有恒幅包络、功率谱集中、频谱较窄等无线通信系统所希望的特性。因此,GFSK调制解调技术被广泛地应用在移动通信、航空与航海通信等诸多领域中。       

 

        在无线通信中,为了对抗信道衰落和保证传输信息的安全常采用跳频(Frequency Hopping, FH)通信技术。高斯移频键控(Gauss Frequency Shift Keying, GFSK)具有恒幅包络、功率谱集中、频谱较窄等无线通信系统所希望的特性。FH-GFSK则结合了上述两种技术的优点,因此,在数字通信中得到广泛应用。

 

       本课题采用基于GNU Radio的软件无线电接收机首先对FH-GFSK信号进行采集,随后对采集到的信号进行分析,最终实现信号的盲解调。

 

1.png

 

 所以在进行盲估计时候,需要知道fc,和低通滤波器的参数,后面的是固定结构,就不用估计了。

 

然后题目中讲到:

 

2.png

 

高斯滤波器参数,实际上就是获得对应的低通滤波器;

 

然后调制指数的计算公式为:

 

3.png

 

因此, 估计调制指数,实际上就是获得fd和Rb,而Rb表示符号速率,这个只要信号接收到,就可以得到的,不用估计,所以就是估计fd。FSK调制是载波的频率随信息符号成正比的一种调制方式,当发送信息符号1时发射频率向上搬移fdHz,当发送信息符号-1时发射频率向下搬移fdHz。 然后我们这里是调频通信,因此估计fd。

 

      所以,这里,忙解调的参数估计,本质就是就是频率估计和滤波器参数估计两个部分。

 

常见的数字调制方法如:

 

ASK ——幅移键控调制,把二进制符号0和1分别用不同的幅度来表示。

 

FSK ——频移键控调制,即用不同的频率来表示不同的符号。如2KHz表示0,3KHz表示1。

 

GFSK——高斯频移键控,在调制之前通过一个高斯低通 滤波器来限制信号的频谱宽度。

 

GMSK——高斯滤波最小频移键控,是在MSK(最小频移键控)调制器之前插入高斯低通预调制滤波器的一种调制方式

 

2.仿真效果预览

matlab2022a仿真结果如下:

 

4.png

5.png

6.png

 

3.MATLAB核心程序 `%滤波器估计值

%计算带宽,通过计算-3db频谱范围作为带宽

[x0,t,ssf,yy] = plotspec(Rx,1/fs);

Y2            = 10*log10(yy/max(yy));

Y3            = Y2(length(Y2)/2:end);

indx          = find(Y3>=-3);

ssf2          = ssf(length(ssf)/2:end);

BB            = (ssf2(indx(end))-ssf2(indx(1)));

BT            = 100*BB/fs;

disp('调制指数');

set(handles.edit2,'string',num2str(BT));

Rfinal        = [];

for i = 1:R

    i

    RR           = selectRxFrame2(i,:);

    [Isignal_,h] = glpfsignal(real(RR),fs,BT);

    [Qsignal_,h] = glpfsignal(imag(RR),fs,BT);

    %滤波这块比较费时,我这里只截取一部分进行处理

    Isignal  = Isignal_(1:length(RR));

    Qsignal  = Qsignal_(1:length(RR));

    %输出二进制数据

    tmps = Isignal.[diff(Qsignal,1),0] - Qsignal.[diff(Isignal,1),0];

    %做下滤波处理

    tmps = tmps-mean(tmps);

    w    = hamming(128);

    tmps = conv(tmps,w);

    tmps = tmps-mean(tmps);

    Rfinal = [Rfinal,tmps];

end

 

tmps2= Rfinal>=0;

 

axes(handles.axes3);

plot(Rfinal)

axis([2000,20000,-2,3]);

axes(handles.axes4);

plot(tmps2)

axis([2000,20000,-1,2]);

01_153m`