ConvNext模型复现--CVPR2022

582 阅读19分钟

开启掘金成长之旅!这是我参与「掘金日新计划 · 2 月更文挑战」的第1天

参考论文:A ConvNet for the 2020s

作者:Zhuang Liu, Hanzi Mao, Chao-Yuan Wu, Christoph Feichtenhofer, Trevor Darrell, Saining Xie

1、Abstract

image-20220906172409155

  ConvNet和Vision Transformer的ImageNet分类结果。我们证明了标准的 ConvNet 模型可以实现与分层视觉 Transformer 相同的可扩展性,同时在设计上要简单得多。

  视觉识别的“咆哮的 20 年代”始于 Vision Transformers (ViTs) 的引入,它迅速取代了 ConvNets,成为最先进的图像分类模型。另一方面,普通的 ViT 在应用于目标检测和语义分割等一般计算机视觉任务时面临困难。正是分层 Transformers(例如,Swin Transformers)重新引入了几个 ConvNet 先验,使 Transformers 作为通用视觉骨干实际上可行,并在各种视觉任务上表现出卓越的性能。然而,这种混合方法的有效性在很大程度上仍归功于 Transformer 的内在优势,而不是卷积固有的归纳偏差。

  在这项工作中,我们重新检查了设计空间并测试了纯 ConvNet 所能达到的极限。我们逐渐将标准 ResNet “现代化”为视觉 Transformer 的设计,并在此过程中发现了导致性能差异的几个关键组件。这一探索的结果是一系列纯 ConvNet 模型,称为 ConvNeXtConvNeXts 完全由标准 ConvNet 模块构建,在准确性和可扩展性方面与 Transformer 竞争,达到 87.8% ImageNet top-1 准确率,在 COCO 检测和 ADE20K 分割方面优于 Swin Transformers,同时保持标准 ConvNet 的简单性和效率。

2、ConvNet现代化:路线图

image-20220906172616534

  图 2. 我们对标准 ConvNet (ResNet) 进行现代化改造,以设计hierarchical sision Transformer (Swin),而不引入任何基于注意力的模块。前景条是 ResNet-50/Swin-T FLOP 机制中的模型精度; ResNet-200/Swin-B 方案的结果用灰色条显示。阴影条表示未采用修改。两种方案的详细结果见附录。许多 Transformer 架构选择可以合并到 ConvNet 中,它们会带来越来越好的性能。最后,我们的纯 ConvNet 模型,名为 ConvNeXt,可以胜过 Swin Transformer。

3、模型设计方案

3.1 Macro Design(宏观设计)

  • Changing stage compute ratio:对于较大的 Swin Transformers,比例为 1:1:9:1。按照设计,我们将每个阶段的块数从 ResNet-50 中的 (3, 4, 6, 3) 调整为 (3, 3, 9, 3),这也使 FLOPs 与 Swin-T 对齐。这将模型准确率从 78.8% 提高到 79.4%。

  • Changing stem to "Patchify":我们将 ResNet 风格的stem cell替换为使用 4×4、步幅为 4 的卷积层实现的patchify layer。准确率从 79.4% 变为 79.5%。这表明 ResNet 中的干细胞可以用更简单的“patchify”层 à la ViT 代替,这将产生类似的性能。

3.2 ResNext-ify

  在这一部分中,我们尝试采用 ResNeXt [87] 的思想,它比普通的 ResNet 具有更好的 FLOPs/accuracy 权衡。核心组件是分组卷积,其中卷积滤波器被分成不同的组。在高层次上,ResNeXt 的指导原则是“使用更多的组,扩大宽度”。更准确地说,ResNeXt 对瓶颈块中的 3×3 卷积层采用分组卷积。由于这显着降低了 FLOP,因此扩展了网络宽度以补偿容量损失。

  我们使用深度卷积,这是分组卷积的一种特殊情况,其中组数等于通道数

3.3 Inverted Bottleneck

  每个 Transformer 块的一个重要设计是它创建了一个倒置瓶颈,即 MLP 块的隐藏维度是输入维度的四倍见图 4)。有趣的是,这种 Transformer 设计与 ConvNets 中使用的扩展比为 4 的倒置瓶颈设计相连。

  在这里,我们探索倒置瓶颈设计。图 3 (a) 至 (b) 说明了这些配置。尽管深度卷积层的 FLOPs 增加了,但由于下采样残差块的快捷 1×1 卷积层的 FLOPs 显着减少,这种变化将整个网络的 FLOPs 减少到 4.6G。有趣的是,这会稍微提高性能(从 80.5% 提高到 80.6%)。在 ResNet-200 / Swin-B 方案中,这一步带来了更大的收益(81.9% 到 82.6%),同时也减少了 FLOP。

image-20220906173534570

  (a) 是一个 ResNeXt 块;

  (b)中,我们创建了一个倒置的bottle block,

  (c)中,空间深度卷积层的位置上移。

3.4 Large kernel

  尽管 Swin Transformers 将局部窗口重新引入了 self-attention block,但窗口大小至少为 7×7,明显大于 3×3 的 ResNe(X)t 内核大小。在这里,我们重新审视了在 ConvNets 中使用大内核大小的卷积。

  • Moving up depthwise conv layer.:向上移动深度卷积层的位置。这个中间步骤将 FLOP 减少到 4.1G,导致性能暂时下降到 79.9%。

image-20220906173858317

  • Increasing the kernel size.:我们尝试了几种内核大小,包括 3、5、7、9 和 11。网络的性能从 79.9% (3×3) 提高到 80.6% (7×7),而网络的 FLOPs 大致保持不变。此外,我们观察到较大内核大小的好处在 7×7 处达到饱和点。我们也在大容量模型中验证了这种行为:当我们将内核大小增加到 7×7 以上时,ResNet-200 机制模型没有表现出进一步的增益。

      我们将在每个块中使用 7×7 深度卷积。

3.5 Micro Design(微观设计)

  这里的大部分探索都是在层级完成的,重点是激活函数归一化层的具体选择。

  • Replacing ReLU with GELU (用 GELU 替换 ReLU):作者发现 ReLU 在我们的 ConvNet 中也可以用 GELU 代替,尽管准确率保持不变(80.6%)。

  • Fewer activation functions(更少的激活函数):通常的做法是在每个卷积层上附加一个激活函数,包括 1×1convs。在这里,我们研究了当我们坚持相同的策略时性能如何变化。如图 4 所示,我们从残差块中消除了所有 GELU 层,除了两个 1×1 层之间的一个,复制了 Transformer 块的风格。这个过程将结果提高了 0.7% 到 81.3%,实际上与 Swin-T 的性能相当。

image-20220906174457226

  • Fewer normalization layers. :Transformer 块通常也具有较少的归一化层。在这里,作者删除了两个 BatchNorm (BN) 层,在 conv 1 × 1 层之前只留下一个 BN 层。这进一步将性能提升至 81.4%,已经超过了 Swin-T 的结果。请注意,我们每个块的归一化层比 Transformer 还要少,因为根据经验,我们发现在块的开头添加一个额外的 BN 层并不能提高性能。
  • Substituting BN with LN(用 LN 代替 BN):BatchNorm [38] 是 ConvNets 中的重要组成部分,因为它提高了收敛性并减少了过度拟合。然而,BN 也有许多错综复杂的东西,可能会对模型的性能产生不利影响 [84]。在开发替代规范化 [60, 75, 83] 技术方面已经进行了许多尝试,但 BN 在大多数视觉任务中仍然是首选选项。另一方面,Transformers 中使用了更简单的层规范化 [5] (LN),从而在不同的应用场景中实现了良好的性能

​   从现在开始,我们将使用一个 LayerNorm 作为我们在每个残差块中的归一化选择。

  • Separate downsampling layers:在 ResNet 中,空间下采样是通过每个阶段开始时的残差块来实现的,使用步长为 2 的 3×3 卷积(在快捷连接处使用步长为 2 的 1×1 卷积)。在 Swin Transformers 中,在各个阶段之间添加了一个单独的下采样层。我们探索了一种类似的策略,**在该策略中,作者使用步长为 2 的 2×2 卷积层进行空间下采样。**进一步的调查表明,在空间分辨率发生变化的地方添加归一化层有助于稳定训练

​   简单来说就是:Layer Normalization+2x2 conv,stride=2。

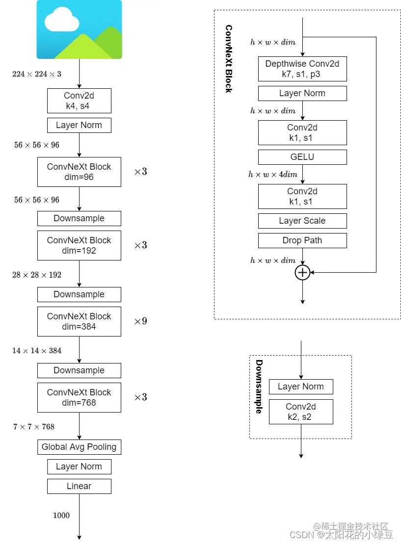
4、ConvNext网络结构

image-20220906175155627

  网络有五种配置方案:

  • ConvNeXt-T:C=(96,192,384,768),B=(3,3,9,3)
  • ConvNeXt-S:C=(96,192,384,768),B=(3,3,27,3)
  • ConvNeXt-B:C=(128,256,512,1024),B=(3,3,27,3)
  • ConvNeXt-L:C=(192,384,768,1536),B=(3,3,27,3)
  • ConvNeXt-XL:C=(256,512,1024,2048),B=(3,3,27,3)

C是每个Stage中输入特征曾的Channel

B是每个Stage中block的重复次数

5、ConvNeXt-T结构图

图片来源:ConvNeXt网络详解

13.1 ConvNeXt网络讲解

img

github源码中关于DownSample部分代码如下:

image-20220906175818120

  可以看到,==DownSample blocks=LayerNormalization+2x2 conv,stride=2==

  ConvNeXt Block会发现其中还有一个Layer Scale操作(论文中只说将值设置为1e-6),其实它就是将输入的特征层乘上一个可训练的参数,该参数就是一个向量,元素个数与特征层channel相同,即对每个channel的数据进行缩放。

  我看源码这部分有点不是很懂,应该就是一个缩放操作。

6、Tensorflow复现ConvNext模型

import tensorflow as tf
import numpy as np
from tensorflow.keras import layers
from tensorflow.keras.models import Model

6.1 模型配置

MODEL_CONFIGS = {
    "tiny": {
        "depths": [3, 3, 9, 3],
        "projection_dims": [96, 192, 384, 768],
        "default_size": 224,
    },
    "small": {
        "depths": [3, 3, 27, 3],
        "projection_dims": [96, 192, 384, 768],
        "default_size": 224,
    },
    "base": {
        "depths": [3, 3, 27, 3],
        "projection_dims": [128, 256, 512, 1024],
        "default_size": 224,
    },
    "large": {
        "depths": [3, 3, 27, 3],
        "projection_dims": [192, 384, 768, 1536],
        "default_size": 224,
    },
    "xlarge": {
        "depths": [3, 3, 27, 3],
        "projection_dims": [256, 512, 1024, 2048],
        "default_size": 224,
    },
}

  我们这里只复现tiny这个配置,其他的方法都是一样的,改个参数就行。

6.2 Layer scale module

class LayerScale(layers.Layer):
    def __init__(self, init_values, projection_dim, **kwargs):
        super().__init__(**kwargs)
        self.init_values = init_values
        self.projection_dim = projection_dim

    def build(self, input_shape):
        self.gamma = tf.Variable(self.init_values * tf.ones((self.projection_dim,)))

    def call(self, x):
        return x * self.gamma

    def get_config(self):
        config = super().get_config()
        config.update(
            {
                "init_values": self.init_values,
                "projection_dim": self.projection_dim
            }
        )
        return config

6.3 随机深度模块

# 随机深度模块
'''
 drop_path_rate (float):丢弃路径的概率。应该在[0, 1]。
 返回:残差路径丢弃或保留的张量。
'''
class StochasticDepth(layers.Layer):
    def __init__(self, drop_path_rate, **kwargs):
        super().__init__(**kwargs)
        self.drop_path_rate = drop_path_rate

    def call(self, x, training=None):
        if training:
            keep_prob = 1 - self.drop_path_rate
            shape = (tf.shape(x)[0],) + (1,) * (len(tf.shape(x)) - 1)
            random_tensor = keep_prob + tf.random.uniform(shape, 0, 1)
            random_tensor = tf.floor(random_tensor)
            return (x / keep_prob) * random_tensor
        return x

    def get_config(self):
        config = super().get_config()
        config.update({"drop_path_rate": self.drop_path_rate})
        return config

6.4 ConvNext Block

image-20220906180427808

def ConvNextBlock(inputs,
                  projection_dim,  # 卷积层的filters数量
                  drop_path_rate=0.0,  # 丢弃路径的概率。
                  layer_scale_init_value=1e-6,
                  name=None):
    x = inputs
    # Depthwise卷积是分组卷积的一种特殊情况:当分组数=通道数
    x = layers.Conv2D(filters=projection_dim,
                      kernel_size=(7, 7),
                      padding='same',
                      groups=projection_dim,
                      name=name + '_depthwise_conv')(x)
    x = layers.LayerNormalization(epsilon=1e-6, name=name + '_layernorm')(x)
    x = layers.Dense(4 * projection_dim, name=name + '_pointwise_conv_1')(x)
    x = layers.Activation('gelu', name=name + '_gelu')(x)
    x = layers.Dense(projection_dim, name=name + '_pointwise_conv_2')(x)

    if layer_scale_init_value is not None:
        # Layer scale module
        x = LayerScale(layer_scale_init_value, projection_dim, name=name + '_layer_scale')(x)
    if drop_path_rate:
        # 随机深度模块
        layer = StochasticDepth(drop_path_rate, name=name + '_stochastic_depth')
    else:
        layer = layers.Activation('linear', name=name + '_identity')

    return layers.Add()([inputs, layer(x)])

6.5 ConvNext架构

def ConvNext(depths,  # tiny:[3,3,9,3]
             projection_dims,  # tiny:[96, 192, 384, 768],
             drop_path_rate=0.0,  # 随机深度概率,如果为0.0,图层缩放不会被使用
             layer_scale_init_value=1e-6,  # 缩放比例
             default_size=224,  # 默认输入图像大小
             model_name='convnext',  # 模型的可选名称
             include_preprocessing=True,  # 是否包含预处理
             include_top=True,  # 是否包含分类头
             weights=None,
             input_tensor=None,
             input_shape=None,
             pooling=None,
             classes=1000,  # 分类个数
             classifier_activation='softmax'):  # 分类器激活
    img_input = layers.Input(shape=input_shape)

    inputs = img_input
    x = inputs

    # if include_preprocessing:
    #     x = PreStem(x, name=model_name)

    # Stem block:4*4,96,stride=4
    stem = tf.keras.Sequential(
        [
            layers.Conv2D(projection_dims[0],
                          kernel_size=(4, 4),
                          strides=4,
                          name=model_name + '_stem_conv'),
            layers.LayerNormalization(epsilon=1e-6, name=model_name + '_stem_layernorm')
        ],
        name=model_name + '_stem'
    )

    # Downsampling blocks
    downsample_layers = []
    downsample_layers.append(stem)

    num_downsample_layers = 3
    for i in range(num_downsample_layers):
        downsample_layer = tf.keras.Sequential(
            [
                layers.LayerNormalization(epsilon=1e-6, name=model_name + '_downsampling_layernorm_' + str(i)),
                layers.Conv2D(projection_dims[i + 1],
                              kernel_size=(2, 2),
                              strides=2,
                              name=model_name + '_downsampling_conv_' + str(i))
            ],
            name=model_name + '_downsampling_block_' + str(i)
        )
        downsample_layers.append(downsample_layer)

    # Stochastic depth schedule.
    # This is referred from the original ConvNeXt codebase:
    # https://github.com/facebookresearch/ConvNeXt/blob/main/models/convnext.py#L86
    depth_drop_rates = [
        float(x) for x in np.linspace(0.0, drop_path_rate, sum(depths))
    ]

    # First apply downsampling blocks and then apply ConvNeXt stages.
    cur = 0

    num_convnext_blocks = 4
    for i in range(num_convnext_blocks):
        x = downsample_layers[i](x)
        for j in range(depths[i]):  # depth:[3,3,9,3]
            x = ConvNextBlock(x,
                              projection_dim=projection_dims[i],
                              drop_path_rate=depth_drop_rates[cur + j],
                              layer_scale_init_value=layer_scale_init_value,
                              name=model_name + f"_stage_{i}_block_{j}")
        cur += depths[i]
    if include_top:
        x = layers.GlobalAveragePooling2D(name=model_name + '_head_gap')(x)
        x = layers.LayerNormalization(epsilon=1e-6, name=model_name + '_head_layernorm')(x)
        x = layers.Dense(classes, name=model_name + '_head_dense')(x)
    else:
        if pooling == 'avg':
            x = layers.GlobalAveragePooling2D()(x)
        elif pooling == 'max':
            x = layers.GlobalMaxPooling2D()(x)
        x = layers.LayerNormalization(epsilon=1e-6)(x)

    model = Model(inputs=inputs, outputs=x, name=model_name)
    # Load weights.
    # if weights == "imagenet":
    #     if include_top:
    #         file_suffix = ".h5"
    #         file_hash = WEIGHTS_HASHES[model_name][0]
    #     else:
    #         file_suffix = "_notop.h5"
    #         file_hash = WEIGHTS_HASHES[model_name][1]
    #     file_name = model_name + file_suffix
    #     weights_path = utils.data_utils.get_file(
    #         file_name,
    #         BASE_WEIGHTS_PATH + file_name,
    #         cache_subdir="models",
    #         file_hash=file_hash,
    #     )
    #     model.load_weights(weights_path)
    # elif weights is not None:
    #     model.load_weights(weights)

    return model

6.6 ConvNextTiny模型

def ConvNextTiny(model_name='convnext-tiny',
                 include_top=True,
                 include_processing=True,
                 weights='imagenet',
                 input_tensor=None,
                 input_shape=None,
                 pooling=None,
                 classes=1000,
                 classifier_activation='softmax'):
    return ConvNext(depths=MODEL_CONFIGS['tiny']['depths'],
                    projection_dims=MODEL_CONFIGS['tiny']['projection_dims'],
                    drop_path_rate=0.0,
                    layer_scale_init_value=1e-6,
                    default_size=MODEL_CONFIGS["tiny"]['default_size'],
                    model_name=model_name,
                    include_top=include_top,
                    include_preprocessing=include_processing,
                    weights=weights,
                    input_tensor=input_tensor,
                    input_shape=input_shape,
                    pooling=pooling,
                    classes=classes,
                    classifier_activation=classifier_activation
                    )

6.7 ConvNextTiny模型摘要

if __name__ == '__main__':
    model = ConvNextTiny(input_shape=(224, 224, 3))
    model.summary()
Model: "convnext-tiny"
__________________________________________________________________________________________________
Layer (type)                    Output Shape         Param #     Connected to                     
==================================================================================================
input_1 (InputLayer)            [(None, 224, 224, 3) 0                                            
__________________________________________________________________________________________________
convnext-tiny_stem (Sequential) (None, 56, 56, 96)   4896        input_1[0][0]                    
__________________________________________________________________________________________________
convnext-tiny_stage_0_block_0_d (None, 56, 56, 96)   4800        convnext-tiny_stem[0][0]         
__________________________________________________________________________________________________
convnext-tiny_stage_0_block_0_l (None, 56, 56, 96)   192         convnext-tiny_stage_0_block_0_dep
__________________________________________________________________________________________________
convnext-tiny_stage_0_block_0_p (None, 56, 56, 384)  37248       convnext-tiny_stage_0_block_0_lay
__________________________________________________________________________________________________
convnext-tiny_stage_0_block_0_g (None, 56, 56, 384)  0           convnext-tiny_stage_0_block_0_poi
__________________________________________________________________________________________________
convnext-tiny_stage_0_block_0_p (None, 56, 56, 96)   36960       convnext-tiny_stage_0_block_0_gel
__________________________________________________________________________________________________
convnext-tiny_stage_0_block_0_l (None, 56, 56, 96)   96          convnext-tiny_stage_0_block_0_poi
__________________________________________________________________________________________________
convnext-tiny_stage_0_block_0_i (None, 56, 56, 96)   0           convnext-tiny_stage_0_block_0_lay
__________________________________________________________________________________________________
add (Add)                       (None, 56, 56, 96)   0           convnext-tiny_stem[0][0]         
                                                                 convnext-tiny_stage_0_block_0_ide
__________________________________________________________________________________________________
convnext-tiny_stage_0_block_1_d (None, 56, 56, 96)   4800        add[0][0]                        
__________________________________________________________________________________________________
convnext-tiny_stage_0_block_1_l (None, 56, 56, 96)   192         convnext-tiny_stage_0_block_1_dep
__________________________________________________________________________________________________
convnext-tiny_stage_0_block_1_p (None, 56, 56, 384)  37248       convnext-tiny_stage_0_block_1_lay
__________________________________________________________________________________________________
convnext-tiny_stage_0_block_1_g (None, 56, 56, 384)  0           convnext-tiny_stage_0_block_1_poi
__________________________________________________________________________________________________
convnext-tiny_stage_0_block_1_p (None, 56, 56, 96)   36960       convnext-tiny_stage_0_block_1_gel
__________________________________________________________________________________________________
convnext-tiny_stage_0_block_1_l (None, 56, 56, 96)   96          convnext-tiny_stage_0_block_1_poi
__________________________________________________________________________________________________
convnext-tiny_stage_0_block_1_i (None, 56, 56, 96)   0           convnext-tiny_stage_0_block_1_lay
__________________________________________________________________________________________________
add_1 (Add)                     (None, 56, 56, 96)   0           add[0][0]                        
                                                                 convnext-tiny_stage_0_block_1_ide
__________________________________________________________________________________________________
convnext-tiny_stage_0_block_2_d (None, 56, 56, 96)   4800        add_1[0][0]                      
__________________________________________________________________________________________________
convnext-tiny_stage_0_block_2_l (None, 56, 56, 96)   192         convnext-tiny_stage_0_block_2_dep
__________________________________________________________________________________________________
convnext-tiny_stage_0_block_2_p (None, 56, 56, 384)  37248       convnext-tiny_stage_0_block_2_lay
__________________________________________________________________________________________________
convnext-tiny_stage_0_block_2_g (None, 56, 56, 384)  0           convnext-tiny_stage_0_block_2_poi
__________________________________________________________________________________________________
convnext-tiny_stage_0_block_2_p (None, 56, 56, 96)   36960       convnext-tiny_stage_0_block_2_gel
__________________________________________________________________________________________________
convnext-tiny_stage_0_block_2_l (None, 56, 56, 96)   96          convnext-tiny_stage_0_block_2_poi
__________________________________________________________________________________________________
convnext-tiny_stage_0_block_2_i (None, 56, 56, 96)   0           convnext-tiny_stage_0_block_2_lay
__________________________________________________________________________________________________
add_2 (Add)                     (None, 56, 56, 96)   0           add_1[0][0]                      
                                                                 convnext-tiny_stage_0_block_2_ide
__________________________________________________________________________________________________
convnext-tiny_downsampling_bloc (None, 28, 28, 192)  74112       add_2[0][0]                      
__________________________________________________________________________________________________
convnext-tiny_stage_1_block_0_d (None, 28, 28, 192)  9600        convnext-tiny_downsampling_block_
__________________________________________________________________________________________________
convnext-tiny_stage_1_block_0_l (None, 28, 28, 192)  384         convnext-tiny_stage_1_block_0_dep
__________________________________________________________________________________________________
convnext-tiny_stage_1_block_0_p (None, 28, 28, 768)  148224      convnext-tiny_stage_1_block_0_lay
__________________________________________________________________________________________________
convnext-tiny_stage_1_block_0_g (None, 28, 28, 768)  0           convnext-tiny_stage_1_block_0_poi
__________________________________________________________________________________________________
convnext-tiny_stage_1_block_0_p (None, 28, 28, 192)  147648      convnext-tiny_stage_1_block_0_gel
__________________________________________________________________________________________________
convnext-tiny_stage_1_block_0_l (None, 28, 28, 192)  192         convnext-tiny_stage_1_block_0_poi
__________________________________________________________________________________________________
convnext-tiny_stage_1_block_0_i (None, 28, 28, 192)  0           convnext-tiny_stage_1_block_0_lay
__________________________________________________________________________________________________
add_3 (Add)                     (None, 28, 28, 192)  0           convnext-tiny_downsampling_block_
                                                                 convnext-tiny_stage_1_block_0_ide
__________________________________________________________________________________________________
convnext-tiny_stage_1_block_1_d (None, 28, 28, 192)  9600        add_3[0][0]                      
__________________________________________________________________________________________________
convnext-tiny_stage_1_block_1_l (None, 28, 28, 192)  384         convnext-tiny_stage_1_block_1_dep
__________________________________________________________________________________________________
convnext-tiny_stage_1_block_1_p (None, 28, 28, 768)  148224      convnext-tiny_stage_1_block_1_lay
__________________________________________________________________________________________________
convnext-tiny_stage_1_block_1_g (None, 28, 28, 768)  0           convnext-tiny_stage_1_block_1_poi
__________________________________________________________________________________________________
convnext-tiny_stage_1_block_1_p (None, 28, 28, 192)  147648      convnext-tiny_stage_1_block_1_gel
__________________________________________________________________________________________________
convnext-tiny_stage_1_block_1_l (None, 28, 28, 192)  192         convnext-tiny_stage_1_block_1_poi
__________________________________________________________________________________________________
convnext-tiny_stage_1_block_1_i (None, 28, 28, 192)  0           convnext-tiny_stage_1_block_1_lay
__________________________________________________________________________________________________
add_4 (Add)                     (None, 28, 28, 192)  0           add_3[0][0]                      
                                                                 convnext-tiny_stage_1_block_1_ide
__________________________________________________________________________________________________
convnext-tiny_stage_1_block_2_d (None, 28, 28, 192)  9600        add_4[0][0]                      
__________________________________________________________________________________________________
convnext-tiny_stage_1_block_2_l (None, 28, 28, 192)  384         convnext-tiny_stage_1_block_2_dep
__________________________________________________________________________________________________
convnext-tiny_stage_1_block_2_p (None, 28, 28, 768)  148224      convnext-tiny_stage_1_block_2_lay
__________________________________________________________________________________________________
convnext-tiny_stage_1_block_2_g (None, 28, 28, 768)  0           convnext-tiny_stage_1_block_2_poi
__________________________________________________________________________________________________
convnext-tiny_stage_1_block_2_p (None, 28, 28, 192)  147648      convnext-tiny_stage_1_block_2_gel
__________________________________________________________________________________________________
convnext-tiny_stage_1_block_2_l (None, 28, 28, 192)  192         convnext-tiny_stage_1_block_2_poi
__________________________________________________________________________________________________
convnext-tiny_stage_1_block_2_i (None, 28, 28, 192)  0           convnext-tiny_stage_1_block_2_lay
__________________________________________________________________________________________________
add_5 (Add)                     (None, 28, 28, 192)  0           add_4[0][0]                      
                                                                 convnext-tiny_stage_1_block_2_ide
__________________________________________________________________________________________________
convnext-tiny_downsampling_bloc (None, 14, 14, 384)  295680      add_5[0][0]                      
__________________________________________________________________________________________________
convnext-tiny_stage_2_block_0_d (None, 14, 14, 384)  19200       convnext-tiny_downsampling_block_
__________________________________________________________________________________________________
convnext-tiny_stage_2_block_0_l (None, 14, 14, 384)  768         convnext-tiny_stage_2_block_0_dep
__________________________________________________________________________________________________
convnext-tiny_stage_2_block_0_p (None, 14, 14, 1536) 591360      convnext-tiny_stage_2_block_0_lay
__________________________________________________________________________________________________
convnext-tiny_stage_2_block_0_g (None, 14, 14, 1536) 0           convnext-tiny_stage_2_block_0_poi
__________________________________________________________________________________________________
convnext-tiny_stage_2_block_0_p (None, 14, 14, 384)  590208      convnext-tiny_stage_2_block_0_gel
__________________________________________________________________________________________________
convnext-tiny_stage_2_block_0_l (None, 14, 14, 384)  384         convnext-tiny_stage_2_block_0_poi
__________________________________________________________________________________________________
convnext-tiny_stage_2_block_0_i (None, 14, 14, 384)  0           convnext-tiny_stage_2_block_0_lay
__________________________________________________________________________________________________
add_6 (Add)                     (None, 14, 14, 384)  0           convnext-tiny_downsampling_block_
                                                                 convnext-tiny_stage_2_block_0_ide
__________________________________________________________________________________________________
convnext-tiny_stage_2_block_1_d (None, 14, 14, 384)  19200       add_6[0][0]                      
__________________________________________________________________________________________________
convnext-tiny_stage_2_block_1_l (None, 14, 14, 384)  768         convnext-tiny_stage_2_block_1_dep
__________________________________________________________________________________________________
convnext-tiny_stage_2_block_1_p (None, 14, 14, 1536) 591360      convnext-tiny_stage_2_block_1_lay
__________________________________________________________________________________________________
convnext-tiny_stage_2_block_1_g (None, 14, 14, 1536) 0           convnext-tiny_stage_2_block_1_poi
__________________________________________________________________________________________________
convnext-tiny_stage_2_block_1_p (None, 14, 14, 384)  590208      convnext-tiny_stage_2_block_1_gel
__________________________________________________________________________________________________
convnext-tiny_stage_2_block_1_l (None, 14, 14, 384)  384         convnext-tiny_stage_2_block_1_poi
__________________________________________________________________________________________________
convnext-tiny_stage_2_block_1_i (None, 14, 14, 384)  0           convnext-tiny_stage_2_block_1_lay
__________________________________________________________________________________________________
add_7 (Add)                     (None, 14, 14, 384)  0           add_6[0][0]                      
                                                                 convnext-tiny_stage_2_block_1_ide
__________________________________________________________________________________________________
convnext-tiny_stage_2_block_2_d (None, 14, 14, 384)  19200       add_7[0][0]                      
__________________________________________________________________________________________________
convnext-tiny_stage_2_block_2_l (None, 14, 14, 384)  768         convnext-tiny_stage_2_block_2_dep
__________________________________________________________________________________________________
convnext-tiny_stage_2_block_2_p (None, 14, 14, 1536) 591360      convnext-tiny_stage_2_block_2_lay
__________________________________________________________________________________________________
convnext-tiny_stage_2_block_2_g (None, 14, 14, 1536) 0           convnext-tiny_stage_2_block_2_poi
__________________________________________________________________________________________________
convnext-tiny_stage_2_block_2_p (None, 14, 14, 384)  590208      convnext-tiny_stage_2_block_2_gel
__________________________________________________________________________________________________
convnext-tiny_stage_2_block_2_l (None, 14, 14, 384)  384         convnext-tiny_stage_2_block_2_poi
__________________________________________________________________________________________________
convnext-tiny_stage_2_block_2_i (None, 14, 14, 384)  0           convnext-tiny_stage_2_block_2_lay
__________________________________________________________________________________________________
add_8 (Add)                     (None, 14, 14, 384)  0           add_7[0][0]                      
                                                                 convnext-tiny_stage_2_block_2_ide
__________________________________________________________________________________________________
convnext-tiny_stage_2_block_3_d (None, 14, 14, 384)  19200       add_8[0][0]                      
__________________________________________________________________________________________________
convnext-tiny_stage_2_block_3_l (None, 14, 14, 384)  768         convnext-tiny_stage_2_block_3_dep
__________________________________________________________________________________________________
convnext-tiny_stage_2_block_3_p (None, 14, 14, 1536) 591360      convnext-tiny_stage_2_block_3_lay
__________________________________________________________________________________________________
convnext-tiny_stage_2_block_3_g (None, 14, 14, 1536) 0           convnext-tiny_stage_2_block_3_poi
__________________________________________________________________________________________________
convnext-tiny_stage_2_block_3_p (None, 14, 14, 384)  590208      convnext-tiny_stage_2_block_3_gel
__________________________________________________________________________________________________
convnext-tiny_stage_2_block_3_l (None, 14, 14, 384)  384         convnext-tiny_stage_2_block_3_poi
__________________________________________________________________________________________________
convnext-tiny_stage_2_block_3_i (None, 14, 14, 384)  0           convnext-tiny_stage_2_block_3_lay
__________________________________________________________________________________________________
add_9 (Add)                     (None, 14, 14, 384)  0           add_8[0][0]                      
                                                                 convnext-tiny_stage_2_block_3_ide
__________________________________________________________________________________________________
convnext-tiny_stage_2_block_4_d (None, 14, 14, 384)  19200       add_9[0][0]                      
__________________________________________________________________________________________________
convnext-tiny_stage_2_block_4_l (None, 14, 14, 384)  768         convnext-tiny_stage_2_block_4_dep
__________________________________________________________________________________________________
convnext-tiny_stage_2_block_4_p (None, 14, 14, 1536) 591360      convnext-tiny_stage_2_block_4_lay
__________________________________________________________________________________________________
convnext-tiny_stage_2_block_4_g (None, 14, 14, 1536) 0           convnext-tiny_stage_2_block_4_poi
__________________________________________________________________________________________________
convnext-tiny_stage_2_block_4_p (None, 14, 14, 384)  590208      convnext-tiny_stage_2_block_4_gel
__________________________________________________________________________________________________
convnext-tiny_stage_2_block_4_l (None, 14, 14, 384)  384         convnext-tiny_stage_2_block_4_poi
__________________________________________________________________________________________________
convnext-tiny_stage_2_block_4_i (None, 14, 14, 384)  0           convnext-tiny_stage_2_block_4_lay
__________________________________________________________________________________________________
add_10 (Add)                    (None, 14, 14, 384)  0           add_9[0][0]                      
                                                                 convnext-tiny_stage_2_block_4_ide
__________________________________________________________________________________________________
convnext-tiny_stage_2_block_5_d (None, 14, 14, 384)  19200       add_10[0][0]                     
__________________________________________________________________________________________________
convnext-tiny_stage_2_block_5_l (None, 14, 14, 384)  768         convnext-tiny_stage_2_block_5_dep
__________________________________________________________________________________________________
convnext-tiny_stage_2_block_5_p (None, 14, 14, 1536) 591360      convnext-tiny_stage_2_block_5_lay
__________________________________________________________________________________________________
convnext-tiny_stage_2_block_5_g (None, 14, 14, 1536) 0           convnext-tiny_stage_2_block_5_poi
__________________________________________________________________________________________________
convnext-tiny_stage_2_block_5_p (None, 14, 14, 384)  590208      convnext-tiny_stage_2_block_5_gel
__________________________________________________________________________________________________
convnext-tiny_stage_2_block_5_l (None, 14, 14, 384)  384         convnext-tiny_stage_2_block_5_poi
__________________________________________________________________________________________________
convnext-tiny_stage_2_block_5_i (None, 14, 14, 384)  0           convnext-tiny_stage_2_block_5_lay
__________________________________________________________________________________________________
add_11 (Add)                    (None, 14, 14, 384)  0           add_10[0][0]                     
                                                                 convnext-tiny_stage_2_block_5_ide
__________________________________________________________________________________________________
convnext-tiny_stage_2_block_6_d (None, 14, 14, 384)  19200       add_11[0][0]                     
__________________________________________________________________________________________________
convnext-tiny_stage_2_block_6_l (None, 14, 14, 384)  768         convnext-tiny_stage_2_block_6_dep
__________________________________________________________________________________________________
convnext-tiny_stage_2_block_6_p (None, 14, 14, 1536) 591360      convnext-tiny_stage_2_block_6_lay
__________________________________________________________________________________________________
convnext-tiny_stage_2_block_6_g (None, 14, 14, 1536) 0           convnext-tiny_stage_2_block_6_poi
__________________________________________________________________________________________________
convnext-tiny_stage_2_block_6_p (None, 14, 14, 384)  590208      convnext-tiny_stage_2_block_6_gel
__________________________________________________________________________________________________
convnext-tiny_stage_2_block_6_l (None, 14, 14, 384)  384         convnext-tiny_stage_2_block_6_poi
__________________________________________________________________________________________________
convnext-tiny_stage_2_block_6_i (None, 14, 14, 384)  0           convnext-tiny_stage_2_block_6_lay
__________________________________________________________________________________________________
add_12 (Add)                    (None, 14, 14, 384)  0           add_11[0][0]                     
                                                                 convnext-tiny_stage_2_block_6_ide
__________________________________________________________________________________________________
convnext-tiny_stage_2_block_7_d (None, 14, 14, 384)  19200       add_12[0][0]                     
__________________________________________________________________________________________________
convnext-tiny_stage_2_block_7_l (None, 14, 14, 384)  768         convnext-tiny_stage_2_block_7_dep
__________________________________________________________________________________________________
convnext-tiny_stage_2_block_7_p (None, 14, 14, 1536) 591360      convnext-tiny_stage_2_block_7_lay
__________________________________________________________________________________________________
convnext-tiny_stage_2_block_7_g (None, 14, 14, 1536) 0           convnext-tiny_stage_2_block_7_poi
__________________________________________________________________________________________________
convnext-tiny_stage_2_block_7_p (None, 14, 14, 384)  590208      convnext-tiny_stage_2_block_7_gel
__________________________________________________________________________________________________
convnext-tiny_stage_2_block_7_l (None, 14, 14, 384)  384         convnext-tiny_stage_2_block_7_poi
__________________________________________________________________________________________________
convnext-tiny_stage_2_block_7_i (None, 14, 14, 384)  0           convnext-tiny_stage_2_block_7_lay
__________________________________________________________________________________________________
add_13 (Add)                    (None, 14, 14, 384)  0           add_12[0][0]                     
                                                                 convnext-tiny_stage_2_block_7_ide
__________________________________________________________________________________________________
convnext-tiny_stage_2_block_8_d (None, 14, 14, 384)  19200       add_13[0][0]                     
__________________________________________________________________________________________________
convnext-tiny_stage_2_block_8_l (None, 14, 14, 384)  768         convnext-tiny_stage_2_block_8_dep
__________________________________________________________________________________________________
convnext-tiny_stage_2_block_8_p (None, 14, 14, 1536) 591360      convnext-tiny_stage_2_block_8_lay
__________________________________________________________________________________________________
convnext-tiny_stage_2_block_8_g (None, 14, 14, 1536) 0           convnext-tiny_stage_2_block_8_poi
__________________________________________________________________________________________________
convnext-tiny_stage_2_block_8_p (None, 14, 14, 384)  590208      convnext-tiny_stage_2_block_8_gel
__________________________________________________________________________________________________
convnext-tiny_stage_2_block_8_l (None, 14, 14, 384)  384         convnext-tiny_stage_2_block_8_poi
__________________________________________________________________________________________________
convnext-tiny_stage_2_block_8_i (None, 14, 14, 384)  0           convnext-tiny_stage_2_block_8_lay
__________________________________________________________________________________________________
add_14 (Add)                    (None, 14, 14, 384)  0           add_13[0][0]                     
                                                                 convnext-tiny_stage_2_block_8_ide
__________________________________________________________________________________________________
convnext-tiny_downsampling_bloc (None, 7, 7, 768)    1181184     add_14[0][0]                     
__________________________________________________________________________________________________
convnext-tiny_stage_3_block_0_d (None, 7, 7, 768)    38400       convnext-tiny_downsampling_block_
__________________________________________________________________________________________________
convnext-tiny_stage_3_block_0_l (None, 7, 7, 768)    1536        convnext-tiny_stage_3_block_0_dep
__________________________________________________________________________________________________
convnext-tiny_stage_3_block_0_p (None, 7, 7, 3072)   2362368     convnext-tiny_stage_3_block_0_lay
__________________________________________________________________________________________________
convnext-tiny_stage_3_block_0_g (None, 7, 7, 3072)   0           convnext-tiny_stage_3_block_0_poi
__________________________________________________________________________________________________
convnext-tiny_stage_3_block_0_p (None, 7, 7, 768)    2360064     convnext-tiny_stage_3_block_0_gel
__________________________________________________________________________________________________
convnext-tiny_stage_3_block_0_l (None, 7, 7, 768)    768         convnext-tiny_stage_3_block_0_poi
__________________________________________________________________________________________________
convnext-tiny_stage_3_block_0_i (None, 7, 7, 768)    0           convnext-tiny_stage_3_block_0_lay
__________________________________________________________________________________________________
add_15 (Add)                    (None, 7, 7, 768)    0           convnext-tiny_downsampling_block_
                                                                 convnext-tiny_stage_3_block_0_ide
__________________________________________________________________________________________________
convnext-tiny_stage_3_block_1_d (None, 7, 7, 768)    38400       add_15[0][0]                     
__________________________________________________________________________________________________
convnext-tiny_stage_3_block_1_l (None, 7, 7, 768)    1536        convnext-tiny_stage_3_block_1_dep
__________________________________________________________________________________________________
convnext-tiny_stage_3_block_1_p (None, 7, 7, 3072)   2362368     convnext-tiny_stage_3_block_1_lay
__________________________________________________________________________________________________
convnext-tiny_stage_3_block_1_g (None, 7, 7, 3072)   0           convnext-tiny_stage_3_block_1_poi
__________________________________________________________________________________________________
convnext-tiny_stage_3_block_1_p (None, 7, 7, 768)    2360064     convnext-tiny_stage_3_block_1_gel
__________________________________________________________________________________________________
convnext-tiny_stage_3_block_1_l (None, 7, 7, 768)    768         convnext-tiny_stage_3_block_1_poi
__________________________________________________________________________________________________
convnext-tiny_stage_3_block_1_i (None, 7, 7, 768)    0           convnext-tiny_stage_3_block_1_lay
__________________________________________________________________________________________________
add_16 (Add)                    (None, 7, 7, 768)    0           add_15[0][0]                     
                                                                 convnext-tiny_stage_3_block_1_ide
__________________________________________________________________________________________________
convnext-tiny_stage_3_block_2_d (None, 7, 7, 768)    38400       add_16[0][0]                     
__________________________________________________________________________________________________
convnext-tiny_stage_3_block_2_l (None, 7, 7, 768)    1536        convnext-tiny_stage_3_block_2_dep
__________________________________________________________________________________________________
convnext-tiny_stage_3_block_2_p (None, 7, 7, 3072)   2362368     convnext-tiny_stage_3_block_2_lay
__________________________________________________________________________________________________
convnext-tiny_stage_3_block_2_g (None, 7, 7, 3072)   0           convnext-tiny_stage_3_block_2_poi
__________________________________________________________________________________________________
convnext-tiny_stage_3_block_2_p (None, 7, 7, 768)    2360064     convnext-tiny_stage_3_block_2_gel
__________________________________________________________________________________________________
convnext-tiny_stage_3_block_2_l (None, 7, 7, 768)    768         convnext-tiny_stage_3_block_2_poi
__________________________________________________________________________________________________
convnext-tiny_stage_3_block_2_i (None, 7, 7, 768)    0           convnext-tiny_stage_3_block_2_lay
__________________________________________________________________________________________________
add_17 (Add)                    (None, 7, 7, 768)    0           add_16[0][0]                     
                                                                 convnext-tiny_stage_3_block_2_ide
__________________________________________________________________________________________________
convnext-tiny_head_gap (GlobalA (None, 768)          0           add_17[0][0]                     
__________________________________________________________________________________________________
convnext-tiny_head_layernorm (L (None, 768)          1536        convnext-tiny_head_gap[0][0]     
__________________________________________________________________________________________________
convnext-tiny_head_dense (Dense (None, 1000)         769000      convnext-tiny_head_layernorm[0][0
==================================================================================================
Total params: 28,589,128
Trainable params: 28,589,128
Non-trainable params: 0
__________________________________________________________________________________________________

Process finished with exit code 0

References

github.com/keras-team/…

www.tensorflow.org/api_docs/py…

A ConvNet for the 2020s

ConvNeXt网络详解

13.1 ConvNeXt网络讲解