Kafka生产者原理

189 阅读15分钟

开启掘金成长之旅!这是我参与「掘金日新计划 · 2 月更文挑战」的第 2 天,点击查看活动详情

生产者就是负责向Kafka发送消息的应用程序。

在Kafka的历史变迁中,一共有两个大版本的生产者客户端:第一个是于Kafka开源之初使用Scala语言编写的客户端,我们可以称之为旧生产者客户端(Old Producer)或Scala版生产者客户端;第二个是从Kafka 0.9.x 版本开始推出的使用 Java 语言编写的客户端,我们可以称之为新生产者客户端(New Producer)或Java版生产者客户端,它弥补了旧版客户端中存在的诸多设计缺陷。

消息生产

一个正常的生产逻辑需要具备以下几个步骤:

  1. 配置生产者客户端参数及创建相应的生产者实例。
  2. 构建待发送的消息。
  3. 发送消息。
  4. 关闭生产者实例。

必要的生产者客户端参数

  • bootstrap.servers: 该参数用来指定生产者客户端连接Kafka集群所需的broker地址清单,具体的内容格式为host1:port1,host2:port2,可以设置一个或多个地址,中间以逗号隔开,此参数的默认值为“”。注意这里并非需要所有的broker地址,因为生产者会从给定的broker里查找到其他broker的信息。不过建议至少要设置两个以上的broker 地址信息,当其中任意一个宕机时,生产者仍然可以连接到 Kafka集群上。
  • key.serializer 和 value.serializer: broker 端接收的消息必须以字节数组(byte[])的形式存在。“key.serializer和value.serializer这两个参数分别用来指定key和value序列化操作的序列化器,这两个参数无默认值。注意这里必须填写序列化器的全限定名,如org.apache.kafka.common.serialization.StringSerializer,单单指定StringSerializer是错误的。

原理分析

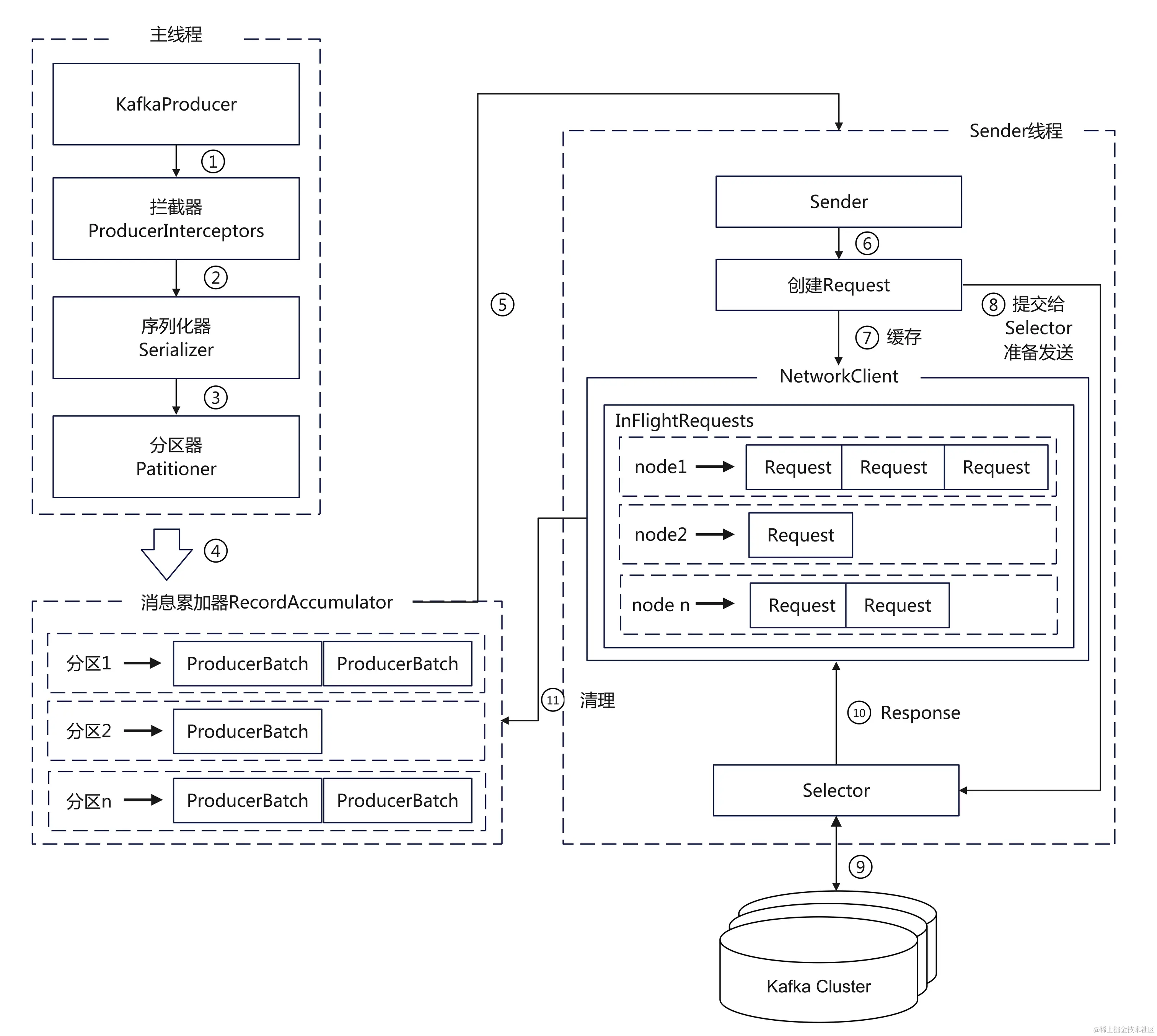
下面我们来看一下生产者客户端的整体架构,如下图所示:

Kafka生产者客户端整体架构图.jpeg

整个生产者客户端由两个线程协调运行,这两个线程分别为主线程和Sender线程(发送线程)。

  1. 在主线程中由KafkaProducer创建消息,然后通过可能的拦截器、序列化器和分区器的作用之后缓存到消息累加器(RecordAccumulator,也称为消息收集器)中。

  2. Sender 线程负责从RecordAccumulator中获取消息并将其发送到Kafka中。 RecordAccumulator 主要用来缓存消息以便 Sender 线程可以批量发送,进而减少网络传输的资源消耗以提升性能。RecordAccumulator 缓存的大小可以通过生产者客户端参数buffer.memory 配置,默认值为 33554432B,即 32MB。如果生产者发送消息的速度超过发送到服务器的速度,则会导致生产者空间不足,这个时候KafkaProducer的send()方法调用要么被阻塞,要么抛出异常,这个取决于参数max.block.ms的配置,此参数的默认值为60000,即60秒。

  3. 主线程中发送过来的消息都会被追加到RecordAccumulator的某个双端队列(Deque)中,在 RecordAccumulator 的内部为每个分区都维护了一个双端队列,队列中的内容就是ProducerBatch,即 Deque<ProducerBatch>。消息写入缓存时,追加到双端队列的尾部;Sender读取消息时,从双端队列的头部读取。注意ProducerBatch不是ProducerRecord,ProducerBatch中可以包含一至多个 ProducerRecord。通俗地说,ProducerRecord 是生产者中创建的消息,而ProducerBatch是指一个消息批次,ProducerRecord会被包含在ProducerBatch中,这样可以使字节的使用更加紧凑。与此同时,将较小的ProducerRecord拼凑成一个较大的ProducerBatch,也可以减少网络请求的次数以提升整体的吞吐量。如果生产者客户端需要向很多分区发送消息,则可以将buffer.memory参数适当调大以增加整体的吞吐量。

  4. 消息在网络上都是以字节(Byte)的形式传输的,在发送之前需要创建一块内存区域来保存对应的消息。在Kafka生产者客户端中,通过java.io.ByteBuffer实现消息内存的创建和释放。不过频繁的创建和释放是比较耗费资源的,在RecordAccumulator的内部还有一个BufferPool,它主要用来实现ByteBuffer的复用,以实现缓存的高效利用。不过BufferPool只针对特定大小的ByteBuffer进行管理,而其他大小的ByteBuffer不会缓存进BufferPool中,这个特定的大小由batch.size参数来指定,默认值为16384B,即16KB。我们可以适当地调大batch.size参数以便多缓存一些消息。

    ProducerBatch的大小和batch.size参数也有着密切的关系。当一条消息(ProducerRecord)流入RecordAccumulator时,会先寻找与消息分区所对应的双端队列(如果没有则新建),再从这个双端队列的尾部获取一个 ProducerBatch(如果没有则新建),查看 ProducerBatch 中是否还可以写入这个 ProducerRecord,如果可以则写入,如果不可以则需要创建一个新的ProducerBatch。在新建ProducerBatch时评估这条消息的大小是否超过batch.size参数的大小,如果不超过,那么就以 batch.size 参数的大小来创建 ProducerBatch,这样在使用完这段内存区域之后,可以通过BufferPool 的管理来进行复用;如果超过,那么就以评估的大小来创建ProducerBatch,这段内存区域不会被复用。

  5. Sender 从 RecordAccumulator 中获取缓存的消息之后,会进一步将原本<分区,Deque<ProducerBatch>>的保存形式转变成<Node,List< ProducerBatch>的形式,其中Node表示Kafka集群的broker节点。对于网络连接来说,生产者客户端是与具体的broker节点建立的连接,也就是向具体的 broker 节点发送消息,而并不关心消息属于哪一个分区;而对于 KafkaProducer的应用逻辑而言,我们只关注向哪个分区中发送哪些消息,所以在这里需要做一个应用逻辑层面到网络I/O层面的转换。

  6. 在转换成<Node,List<ProducerBatch>>的形式之后,Sender 还会进一步封装成<Node,Request>的形式,这样就可以将Request请求发往各个Node了,这里的Request是指Kafka的各种协议请求,对于消息发送而言就是指具体的 ProduceRequest。

  7. 请求在从Sender线程发往Kafka之前还会保存到InFlightRequests中,InFlightRequests保存对象的具体形式为 Map<NodeId,Deque<Request>>,它的主要作用是缓存了已经发出去但还没有收到响应的请求(NodeId 是一个 String 类型,表示节点的 id 编号)。与此同时,InFlightRequests还提供了许多管理类的方法,并且通过配置参数还可以限制每个连接(也就是客户端与Node之间的连接)最多缓存的请求数。这个配置参数为max.in.flight.requests.per.connection,默认值为 5,即每个连接最多只能缓存 5 个未响应的请求,超过该数值之后就不能再向这个连接发送更多的请求了,除非有缓存的请求收到了响应(Response)。通过比较Deque<Request>的size与这个参数的大小来判断对应的Node中是否已经堆积了很多未响应的消息,如果真是如此,那么说明这个 Node 节点负载较大或网络连接有问题,再继续向其发送请求会增大请求超时的可能。

  8. 提交给Selector准备发送。

  9. 通过Selector发送到kafka节点。

  10. 发送后需要等待kafka节点的响应,这取决于配置项acks,如果成功接收到响应结果,则从InFlightRequests中清除此请求,否则的话会进行重发操作,这取决于配置项retriesretry.backoff.ms

  11. 清理消息累加器 RecordAccumulator 中的数据。

重要的生产者参数

在KafkaProducer中,除了上述提及的3个默认的客户端参数,大部分的参数都有合理的默认值,一般不需要修改它们。不过了解这些参数可以让我们更合理地使用生产者客户端,其中还有一些重要的参数涉及程序的可用性和性能,如果能够熟练掌握它们,也可以让我们在编写相关的程序时能够更好地进行性能调优与故障排查。下面挑选一些重要的参数进行讲解。

1. acks

这个参数用来指定分区中必须要有多少个副本收到这条消息,之后生产者才会认为这条消息是成功写入的。acks 是生产者客户端中一个非常重要的参数,它涉及消息的可靠性和吞吐量之间的权衡。acks参数有3种类型的值(都是字符串类型)。

  • acks=1。默认值即为1。生产者发送消息之后,只要分区的leader副本成功写入消息,那么它就会收到来自服务端的成功响应。如果消息无法写入leader副本,比如在leader 副本崩溃、重新选举新的 leader 副本的过程中,那么生产者就会收到一个错误的响应,为了避免消息丢失,生产者可以选择重发消息。如果消息写入leader副本并返回成功响应给生产者,且在被其他follower副本拉取之前leader副本崩溃,那么此时消息还是会丢失,因为新选举的leader副本中并没有这条对应的消息。acks设置为1,是消息可靠性和吞吐量之间的折中方案。

  • acks=0。生产者发送消息之后不需要等待任何服务端的响应。如果在消息从发送到写入Kafka的过程中出现某些异常,导致Kafka并没有收到这条消息,那么生产者也无从得知,消息也就丢失了。在其他配置环境相同的情况下,acks 设置为 0 可以达到最大的吞吐量。

  • acks=-1或acks=all。生产者在消息发送之后,需要等待ISR中的所有副本都成功写入消息之后才能够收到来自服务端的成功响应。在其他配置环境相同的情况下,acks 设置为-1(all)可以达到最强的可靠性。但这并不意味着消息就一定可靠,因为ISR中可能只有leader副本,这样就退化成了acks=1的情况。要获得更高的消息可靠性需要配合 min.insync.replicas 等参数的联动.

2. max.request.size

这个参数用来限制生产者客户端能发送的消息的最大值,默认值为 1048576B,即 1MB。一般情况下,这个默认值就可以满足大多数的应用场景了。笔者并不建议读者盲目地增大这个参数的配置值,尤其是在对Kafka整体脉络没有足够把控的时候。因为这个参数还涉及一些其他参数的联动,比如broker端的message.max.bytes参数,如果配置错误可能会引起一些不必要的异常。比如将broker端的message.max.bytes参数配置为10,而max.request.size参数配置为20,那么当我们发送一条大小为15B的消息时,生产者客户端就会报出如下的异常:

org.apache.kafka.common.errors.RecordTooLargeException: The request included a message 
larger than the max message size the server will accept.

3.retries和retry.backoff.ms

retries参数用来配置生产者重试的次数,在kafka 2.1.x之前的版本默认值为0,即在发生异常的时候不进行任何重试动作。从2.1.x开始默认值是int最大值2147483647。 消息在从生产者发出到成功写入服务器之前可能发生一些临时性的异常,比如网络抖动、leader副本的选举等,这种异常往往是可以自行恢复的,生产者可以通过配置retries大于0的值,以此通过内部重试来恢复而不是一味地将异常抛给生产者的应用程序。如果重试达到设定的次数,那么生产者就会放弃重试并返回异常。不过并不是所有的异常都是可以通过重试来解决的,比如消息太大,超过max.request.size参数配置的值时,这种方式就不可行了。

重试还和另一个参数retry.backoff.ms有关,这个参数的默认值为100,它用来设定两次重试之间的时间间隔,避免无效的频繁重试。在配置 retries 和 retry.backoff.ms之前,最好先估算一下可能的异常恢复时间,这样可以设定总的重试时间大于这个异常恢复时间,以此来避免生产者过早地放弃重试。 Kafka 可以保证同一个分区中的消息是有序的。如果生产者按照一定的顺序发送消息,那么这些消息也会顺序地写入分区,进而消费者也可以按照同样的顺序消费它们。对于某些应用来说,顺序性非常重要,比如MySQL的binlog传输,如果出现错误就会造成非常严重的后果。如果将acks参数配置为非零值,并且max.in.flight.requests.per.connection参数配置为大于1的值,那么就会出现错序的现象:如果第一批次消息写入失败,而第二批次消息写入成功,那么生产者会重试发送第一批次的消息,此时如果第一批次的消息写入成功,那么这两个批次的消息就出现了错序。一般而言,在需要保证消息顺序的场合建议把参数max.in.flight.requests.per.connection配置为1,而不是把acks配置为0,不过这样也会影响整体的吞吐。

4.compression.type

这个参数用来指定消息的压缩方式,默认值为“none”,即默认情况下,消息不会被压缩。该参数还可以配置为“gzip”“snappy”和“lz4”。对消息进行压缩可以极大地减少网络传输量、降低网络I/O,从而提高整体的性能。消息压缩是一种使用时间换空间的优化方式,如果对时延有一定的要求,则不推荐对消息进行压缩。

5.connections.max.idle.ms

这个参数用来指定在多久之后关闭闲置的连接,默认值是540000(ms),即9分钟。

6.linger.ms

这个参数用来指定生产者发送 ProducerBatch 之前等待更多消息(ProducerRecord)加入ProducerBatch 的时间,默认值为 0。生产环境建议设置为0-100之间。 生产者客户端会在 ProducerBatch 被填满或等待时间超过linger.ms 值时发送出去。增大这个参数的值会增加消息的延迟,但是同时能提升一定的吞吐量。这个linger.ms参数与TCP协议中的Nagle算法有异曲同工之妙。

7. buffer.memory

RecordAccumulator 缓存的大小,默认值为 33554432B,即 32MB。如果生产者发送消息的速度超过发送到服务器的速度,则会导致生产者空间不足,这个时候KafkaProducer的send()方法调用要么被阻塞,要么抛出异常,这个取决于参数max.block.ms的配置,此参数的默认值为60000,即60秒。 至至 8. batch.size

在向同一分区发送多条记录时,生产者会尝试将记录批量合并成较少的请求。这有助于提高客户端和服务器的性能。默认值是16384,即16KB。

发送到broker的请求将包含多个批次,每个分区都有一个批次的数据可供发送。 批次大小越小,批处理就越少,并可能降低吞吐量(批次大小为零将完全禁用批处理)。如果批次大小很大,可能会更浪费内存,因为生产者总是会分配一个指定批次大小的缓冲区,以备有更多记录。

注意:该设置给出了要发送的批处理大小的上限。如果该分区累积的字节数少于此值,我们将在 linger.ms 时间内 “徘徊”,等待更多记录出现。如果该 linger.ms 设置的是默认值0,这意味着即使累积的批次大小小于该 batch.size 设置值,生产者也会立即发送一条记录。

9.request.timeout.ms

这个参数用来配置Producer等待请求响应的最长时间,默认值为30000(ms)。请求超时之后可以选择进行重试。注意这个参数需要比broker端参数replica.lag.time.max.ms的值要大,这样可以减少因客户端重试而引起的消息重复的概率。

参考

  • 深入理解Kafka:核心设计与实践原理 2019 朱忠华 此材料可能受版权保护。

如果这篇文章帮助到了你,欢迎评论、点赞、转发。