【IT老齐013】前后端分离架构到底做了啥,让互联网项目情有独钟?

93 阅读1分钟

配合视频效果更佳:www.itlaoqi.com/chapter.htm…

纯后端页面渲染

  • 前端团队无法单独调试
  • 前后端职责不清,分工不明
  • 不具备多端应用的潜力

确保数据与应用解耦是首要选择

半分离架构模式

优点

  • 前后端团队解耦
  • 后端API与数据重用
  • 应用渲染更灵活约定好
  • 接口与规范进行Mock开发

缺点

  • 前端失去动态性
  • 搜索引擎SEO不友好

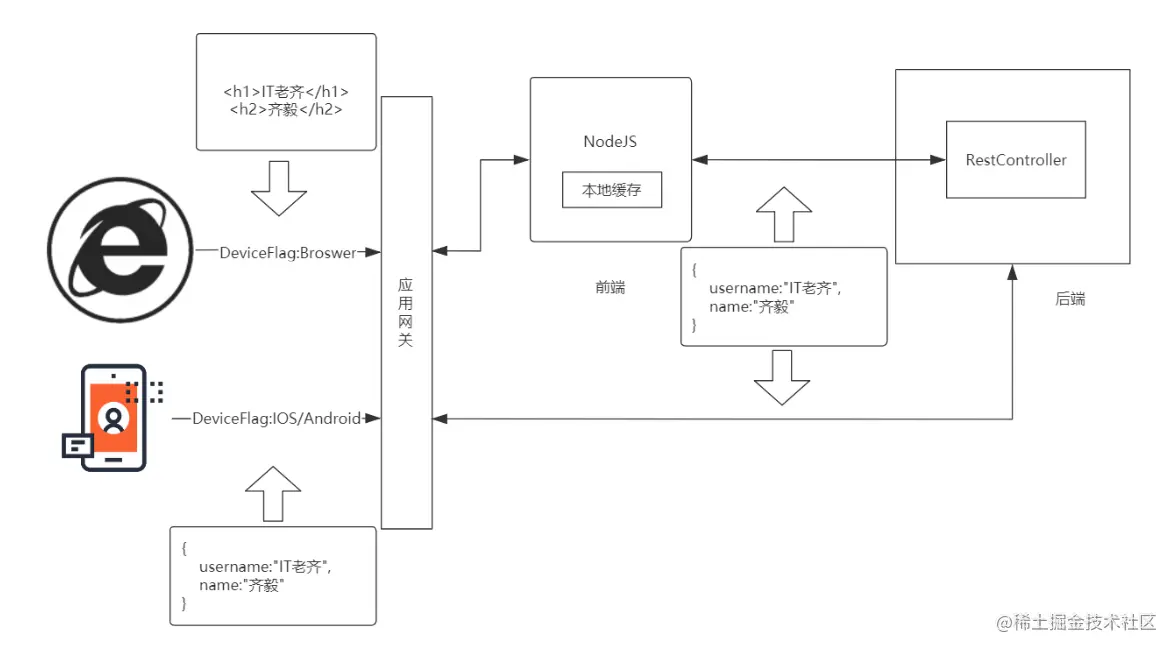
全分离架构

优点:多端解耦,SEO友好

缺点:需要更多的自研能力构建BFF网关(前端对后端网关)