WuThreat全球首发身份安全云产品ITDR Cloud

384 阅读6分钟

随着数字化、人工智能,公有/私有云,物联网络及5G等技术的全面普及和迭代更新,身份管理建设作为企业重要的基础设施。然而现在黑客攻击手段复杂多样,在历年的实战攻防演习中有大量的应用系统与基础设施的的身份入口被攻破,以及最近的微软、英伟达、Uber、甚至Okta等都遭受了Lapsus$的身份攻击,造成大量的客户数据泄露。

面对身份入口成为业务安全新的攻击面,端到端身份防御会成为对抗数据泄露最有利的技术手段。回顾计算机的威胁检测手段从防病毒检测、网络威胁检测、应用威胁检测不断的发展;从IAM技术与零信任身份技术的全面普及,这些技术架构的本身缺少身份威胁检测防御能力;大量的HTTPS流量加密与WEB的对称和非对称的加密算法,造成普遍的防御盲区被攻击者绕过利用;传统的网络威胁和应用威胁的检测与防御设备,存在告警单一、误报多、处置单一并且更加不认识业务与身份流量信息。这一系列的身份威胁现状造成了身份认证系统成为了一个“安全孤岛”,身份基础设施与身份凭证自然成为了重要的攻击面,所以需要身份威胁检测与响应技术(ITDR)来进行威胁检测与实时响应处置。

WuThreat 是全球ITDR领域的引领者,WuThreat发布的ITDR Cloud产品即包含云身份管理(IDaaS)能力及身份威胁检测与响应(ITDR)能力。ITDR Cloud 基于云原生在身份认证数据流量中使用AI驱动的身份威胁检测与响应(ITDR)技术,快速为企业的Web、APP、设备等业务平台构建一体化多身份场景的认证与威胁检测解决方案,真正做到身份认证即身份安全。

图:ITDR Cloud产品定位

ITDR Cloud将引领国内IAM技术跃进到阶段四--身份安全云,将更好的服务企业的内部业务、互联网业务、资源类业务系统的身份认证与威胁检测需求。ITDR Cloud与现有IAM厂商的产品商业定位有非常明显的区别,大部分厂商普遍在阶段二与阶段三的位置,提供IAM与IDaaS产品服务,主要是为了保障业务的身份认证联通性。ITDR Cloud将引领先进企业的数字化建设从身份云直接进入到WuThreat身份安全云时代。

1、支持多场景的身份认证

图:多场景的身份认证

       可根据业务系统的需求进行身份认证与业务认证场景创建,支持APP或API方式来对接场景身份认证与身份安全能力;可根据需求实时对应用项目进行内容、协议、安全配置和智能验证码配置的更改;同时支持多种场景的应用:如身份认证场景、营销活动场景、内容反爬场景等。除传统身份认证的账号密码、短信、注册流程基本设置外,支持最先进的安全能力如:实时代理IP情报、黑灰产小号情报、防爬虫框架、智能验证码、风控锁定、反欺诈等安全设置。

2、支持密码的托管与非托管模式

图:密码托管方式

       托管与非托管密码模型都基于高强度的RSA公私加密,防范密码数据的脱库造成信息泄露。可以根据自身业务系统的需求选择托管模式或非托管模式,非托管模式是一种新的模式,改造成本较小,避免了密码重要敏感信息多处的存放;适合业务系统快速上线的需求,保留原有的身份管理流程,并且拥有增强的身份安全保护能力。

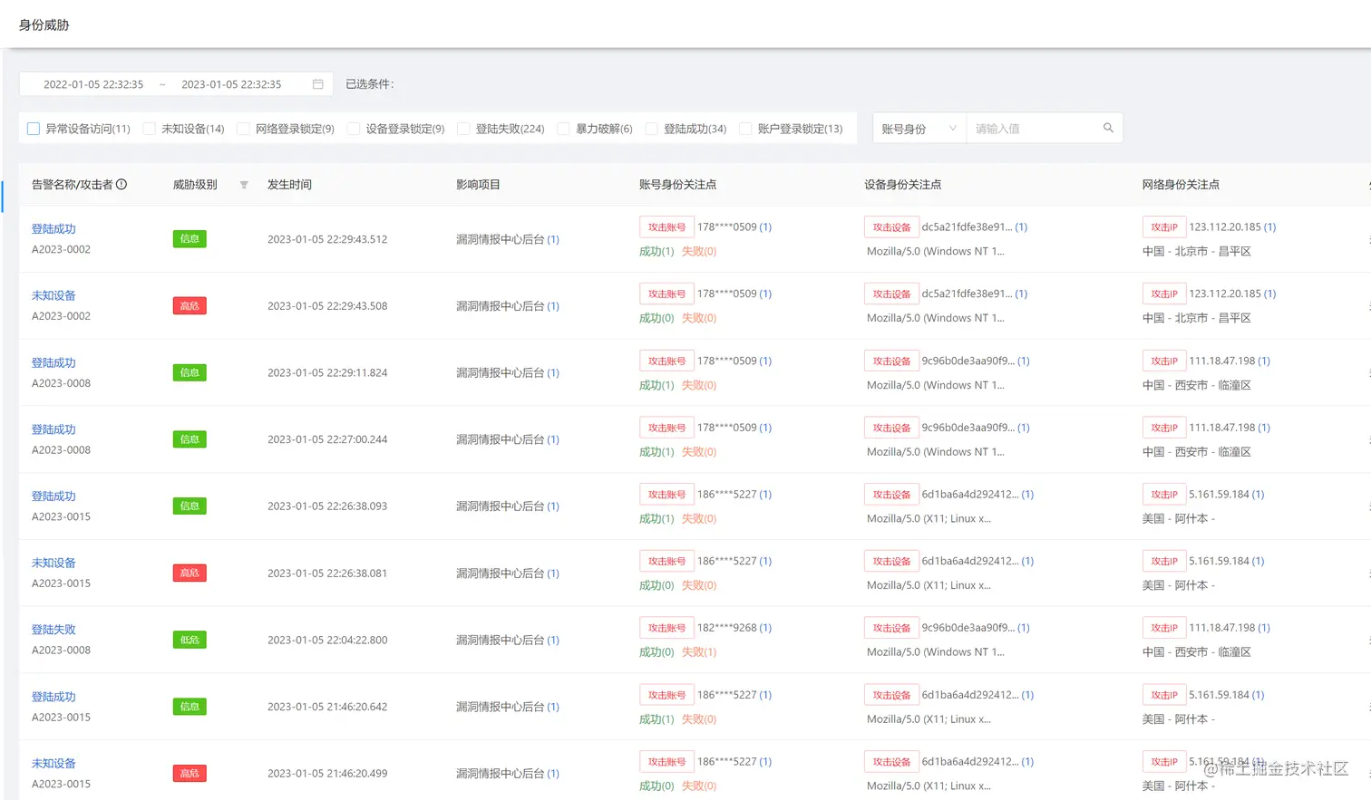
3、身份威胁检测与响应

图:身份威胁告警

       身份威胁功能将根据ITDR的威胁检测与响应的能力与要求,针对威胁检测与响应的多引擎能力,将识别身份威胁的WEB攻击类、身份攻击类、业务安全类威胁,可支持针对攻击者与访问者进行已经完成根据机器学习、威胁情报、安全规则、黑灰产攻击特征等,创建了数十种的威胁告警,支持4种高、中、低、信息级别的身份威胁告警。将支持通过身份安全编排针对不同的身份数据与威胁信息进行实时响应编排处置。

图:攻击路径还原和攻击者画像

       在详细的身份威胁中,将参考ITDR的根据攻击技术与场景、MITRE ATT&CK 框架的14个阶段涉及到206个安全技术点上千种攻击/检测点行为,将身份威胁攻击者和访问者根据用户画像绘制出攻击者的完整攻击链,并在攻击者画像、设备身份、客户端指纹、网络身份、账号身份、虚拟身份、真实IP地址、攻击日志、业务系统等维度的上下文信息进行详细的可视化展示,便用分析者可以清晰的看到还原的身份威胁攻击故事线。

图:多种实时响应模式

      WuThreat ITDR Cloud解决方案融合ITDR能力,创建设立了多种实时响应模式,具体如下:

威胁处置动作模式:审计模式、拦截模式

  • 多因素:短信、邮箱、OTP、人证
  • 人机对抗:智能化验证码
  • 封禁策略:账号、设备、网络身份、客户端指纹
  • 账号管理:禁用、锁定
  • 锁定策略:账号、设备、网络设备
  • 安全对抗:防Bots特征、防恶意框架、防浏览器调试、防黑客扫描工具、防黑客代理工具等

       WuThreat ITDR Cloud 还有更多的产品亮点,欢迎大家注册试用体验。WuThreat ITDR Cloud适用于先进企业数字化建设的身份安全认证与身份威胁检测需求,已经广泛用于在泛互联网领域、高科技、大制造、新零售、政企、金融等行业先进企业的数字身份安全建设。产品体验与更多详细产品细节,欢迎访问官网和联系我们:www.wuthreat.com