m基于Lorenz混沌自同步的混沌数字保密通信系统的FPGA实现,verilog编程实现+MATLAB混沌验证程序

147 阅读1分钟

1.算法概述

    本系统的基本结构框图如下所示:

 

1.png

 

系统顶层文件

 

——加密调制模块

 

————加密子模块,lorenz混沌序列产生模块,组帧模块,并串模块。

 

——解密解调模块

 

————解密子模块,Lorenz混沌序列产生模块,搜帧模块,串并模块。

 

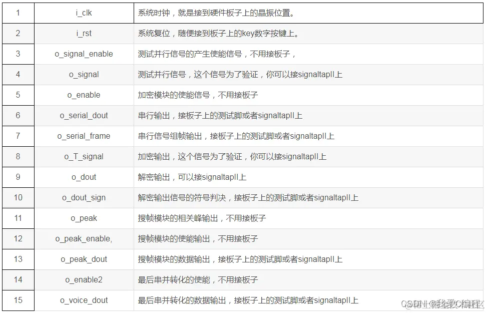
其顶层的文件的管脚为:

 

2.png

 

2.仿真效果预览

matlab2022a,Quartus II 10.0+ModelSim-Altera 6.6d Starter Edition仿真结果如下:

  3.png

4.png

5.png

6.png  

3.MATLAB部分代码预览 `..........................................................

N = 40000;

 

x = zeros(N,1);

y = zeros(N,1);

z = zeros(N,1);

 

x(1) = 0.001;

y(1) = 0.002;

z(1) = 0.02;

 

for n = 1:N-1

    n

    

    y(n+1) = 0.028x(n)      - 0.001x(n)z(n) + 0.999y(n);    

    

    x(n+1) = 0.99x(n)       + 0.01y(n);

    z(n+1) = 0.001*x(n)y(n) + 0.9973333z(n);   

 

end

 

figure;

subplot(221);plot(x,y);title('x-y');

subplot(222);plot(x,z);title('x-z');

subplot(223);plot(y,z);title('y-z');

subplot(224);plot3(x,y,z);title('x-y-z');

 

figure;

subplot(311);plot(x);title('x');

subplot(312);plot(y);title('y');

subplot(313);plot(z);title('z');

01_053_m`