Android音视频开发——Media FrameWork框架与源码解析

1,847 阅读6分钟

开启掘金成长之旅!这是我参与「掘金日新计划 · 12 月更文挑战」的第33天,点击查看活动详情

一、Media FrameWork背景

Media Framework (媒体函数库):此函数库让Android 可以播放与录制许多常见的音频与视频文件,支持的文件类型包括MPEG4、H.264、MP3、AAC、AMR、JPG 与PNG 等。 Surface Manager (外观管理函数库):管理图形界面的操作与2D、3D 图层的显示。

二、Media Framework“路线图”

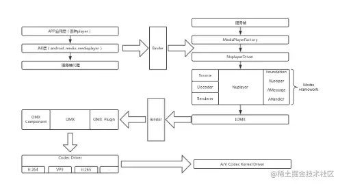
我们可以看到用红色框框圈起来的地方。一个是app应用Gallery(也可以为第三方player);另外一个是Media Framework。对,没错,讲了这么多,我们的主角“Media Framework”登场了。让我们来看看它的庐山真面目, 如图所示:

image.png 接下来,给大家简单介绍下它。看的顺序是→ ↓ ← ↓ →(肿么都觉得是在打表情符号:-D)

2.1 代理端

这一端做的事情只是将下面复杂的逻辑进行封装(java),然后透过jni调用底下的native层方法来实现具体功能。并且,这些个具体的功能是在服务端实现的,他们分属不同的进程,通过Binder来通信,最终通过调用服务端的方法实现具体的逻辑处理。(有童鞋问:Binder是个什么东东呢? 小弟有时间会讲解的,现在就理解它是一个进程间通信的一种方式就好,求甚解的朋友们可以百度下_)

2.2 服务端

这边的主要任务就是在MediaPlayerFactory中,创建出NuplayerDriver(这个不是底层驱动啦,我们理解为一个抽象出来的NuPlayer的基类就好啦)。 然后Nuplayer中,我们可以看到有三大模块。

2.2.1 Source

这里是为咱们的播放器提供数据源的(解协议,解封装在这里)。

2.2.2 Decoder

这里是解码数据的地方(解码在这里)

2.2.3 Renderer

这里是用来做Display的,里面涉及到A/V同步的问题。

2.2.4 Foundation

这个部分是基础类。在后面的分析当中,我们会知道在NuPlayer中会启动相当多的线程,这些线程如何异步/同步的通信,需要依靠AMessage/ALooper/AHandler来支持

之后, 通过接口类IOMX来通过Binder进程间通信,远程调用具体的decoder来实现解码。

2.3 OMX端

这一端就比较靠近底层了,里面会有各种各样的插件注册其中。它还链接这Codec Driver,这里面就是放的各种具体的解码器啦。

2.4 Kernel端

最后, OMX的具体解码器在启动Kernel层的A/V Codec Driver完成解码操作。

三、media播放的流程

在framework中涉及media播放的流程头文件如下:IMediaPlayer.h mediaplayer.h IMediaPlayerClient.h

其中IMediaPlayer.h 定义了binder通信相关的接口。 定义了:

class BnMediaPlayer: public BnInterface
{
public:
    virtual status_t    onTransact( uint32_t code,
                                    const Parcel& data,
                                    Parcel* reply,
                                    uint32_t flags = 0);
};
​

IMediaPlayer.cpp 是binder通信接口的实现。

class BpMediaPlayer: public BpInterface; status_t BnMediaPlayer::onTransact();

mediaplayer.h 是定义binder通信的客户端。在mediaplayer.cpp中如下代码获取BpMediaPlayer:

status_t MediaPlayer::setDataSource(
        const char *url, const KeyedVector *headers)
{
    LOGV("setDataSource(%s)", url);
    status_t err = BAD_VALUE;
    if (url != NULL) {
        const sp& service(getMediaPlayerService());
        if (service != 0) {
            sp player(
                    service->create(getpid(), this, url, headers));
            err = setDataSource(player);
        }
    }
    return err;
}
​

服务端在MediaPlayerService中。在MediaPlayerService.h中如下定义:

class Client : public BnMediaPlayer 在MediaPlayerService.cpp中,create函数创建了BnMediaPlayer:

sp MediaPlayerService::create(
​
        pid_t pid, const sp& client, const char* url,
        const KeyedVector *headers)
{
    int32_t connId = android_atomic_inc(&mNextConnId);
    sp c = new Client(this, pid, connId, client);
    LOGV("Create new client(%d) from pid %d, url=%s, connId=%d", connId, pid, url, connId);
    if (NO_ERROR != c->setDataSource(url, headers))
    {
        c.clear();
        return c;
    }
    wp w = c;
    Mutex::Autolock lock(mLock);
    mClients.add(w);
    return c;
}

再来看一下MediaPlayer这个类的定义:

class MediaPlayer : public BnMediaPlayerClient, public virtual IMediaDeathNotifier{} 很奇怪:在binder通信的客户端又有了一个binder通信的服务端: BnMediaPlayerClient 在IMediaPlayerClient.h 中这个binder通信只有一个接口:

class IMediaPlayerClient: public IInterface
{
public:
    DECLARE_META_INTERFACE(MediaPlayerClient);
​
    virtual void notify(int msg, int ext1, int ext2) = 0;
};

这个binder通信服务为谁提供呢?在回来看一下MediaPlayerServer中的create函数:

sp MediaPlayerService::create( pid_t pid, const sp& client, const char* url, const KeyedVector *headers)

客户端就在这里。这个binder通信的实质是一个消息回调函数。framework的media框架式一个双向binder通信框架。

以seek接口为例分析一下:

在mediaplayer.cpp 中调用seek 接口:

MediaPlayer (seek)->IMediaPlayer.cpp(bpMediaPlayer.cpp )->IMediaPlayer.cpp(bnMediaPlayer.cpp ) 在这里其实已经达到了MediaPlayerServer中的client类。当底层的media 完成seek 以后会抛出来一消息,这个消息通过 const sp& client 通知给MediaPlayer。

在media相关的头文件中还有一个MediaPlayerInterface.h 。这个头文件定义了底层播放器的接口。

四、Media FrameWork源码分析

首先,针对android.media.MediaPlayer进行分析。

里面有很多native代码,我们找到native_setup这个jni调用,就可以找到整个框架的入口。

我们查看

android_media_MediaPlayer_native_setup@framworks/base/media/jni/android_media_MediaPlayer.cpp

`static` `void` `android_media_MediaPlayer_native_setup(JNIEnv *env, jobject thiz, jobject weak_this)``{``  ``LOGV(``"native_setup"``);``  ``sp mp = ``new` `MediaPlayer();``  ``if` `(mp == NULL) {``    ``jniThrowException(env, ``"java/lang/RuntimeException"``, ``"Out of memory"``);``    ``return``;``  ``}` `  ``// create new listener and give it to MediaPlayer``  ``sp listener = ``new` `JNIMediaPlayerListener(env, thiz, weak_this);``  ``mp->setListener(listener);` `  ``// Stow our new C++ MediaPlayer in an opaque field in the Java object.``  ``setMediaPlayer(env, thiz, mp);``}`

从这里的这段代码我们可以看到,android在这里实例化了一个变量mp:MediaPlayer。

并且为其设置了一个listener:JNIMediaPlayerListener

在后面我们会看到对mp的调用,现在让我们先看看MediaPlayer是什么东东。

MediaPlayer@framworks/base/include/media/mediaplayer.h MediaPlayer@framworks/base/media/libmedia/mediaplayer.cpp

在这里我们终于找到了MediaPlayer:BnMediaPlayerClient:IMediaPlayerClient

原来他也是对Bind Native的一个封装,而他本身提供了很多方法用于访问,包括start等。下面是start的cpp代码:

status_t MediaPlayer::start()
{
    LOGV("start");
    Mutex::Autolock _l(mLock);
    if (mCurrentState & MEDIA_PLAYER_STARTED)
        return NO_ERROR;
    if ( (mPlayer != 0) && ( mCurrentState & ( MEDIA_PLAYER_PREPARED |
                    MEDIA_PLAYER_PLAYBACK_COMPLETE | MEDIA_PLAYER_PAUSED ) ) ) {
        mPlayer->setLooping(mLoop);
        mPlayer->setVolume(mLeftVolume, mRightVolume);
        mCurrentState = MEDIA_PLAYER_STARTED;
        status_t ret = mPlayer->start();
        if (ret != NO_ERROR) {
            mCurrentState = MEDIA_PLAYER_STATE_ERROR;
        } else {
            if (mCurrentState == MEDIA_PLAYER_PLAYBACK_COMPLETE) {
                LOGV("playback completed immediately following start()");
            }
        }
        return ret;
    }
    LOGE("start called in state %d", mCurrentState);
    return INVALID_OPERATION;
}

原来这里又调用了mPlayer:sp

从这里我们发现最终的服务,还是由IMediaPlayer这个东西提供的,而IMediaPlayer@framworks/base/include/media/IMediaPlayer.h

实际上是如下定义的一个类,它继承了IInterface@framworks/base/include/binder/IInterface.h这个类(注意虽然名字是Interface,但是它确实是个类!:-))

class IMediaPlayer: public IInterface
{
public:
    DECLARE_META_INTERFACE(MediaPlayer);
 
    virtual void            disconnect() = 0;
 
    virtual status_t        setVideoSurface(const sp<ISurface>& surface) = 0;
    virtual status_t        prepareAsync() = 0;
    virtual status_t        start() = 0;
    virtual status_t        stop() = 0;
    virtual status_t        pause() = 0;
    virtual status_t        isPlaying(bool* state) = 0;
    virtual status_t        seekTo(int msec) = 0;
    virtual status_t        getCurrentPosition(int* msec) = 0;
    virtual status_t        getDuration(int* msec) = 0;
    virtual status_t        reset() = 0;
    virtual status_t        setAudioStreamType(int type) = 0;
    virtual status_t        setLooping(int loop) = 0;
    virtual status_t        setVolume(float leftVolume, float rightVolume) = 0;
    virtual status_t        invoke(const Parcel& request, Parcel *reply) = 0;
    virtual status_t        setMetadataFilter(const Parcel& filter) = 0;
    virtual status_t        getMetadata(bool update_only,
                                        bool apply_filter,
                                        Parcel *metadata) = 0;
};

为了弄清楚,在什么地方产生的mPlayer,我转而分析MediaPlayerService@framworks/base/media/libmediaplayerservice/MediaPlayerService.h

其中有如下代码

virtual sp<IMediaRecorder>  createMediaRecorder(pid_t pid);
void    removeMediaRecorderClient(wp<MediaRecorderClient> client);
virtual sp<IMediaMetadataRetriever> createMetadataRetriever(pid_t pid);
 
// House keeping for media player clients
virtual sp<IMediaPlayer>    create(pid_t pid, const sp<IMediaPlayerClient>& client, const char* url);
virtual sp<IMediaPlayer>    create(pid_t pid, const sp<IMediaPlayerClient>& client, int fd, int64_t offset, int64_t length);

原来在这个地方会创建你sp对象。