带你走进Java数据结构与算法(十二)

68 阅读2分钟

开启掘金成长之旅!这是我参与「掘金日新计划 · 12 月更文挑战」的第二十二天,点击查看活动详情

前言:上文学习到排序算法,今天带领大家走进算法的时间复杂度

时间复杂度

  1. 一般情况下,算法中的基本操作语句的重复执行次数是问题规模n的某个函 数,用T(n)表示,若有某个辅助函数f(n),使得当n趋近于无穷大时,T(n) / f(n) 的极限值为不等于零的常数,则称f(n)是T(n)的同数量级函数。记作 T(n)=O ( f(n) ),称O( f(n) ) 为算法的渐进时间复杂度,简称时间复杂度。

  2. T(n) 不同,但时间复杂度可能相同。 如:T(n)=n²+7n+6 与 T(n)=3n²+2n+2 它 们的T(n) 不同,但时间复杂度相同,都为O(n²)。

  3. 计算时间复杂度

    • 用常数1代替运行时间中的所有加法常数 T(n)=n²+7n+6 => T(n)=n²+7n+1
    • 修改后的运行次数函数中,只保留最高阶项 T(n)=n²+7n+1 => T(n) = n²
    • 去除最高阶项的系数 T(n) = n²=> T(n) = n² => O(n²)

image-20220828223739873

  • 平方阶:2个 for 循环

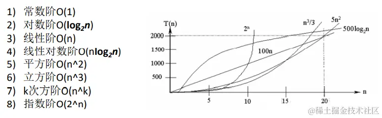
常见的算法时间复杂度由小到大依次为:Ο(1)<Ο(log2^n^)<Ο(n)<Ο(nlog2^n^)<Ο(n ^2^ )< Ο(n^3^ )< Ο(n^k^ ) <Ο(2n ) ,随着问题规模n的不断增大,上述时间复杂度不断增大,算法的 执行效率越低

  1. 常数阶

    无论代码执行了多少行,只要是没有循环等复杂结构,那这个代码的时间复杂度就都是O(1)

    int i = 2;
    int j = 3;
    ++i;
    j++;
    int m = i+j;
    

    它消耗的时候并不随着某个变量的增长而增长,那么无论这类代 码有多长,即使有几万几十万行,都可以用O(1)来表示它的时间复杂度

  2. 对数阶O(log2^n^)

    int i = 1;
    while(i<n){
        i = i*2;
    }
    

    在while循环里面,每次都将 i 乘以 2,乘完之后,i 距离 n 就越来越近了。假设循环 x次之后,i 就大于 2 了,此时这个循环就退出了,也就是说 2 的 x 次方等于 n,那么 x = log2n也就是说当循环 log2n 次以后,这个代码就结束了。因此这个代码的时间复杂度为: O(log2n) 。 O(log2n) 的这个2 时间上是根据代码变化的,i = i * 3 ,则是 O(log3n)