技术干货 | 漫游Linux块IO

84 阅读7分钟

前言

在计算机的世界里,我们可以将业务进行抽象简化为两种场景——计算密集型IO密集型。这两种场景下的表现,决定这一个计算机系统的能力。数据库作为一个典型的基础软件,它的所有业务逻辑同样可以抽象为这两种场景的混合。因此,一个数据库系统性能的强悍与否,往往跟操作系统和硬件提供的计算能力、IO能力紧密相关。

除了硬件本身的物理极限,操作系统在软件层面的处理以及提供的相关机制也尤为重要。因此,想要数据库发挥更加极限的性能,对操作系统内部相关机制和流程的理解就很重要。

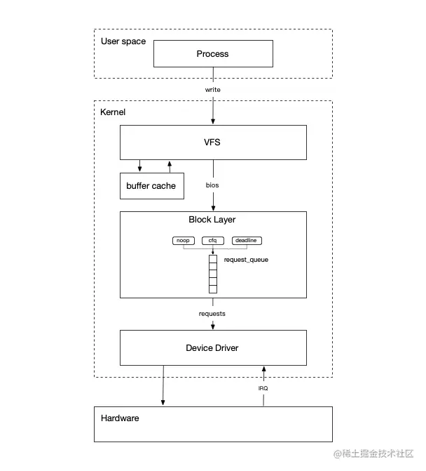
本篇文章,我们就一起看下Linux中一个IO请求的生命周期。Linux发展到今天,其内部的IO子系统已经相当复杂。每个点展开都能自成一篇,所以本次仅是对块设备的写IO做一个快速的漫游,后续再对相关专题进行详细分解。

从用户态程序出发

首先需要明确的是,什么是块设备?我们知道IO设备可以分为字符设备和块设备,字符设备以字节流的方式访问数据,比如我们的键盘鼠标。而块设备则是以块为单位访问数据,并且支持随机访问,典型的块设备就是我们常见的机械硬盘和固态硬盘。

一个应用程序想将数据写入磁盘,需要通过系统调用来完成:open打开文件 ---> write写入文件 ---> close关闭文件。

下面是write系统调用的定义,我们可以看到,应用程序只需要指定三个参数:

  1. 想要写入的文件

  2. 写入数据所在的内存地址

  3. 写入数据的长度

SYSCALL_DEFINE3(write, unsigned int, fd, const char __user *, buf,    size_t, count){  struct fd f = fdget_pos(fd);  ssize_t ret = -EBADF;
  if (f.file) {    loff_t pos = file_pos_read(f.file);    ret = vfs_write(f.file, buf, count, &pos);    if (ret >= 0)      file_pos_write(f.file, pos);    fdput_pos(f);  }
  return ret;}

而剩下的工作就进入到内核中的虚拟文件系统(VFS)中进行处理。

虚拟文件系统(VFS)

在Linux中一切皆文件,它提供了虚拟文件系统VFS的机制,用来抽象各种资源,使应用程序无需关心底层细节,只需通过open、read/write、close这几个通用接口便可以管理各种不同的资源。不同的文件系统通过实现各自的通用接口来满足不同的功能。

devtmpfs

挂载在/dev目录,devtmpfs中的文件代表各种设备。因此,对devtmpfs文件的读写操作,就是直接对相应设备的操作。

如果应用程序打开的是一个块设备文件,则说明它直接对一个块设备进行读写,调用块设备的write函数:

const struct file_operations def_blk_fops = {  .open    = blkdev_open,    ... ...  .read    = do_sync_read,  .write    = do_sync_write,    ... ...};

磁盘文件系统(ext4等)

这是我们最为熟悉的文件系统类型,它的文件就是我们一般理解的文件,对应实际磁盘中按照特定格式组织并管理的区域。对这类文件的读写操作,都会按照固定规则转化为对应磁盘的读写操作。

应用程序如果打开的是一个ext4文件系统的文件,则会调用ext4的write函数:​​​​​​​

const struct file_operations_extend  ext4_file_operations = {  .kabi_fops = {    ... ...    .read    = do_sync_read,    .write    = do_sync_write,    ... ...    .open    = ext4_file_open,    ... ...};

buffer/cache

Linux提供了缓存来提高IO的性能,无论打开的是设备文件还是磁盘文件,一般情况IO会先写入到系统缓存中并直接返回,IO生命周期结束。后续系统刷新缓存或者主动调用sync,数据才会被真正写入到块设备中。有意思的是,针对块设备的称为buffer,针对磁盘文件的称为cache。​​​​​​​

ssize_t __generic_file_aio_write(struct kiocb *iocb, const struct iovec *iov,         unsigned long nr_segs, loff_t *ppos)    ... ...  if (io_is_direct(file)) {    ... ...    written = generic_file_direct_write(iocb, iov, &nr_segs, pos,              ppos, count, ocount);    ... ...  } else {    written = generic_file_buffered_write(iocb, iov, nr_segs,        pos, ppos, count, written);  }    ... ...

Direct IO

当打开文件时候指定了O_DIRECT标志,则指定文件的IO为direct IO,它会绕过系统缓存直接发送给块设备。在发送给块设备之前,虚拟文件系统会将write函数参数表示的IO转化为dio,在其中封装了一个个bio结构,接着调用submit_bio将这些bio提交到通用块层进行处理。​​​​​​​

  do_blockdev_direct_IO     -> dio_bio_submit       -> submit_bio

通用块层

核心结构

1.bio/request

  • bio是Linux通用块层和底层驱动的IO基本单位,可以看到它的最重要的几个属性,一个bio就可以表示一个完整的IO操作:​​​​​​​
struct bio {  sector_t    bi_sector; //io的起始扇区... ...  struct block_device  *bi_bdev;  //对应的块设备... ...  bio_end_io_t    *bi_end_io;  //io结束的回调函数... ...  struct bio_vec    *bi_io_vec;  //内存page列表... ...};
  • request代表一个独立的IO请求,是通用块层和驱动层进行IO传递的结构,它容纳了一组连续的bio。通用块层提供了很多IO调度策略,将多个bio合并生成一个request,以提高IO的效率。

2.gendisk

每个块设备都对应一个gendisk结构,它定义了设备名、主次设备号、请求队列,和设备的相关操作函数。通过add_disk,我们就真正在系统中定义一个块设备。

3.request_queue

这个即是日常所说的IO请求队列,通用块层将IO转化为request并插入到request_queue中,随后底层驱动从中取出完成后续IO处理。​​​​​​​

struct request_queue {  ... ...  struct elevator_queue  *elevator;  //调度器
  request_fn_proc    *request_fn;  //请求处理函数  make_request_fn    *make_request_fn;  //请求入队函数  ... ...  softirq_done_fn    *softirq_done_fn;  //软中断处理
  struct device    *dev;  unsigned long    nr_requests;  ... ...};

处理流程

在收到上层文件系统提交的bio后,通用块层最主要的功能就是根据bio创建request,并插入到request_queue中。

在这个过程中会对bio进行一系列处理:当bio长度超过限制会被分割,当bio访问地址相邻则会被合并。

request创建后,根据request_queue配置的不同elevator调度器,request插入到对应调度器队列中。在底层设备驱动程序从request_queue取出request处理时,不同elevator调度器返回request策略不同,从而实现对request的调度。​​​​​​​

void blk_queue_bio(struct request_queue *q, struct bio *bio){    ... ...  el_ret = elv_merge(q, &req, bio);    //尝试将bio合并到已有的request中  ... ...  req = get_request(q, rw_flags, bio, 0);  //无法合并,申请新的request    ... ...  init_request_from_bio(req, bio);}
void blk_flush_plug_list(struct blk_plug *plug, bool from_schedule){    ... ...      __elv_add_request(q, rq, ELEVATOR_INSERT_SORT_MERGE);  //将request插入request_queue的elevator调度器    ... ...}

请求队列

Linux中提供了不同类型的request_queue,一个是本文主要涉及的single-queue,另外一个是multi-queue。single-queue是在早期的硬件设备(例如机械硬盘)只能串行处理IO的背景下创建的,而随着更快速的SSD设备的普及,single-queue已经无法发挥底层存储的性能了,进而诞生了multi-queue,它优化了很多机制使IOPS达到了百万级别以上。至于multi-queue和single-queue的详细区别,本篇不做讨论。

每个队列都可以配置不同的调度器,常见的有noop、deadline、cfq等。不同的调度器会根据IO类型、进程优先级、deadline等因素,对request请求进一步进行合并和排序。我们可以通过sysfs进行配置,来满足业务场景的需求:​​​​​​​

#/sys/block/sdx/queuescheduler      #调度器配置nr_requests      #队列深度max_sectors_kb    #最大IO大小

设备驱动

在IO经过通用块层的处理和调度后,就进入到了设备驱动层,就开始需要和存储硬件进行交互。

以scsi驱动为例:在scsi的request处理函数scsi_request_fn中,循环从request_queue中取request,并创建scsi_cmd下发给注册到scsi子系统的设备驱动。需要注意的是,scsi_cmd中会注册一个scsi_done的回调函数。​​​​​​​

static void scsi_request_fn(struct request_queue *q){  for (;;) {    ... ...    req = blk_peek_request(q);    //从request_queue中取出request    ... ...        cmd->scsi_done = scsi_done;    //指定cmd完成后回调    rtn = scsi_dispatch_cmd(cmd);  //下发将request对应的scsi_cmd    ... ...  }}
int scsi_dispatch_cmd(struct scsi_cmnd *cmd){  ... ...  rtn = host->hostt->queuecommand(host, cmd);    ... ...}

IO完成

软中断

每个request_queue都会注册软中断号,用来进行IO完成后的下半部处理,scsi驱动中注册的为:scsi_softirq_done​​​​​​​

struct request_queue *scsi_alloc_queue(struct scsi_device *sdev){    ... ...  q = __scsi_alloc_queue(sdev->host, scsi_request_fn);    ... ...  blk_queue_softirq_done(q, scsi_softirq_done);  ... ...}

硬中断

当存储设备完成IO后,会通过硬件中断通知设备驱动,此时设备驱动程序会调用scsi_done回调函数完成scsi_cmd,并最终触发BLOCK_SOFTIRQ软中断。

void __blk_complete_request(struct request *req){      ... ...      raise_softirq_irqoff(BLOCK_SOFTIRQ);      ... ...}

而BLOCK_SOFTIRQ软中断的处理函数就是之前注册的scsi_softirq_done,通过自下而上层层回调,到达bio_end_io,完成整个IO的生命周期。

  -> scsi_finish_command      -> scsi_io_completion        -> scsi_end_request          -> blk_update_request            -> req_bio_endio              -> bio_endio

总结

以上,我们很粗略地漫游了Linux中一个块设备IO的生命周期,这是一个很复杂的过程,其中很多机制和细节只是点到为止,但是我们有了对整个IO路径的整体的认识。当我们再遇到IO相关问题的时候,可以更加快速地找到关键部分,并深入研究解决。

作者:沃趣科技原型研发部