虚拟文件系统

150 阅读8分钟

进程要想往文件系统里面读写数据,需要很多层的组件一起合作。具体是怎么合作的呢?我们一起来看一看。

  • 在应用层,进程在进行文件读写操作时,可通过系统调用如 sys_open、sys_read、sys_write 等。
  • 在内核,每个进程都需要为打开的文件,维护一定的数据结构。
  • 在内核,整个系统打开的文件,也需要维护一定的数据结构。
  • Linux 可以支持多达数十种不同的文件系统。它们的实现各不相同,因此 Linux 内核向用户空间提供了虚拟文件系统这个统一的接口,来对文件系统进行操作。它提供了常见的文件系统对象模型,例如 inode、directory entry、mount 等,以及操作这些对象的方法,例如 inode operations、directory operations、file operations 等。
  • 然后就是对接的是真正的文件系统,例如我们上节讲的 ext4 文件系统。
  • 为了读写 ext4 文件系统,要通过块设备 I/O 层,也即 BIO 层。这是文件系统层和块设备驱动的接口。
  • 为了加快块设备的读写效率,我们还有一个缓存层。
  • 最下层是块设备驱动程序

image.png

接下来我们逐层解析。

在这之前,有一点你需要注意。解析系统调用是了解内核架构最有力的一把钥匙,这里我们只要重点关注这几个最重要的系统调用就可以了:

  • mount 系统调用用于挂载文件系统;
  • open 系统调用用于打开或者创建文件,创建要在 flags 中设置 O_CREAT,对于读写要设置 flags 为 O_RDWR;
  • read 系统调用用于读取文件内容;
  • write 系统调用用于写入文件内容。

挂载文件系统

想要操作文件系统,第一件事情就是挂载文件系统。

内核是不是支持某种类型的文件系统,需要我们进行注册才能知道。例如,咱们上一节解析的 ext4 文件系统,就需要通过 register_filesystem 进行注册,传入的参数是 ext4_fs_type,表示注册的是 ext4 类型的文件系统。这里面最重要的一个成员变量就是 ext4_mount。记住它,这个我们后面还会用。

register_filesystem(&ext4_fs_type);
 
static struct file_system_type ext4_fs_type = {
	.owner		= THIS_MODULE,
	.name		= "ext4",
	.mount		= ext4_mount,
	.kill_sb	= kill_block_super,
	.fs_flags	= FS_REQUIRES_DEV,
};

如果一种文件系统的类型曾经在内核注册过,这就说明允许你挂载并且使用这个文件系统。 刚才我说了几个需要重点关注的系统调用,那我们就从第一个 mount 系统调用开始解析。 接下来的调用链为:do_mount->do_new_mount->vfs_kern_mount。 vfs_kern_mount 先是创建 struct mount 结构,每个挂载的文件系统都对应于这样一个结构。

struct mount {
	struct hlist_node mnt_hash;
	struct mount *mnt_parent;
	struct dentry *mnt_mountpoint;
	struct vfsmount mnt;
	union {
		struct rcu_head mnt_rcu;
		struct llist_node mnt_llist;
	};
	struct list_head mnt_mounts;	/* list of children, anchored here */
	struct list_head mnt_child;	/* and going through their mnt_child */
	struct list_head mnt_instance;	/* mount instance on sb->s_mounts */
	const char *mnt_devname;	/* Name of device e.g. /dev/dsk/hda1 */
	struct list_head mnt_list;
......
} __randomize_layout;
 
 
struct vfsmount {
	struct dentry *mnt_root;	/* root of the mounted tree */
	struct super_block *mnt_sb;	/* pointer to superblock */
	int mnt_flags;
} __randomize_layout;

其中,mnt_parent 是装载点所在的父文件系统,mnt_mountpoint 是装载点在父文件系统中的 dentry;struct dentry 表示目录,并和目录的 inode 关联;mnt_root 是当前文件系统根目录的 dentry,mnt_sb 是指向超级块的指针。

接下来,我们来看调用 mount_fs 挂载文件系统。这里调用的是 ext4_fs_type 的 mount 函数,也就是咱们上面提到的 ext4_mount,从文件系统里面读取超级块。在文件系统的实现中,每个在硬盘上的结构,在内存中也对应相同格式的结构。当所有的数据结构都读到内存里面,内核就可以通过操作这些数据结构,来操作文件系统了。

可以看出来,理解各个数据结构在这里的关系,非常重要。我这里举一个例子,来解析经过 mount 之后,刚刚那些数据结构之间的关系。

我们假设根文件系统下面有一个目录 home,有另外一个文件系统 A 挂载在这个目录 home 下面。在文件系统 A 的根目录下面有另外一个文件夹 hello。由于文件系统 A 已经挂载到了目录 home 下面,所以我们就有了目录 /home/hello,然后有另外一个文件系统 B 挂在在 /home/hello 下面。在文件系统 B 的根目录下面有另外一个文件夹 world,在 world 下面有个文件夹 data。由于文件系统 B 已经挂载到了 /home/hello 下面,所以我们就有了目录 /home/hello/world/data。

打开文件

接下来,我们从分析 Open 系统调用说起。我们知道,在进程里面通过 open 系统调用打开文件,最终对调用到内核的系统调用实现 sys_open。当时我们仅仅解析了系统调用的原理,没有接着分析下去,现在我们接着分析这个过程。

要打开一个文件,首先要通过 get_unused_fd_flags 得到一个没有用的文件描述符。如何获取这个文件描述符呢? 在每一个进程的 task_struct 中,有一个指针 files,类型是 files_struct。 files_struct 里面最重要的是一个文件描述符列表,每打开一个文件,就会在这个列表中分配一项,下标就是文件描述符。

对于任何一个进程,默认情况下,文件描述符 0 表示 stdin 标准输入,文件描述符 1 表示 stdout 标准输出,文件描述符 2 表示 stderr 标准错误输出。另外,再打开的文件,都会从这个列表中找一个空闲位置分配给它。

文件描述符列表的每一项都是一个指向 struct file 的指针,也就是说,每打开一个文件,都会有一个 struct file 对应。

do_sys_open 中调用 do_filp_open,就是创建这个 struct file 结构,然后 fd_install(fd, f) 是将文件描述符和这个结构关联起来。

do_filp_open 里面首先初始化了 struct nameidata 这个结构。我们知道,文件都是一串的路径名称,需要逐个解析。这个结构就是解析和查找路径的时候做辅助作用。

在 struct nameidata 里面有一个关键的成员变量 struct path。

其中,struct vfsmount 和文件系统的挂载有关。另一个 struct dentry,除了上面说的用于标识目录之外,还可以表示文件名,还会建立了文件名及其 inode 之间的关联。

接下来就调用 path_openat,主要做了以下几件事情:

  • get_empty_filp 生成一个 struct file 结构;
  • path_init 初始化 nameidata,准备开始节点路径查找;
  • link_path_walk 对于路径名逐层进行节点路径查找,这里面有一个大的循环,用“/”分隔逐层处理;
  • do_last 获取文件对应的 inode 对象,并且初始化 file 对象。

例如,文件“/root/hello/world/data”,link_path_walk 会解析前面的路径部分“/root/hello/world”,解析完毕的时候 nameidata 的 dentry 为路径名的最后一部分的父目录“/root/hello/world”,而 nameidata 的 filename 为路径名的最后一部分“data”。

最后一部分的解析和处理,我们交给 do_last。

在这里面,我们需要先查找文件路径最后一部分对应的 dentry。如何查找呢?

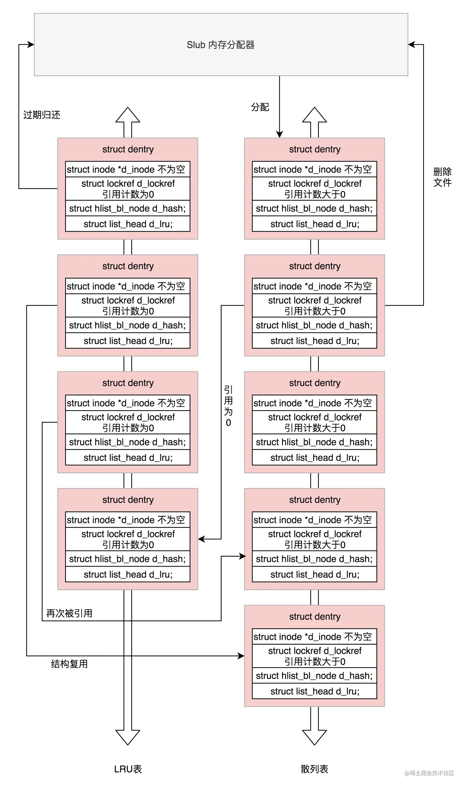
Linux 为了提高目录项对象的处理效率,设计与实现了目录项高速缓存 dentry cache,简称 dcache。它主要由两个数据结构组成:

  • 哈希表 dentry_hashtable:dcache 中的所有 dentry 对象都通过 d_hash 指针链到相应的 dentry 哈希链表中;
  • 未使用的 dentry 对象链表 s_dentry_lru:dentry 对象通过其 d_lru 指针链入 LRU 链表中。LRU 的意思是最近最少使用,我们已经好几次看到它了。只要有它,就说明长时间不使用,就应该释放了。

image.png

这两个列表之间会产生复杂的关系:

  • 引用为 0:一个在散列表中的 dentry 变成没有人引用了,就会被加到 LRU 表中去;
  • 再次被引用:一个在 LRU 表中的 dentry 再次被引用了,则从 LRU 表中移除;
  • 分配:当 dentry 在散列表中没有找到,则从 Slub 分配器中分配一个;
  • 过期归还:当 LRU 表中最长时间没有使用的 dentry 应该释放回 Slub 分配器;
  • 文件删除:文件被删除了,相应的 dentry 应该释放回 Slub 分配器;
  • 结构复用:当需要分配一个 dentry,但是无法分配新的,就从 LRU 表中取出一个来复用。

所以,do_last() 在查找 dentry 的时候,当然先从缓存中查找,调用的是 lookup_fast。

如果缓存中没有找到,就需要真的到文件系统里面去找了,lookup_open 会创建一个新的 dentry,并且调用上一级目录的 Inode 的 inode_operations 的 lookup 函数,对于 ext4 来讲,调用的是 ext4_lookup,会到咱们上一节讲的文件系统里面去找 inode。最终找到后将新生成的 dentry 付给 path 变量。

do_last() 的最后一步是调用 vfs_open 真正打开文件。

vfs_open 里面最终要做的一件事情是,调用 f_op->open,也就是调用 ext4_file_open。另外一件重要的事情是将打开文件的所有信息,填写到 struct file 这个结构里面。

struct file {
	union {
		struct llist_node	fu_llist;
		struct rcu_head 	fu_rcuhead;
	} f_u;
	struct path		f_path;
	struct inode		*f_inode;	/* cached value */
	const struct file_operations	*f_op;
	spinlock_t		f_lock;
	enum rw_hint		f_write_hint;
	atomic_long_t		f_count;
	unsigned int 		f_flags;
	fmode_t			f_mode;
	struct mutex		f_pos_lock;
	loff_t			f_pos;
	struct fown_struct	f_owner;
	const struct cred	*f_cred;
......
	struct address_space	*f_mapping;
	errseq_t		f_wb_err;
}