如何生成炫酷的词云(已验证)

341 阅读3分钟

wordcloud是什么?

wordcloud是python的一个第三方库,称为词云也叫做文字云,是根据文本中的词频,对内容进行可视化的汇总,可以用来绘制用户画像。

安装wordcloud

这里用conda新建一个环境来演示

conda create --name wordcloud python=3.9.12
conda activate wordcloud

需要安装4个包

conda install -y -n wordcloud numpy
conda install -y -n wordcloud pillow
conda install -y -n wordcloud matplotlib
conda install -y -n wordcloud wordcloud

使用 wordcloud

wordcloud库把词云当作一个 WordCloud 对象,所以使用wordcloud可以大致分为三个步骤

from wordcloud import WordCloud

wc= WordCloud() # 1.创建对象:    
wc.generate("Choose a life of action, not one of oste-ntation.") # 2.加载文本
wc.to_file("./word.png") # 3.输出文件

word

wordcloud 基础实战

指定中文字体,不然会乱码

from PIL import Image
from wordcloud import WordCloud, STOPWORDS
import matplotlib.pyplot as plt
import numpy as np

wc = WordCloud(background_color="white",# 设置背景颜色
           max_words=2000, # 词云显示的最大词数
           height=400, # 图片高度
           width=800, # 图片宽度
           max_font_size=50, #最大字体     
           stopwords=STOPWORDS, # 设置停用词
           font_path='C:/Windows/Fonts/simhei.ttf', # 兼容中文字体,不然中文会显示乱码
           )
# 生成词云 
wc.generate('诗词,是指以古体诗、张三。 亦是汉字文化圈的特色之一。 李四。 诗词是阐述心灵的文学艺术,而诗人、赵文,并按照严格韵律要求,用凝练的语言、绵密的章法、王五。') # 此处的text便是分好词的19大文本

# 生成的词云图像保存到本地
wc.to_file("./result2.png")

# 显示图像
plt.imshow(wc, interpolation='bilinear')
# interpolation='bilinear' 表示插值方法为双线性插值
plt.axis("off")# 关掉图像的坐标
plt.show()

result2

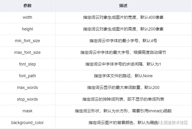
附上wordcloud内的配置参数

img

wordcloud 高级实战

在本节,本文将介绍如何将词云绘制在预设定好的背景图片上。例如:以我们最熟悉的中国地图为背景,我们将在此基础上绘制词云,只需修改wordcloud里的“mask”属性值,详细代码如下所示。

from PIL import Image
from wordcloud import WordCloud, STOPWORDS
import matplotlib.pyplot as plt
import numpy as np

wc = WordCloud(background_color="white",# 设置背景颜色
           max_words=2000, # 词云显示的最大词数
           max_font_size=60, #最大字体     
           stopwords=STOPWORDS, # 设置停用词
            mask=np.array(Image.open("./china.jpg")), # 选择背景图片为中国地图
           font_path='C:/Windows/Fonts/simhei.ttf', # 兼容中文字体,不然中文会显示乱码
           )
# 生成词云 
wc.generate('尤韫素。福敏博。历灵秀。但紫云。司马渺。黎梓玥。毛半蕾。太叔睿范。褒华婉。劳子明。仵芷容。索听枫。蒉慕凝。邢恬欣。展向露。五江雪。靖允。邛孟。天梦山。繁孤丹。谈清悦。操乐志。甲小蕾。满辰。银长。初春雪。眭若云。庹嘉怡。奚醉巧。闾丘令怡。凭香天。古飞章。厍薇。圣莹琇。程思。功知。郜阳霁。扬澹。戈绿蝶。薛吉月。冷明轩。廉吉星。佟以轩。勇代天。苏平灵') # 此处的text便是分好词的女排评论文本

# 生成的词云图像保存到本地
wc.to_file("./result3.png")

# 显示图像
plt.imshow(wc, interpolation='bilinear')
# interpolation='bilinear' 表示插值方法为双线性插值
plt.axis("off")# 关掉图像的坐标
plt.show()

准备的地图是

china

效果如下

result3