商业智能耀眼明星产品——达之云 Redash中文商业版

129 阅读2分钟

近几来,商业智能BI成为大数据在应用方面典范,它是一款为管理层而服务的数据可视化信息化系统。商业智能BI)的实质是从数据中有效地提取信息,从信息中及时的发现知识,从而为决策提供支持的一种技术。在处理流程上大体分为三层:

第一层,可视化分析展现层 - 即需求层,代表用户的需求,用户要看什么,要分析什么就在这一层进行展现。

第二层,数据模型层 - 即数据仓库层,代表数据的分析模型,完成从业务计算规则向数据计算规则的转变。

第三层,数据源层 - 即数据层,各个业务系统底层数据库的数据通过 ETL 的方式抽取到 BI 的数据仓库中完成 ETL 过程,建模分析等等,最终支撑到前端的可视化分析展现。

图片1.png 在商业智能BI中,达之云公司旗下的Redash中文商业版更是在大屏数据展示制作、企事业单位智能报表和大数据分析及集成 3D 应用等业务方面表现优异。平台支持100多种常见数据源,应用类型广泛,运行效率高、开发效率高,项目实施交付快、运行稳定无忧。符合国产化要求。该平台后台技术钻取、治理和分析能力强,前台展示灵活易用。该平台扩展性强,拥有成本低,广泛应用于政府企事业单位,如 党政部门、医院、学校、商超、商城、制造业、电力、物流和各类园区等,快速赢得良好的用户口碑,被越来越多的用户选择。

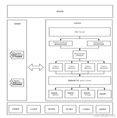
图片2.jpg (Redash 后端架构图)

欢迎各位看官随时登录我司官网,关注公众号或致电来询交流商业智能BI。