open_input_file打开输入文件

1,398 阅读6分钟

持续创作,加速成长!这是我参与「掘金日新计划 · 10 月更文挑战」的第29天,点击查看活动详情

open_input_file() 是 ffmpeg.exe 转换器封装的 打开输入文件的函数,在 FFmpeg基础API 一章中,我们已经知道打开输入文件的 API 函数是 avformat_open_input,所以 open_input_file() 里面肯定会调用 avformat_open_input

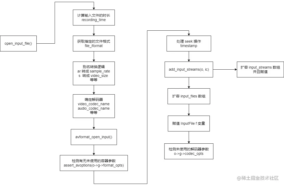
open_input_file() 的流程图如下:

0-1

由于 open_input_file() 的流程比较长,所以拆成了两列来画,中间的两列其实是一列。

open_input_file() 的定义如下:

static int open_input_file(OptionsContext *o, const char *filename)

在讲解 open_input_file() 的逻辑之前,需要学习一个新的结构 struct InputFile 以及 全局变量 input_files


struct InputFile 是单个输入文件的管理器。之前在 parse_optgroup() 处理好的 OptionsContext o 变量,有一部分字段会赋值给 InputFile 管理器,如下:

0-2

OptionsContext o 变量的另一部分字段,会在 open_input_file() 里面传递给 API 函数,例如:avformat_open_input(),或者赋值给 InputStream 的 decoder_opts 字段。


input_files 全局变量是一个数组,里面的成员正是 InputFile,所以你在二次开发 ffmpeg.exe 的时候,可以通过 input_files 全局变量获取到所有的输入文件的信息。

InputFile   **input_files   = NULL;
int        nb_input_files   = 0;

struct InputFile 的结构分析推荐阅读《InputFile数据结构分析


了解了 struct InputFile 的结构,下面开始分析一下 open_input_file() 函数的代码,如下:

0-7

开头这些代码,主要是计算出 recording_time 的值,这是输入文件的最大处理时长。有可能 3 分钟的文件,只需要处理第2~3分钟就行了,命令行可以这样设置的。


然后可能会用 av_find_input_format() 找到指定的容器格式,如下:

if (o->format) {
    if (!(file_iformat = av_find_input_format(o->format))) {
        av_log(NULL, AV_LOG_FATAL, "Unknown input format: '%s'\n", o->format);
        exit_program(1);
    }
}
...省略代码...
err = avformat_open_input(&ic, filename, file_iformat, &o->g->format_opts);

avformat_open_input() 函数打开一个输入文件,会优先使用 file_iformat 参数指定的容器格式,如果 file_iformat 为空,就会根据 filename 后缀猜测,如果没有后缀,就会读取一段内容进行分析出容器格式。


接下来的代码逻辑就是 别名转换,如下:

0-8

细心的读者可能注意到了,为什么这里又会设置一次 format_opts ?之前不是在 opt_default() 函数设置过了吗?

是的,如果你命令行参数写的是 -sample_rate 44100,如下,就会直接在 opt_default() 那里直接把 44100 设置进去 format_opts

ffmpeg -f alsa -sample_rate 44100 -i hw:1 -t 30 out.wav

上面的命令是抓取麦克风的声音,设置采样率为 44100。

但是 sample_rate 指定采样率,还有一个别名的,可能是以往遗留的命令名称,叫 -ar,这个名称在组件库没有,所以需要进行别名转换,如下:

ffmpeg -f alsa -ar 44100 -i hw:1 -t 30 out.wav

-ar 的赋值过程,就是先解析到 o->audio_sample_rate ,然后在 open_input_file 里面设置进去 format_opts

所以上图的这些,其实都是别名转换的逻辑。

提醒:上图代码的取值是 o->nb_audio_sample_rate - 1,取的是最后一个,所以如果你命令行指定了多个采样率,只会有最后一个生效。

重点:打开输入文件的时候,这些帧率,采样率,像素格式,在一般的容器格式,是不需要指定的,例如 flv,mp4,他们本身就保存了这些信息,但是一些裸流,例如,yuv 裸流,pcm裸流,抓屏输入等等,是没有这些信息的,需要通过命令行参数来指定。


接下来的代码是匹配出命令行指定的解码器,

0-9

以下面的命令来讲解一下上图的逻辑:

ffmpeg -c:v h264_mf -i juren.mp4 juren.flv

MATCH_PER_TYPE_OPT() 宏函数的代码如下:

#define MATCH_PER_TYPE_OPT(name, type, outvar, fmtctx, mediatype)\
{\
    int i;\
    for (i = 0; i < o->nb_ ## name; i++) {\
        char *spec = o->name[i].specifier;\
        if (!strcmp(spec, mediatype))\
            outvar = o->name[i].u.type;\
    }\
}

因此下面这句代码实际上就是 匹配出带 v 的解码器,带 v 的就是视频的解码器。

MATCH_PER_TYPE_OPT(codec_names, str,    video_codec_name, ic, "v");

MATCH_PER_TYPE_OPT() 其实还有一个兄弟函数 MATCH_PER_STREAM_OPT()

MATCH_PER_STREAM_OPT() 不是根据标记符 "v" 找出解码器,而是根据 AVStream 找出解码器,AVStream 是视频,就找视频的解码器,AVStream 是音频,就找音频的解码器。

#define MATCH_PER_STREAM_OPT(name, type, outvar, fmtctx, st)

0-9

我也不知道为什么要给 ic->video_codec 进行赋值,解码器应该是 avcodec_find_decoder 找到指定的解码器,然后 avcodec_open2 打开就行了。

这里赋值 video_codec 字段可能是对于某些格式,如果不赋值 AVFormatContext 的 video_codec 字段,av_read_frame 函数就无法从容器读取到 AVPacket?

提醒:如果你的项目解码遇到问题,可以抄 ffmpeg.exe 这种做法,他的健壮性比较强,估计是兼容一些特殊场景的。


还有一个重点代码,这样可以设置 av_read_frame() 函数成非阻塞状态,不过默认应该是非阻塞的吧。

ic->flags |= AVFMT_FLAG_NONBLOCK;

接下来就可以用 avformat_open_input 打开解复用器了,如下:

2-2

比较重要的是最后的检测选项,未使用的通常是解复用器不支持这个命令行选项,所以会直接退出。avformat_open_input() 函数如果使用了 format_opts 里面的选项,就会删除,未使用的会保留。

上面把 codec_opts 的选项从 format_opts 里面删除,估计因为有些解码器的参数,跟解复用器的参数的名称是一样的,所以需要做下兼容。


open_input_file() 函数里面有很多对于解码器的设置,估计是为了应付一些没有保存编码信息的输入文件。如下:

/* apply forced codec ids */
for (i = 0; i < ic->nb_streams; i++)
    choose_decoder(o, ic, ic->streams[i]);

上面的代码没有用 choose_decoder 的返回值,返回值是直接丢弃的,所以只是设置了一下 st->codecpar->codec_id 。


探测的逻辑比较简单,所以不讲解,推荐阅读《FFmpeg打开输入文件

if (find_stream_info) {
        AVDictionary **opts = setup_find_stream_info_opts(ic, o->g->codec_opts);
        int orig_nb_streams = ic->nb_streams;

        /* If not enough info to get the stream parameters, we decode the
           first frames to get it. (used in mpeg case for example) */
        ret = avformat_find_stream_info(ic, opts);
        ...省略代码...
}

接下来就是 seek 的逻辑,命令行如果使用了 -ss 参数,就进行 seek 操作,代码如下:

2-3

2-4

avformat_seek_file() 函数的使用,推荐阅读《avformat_seek_file函数介绍》。


seek 之后,就是添加输入流(InputStream)到全局数组 input_streams,这个比较复杂,推荐阅读《xxx》

/* update the current parameters so that they match the one of the input stream */
add_input_streams(o, ic);

添加完输入流之后,就会开始添加输入文件(InputFile)到 全局数组 input_files

2-5

这里有些同学可能疑惑,为什么是添加完输入流,然后才添加输入文件,输入流不是要绑定输入文件的吗?

是需要绑定的,不过是通过 nb_input_files 来绑定,nb_input_files 一开始是 0 ,扩容 input_files 之后才会变成 递增成 1。

所以需要在扩容 input_files 之前添加输入流。

add_input_streams() 函数绑定输入流到输入文件的代码如下:

2-6


open_input_file() 函数最后的代码就是检查一下命令行指定的,但是未使用的解码器参数,如果有未使用的就会报错。代码如下:

2-7

上图有些代码比较奇怪,可能是因为有些解码器的参数 跟解复用器的参数的名称是一样的,所以需要做下兼容。


至此 open_input_file() 函数分析完毕,做下小总结。

open_input_file() 主要就是使用命令行的参数打开 demuxer,用 avformat_open_input() 打开,打开之后如果有 seek 操作,就会先进行 seek,然后调 add_input_streams() 函数添加输入流。

add_input_streams() 内部会初始化解码器实例,并且使用掉命令行的解码器参数,但是 add_input_streams() 不会打开解码器实例。真正打开解码器是在 init_input_stream() 里面做的。

open_input_file() 最后就是,添加输入文件到全局数组 input_files,赋值好 InputFile f 的各个字段,