我的作品-erp系统

542 阅读9分钟

本人找工作,找志同道合朋友,找商业合作,找我wx

image.png

ERP

基础模块

普通表格的增删改查,查看日志

image.png 日志

image.png

删除

image.png 新增修改

表格带有分类模块

image.png 自定义下拉组件(可搜索)

image.png 分类下拉组件(可搜索) image.png

image.png

字典模块

image.png

image.png

分类模块

image.png

image.png

image.png

板房模块

管理员模块

image.png 功能按钮 【指派,开始,完成,异常,驳回设计师】

image.png

image.png

新品模块

image.png sku设置 规格 image.png 颜色 image.png 生成sku

image.png

尺寸指示

联动新品的sku 动态生成【列】

image.png

上下左右按钮可以移动输入框,可编辑表格,某些输入域是下拉组件 image.png

选择模板,模板的值覆盖现在表格内容 image.png 可拖拽表格

image.png

工序工价

输入域是富文本可支持 标红,加粗,下划线,斜体

image.png

基础物料

增删改查

image.png

image.png

image.png

足米价计算公式,填写的物料内容,计算足米价(复杂)

image.png

物料清单(基于基础物料功能)

编辑新增 image.png 选择基础物料,带上基础物料的信息可选,此物料供应商列表下拉,此物料颜色列表下拉,此物料规格列表下拉

直接编辑 基础物料弹出框

image.png 下拉选择其他物料

image.png

核价清单

颜色维度 区分核价清单 编辑切换颜色的时候,先带上上一份的物料清单数据给新的物料清单

核价清单分为 物料清单+其他费用+工艺费用3个部分 image.png

初始化流程 初始化物料清单数据 作为核价清单数据 初始化其他费用默认有【包装费】【加工费】【缩水费】【裁床】【尾部】【总成本利润】

勾选物料清单二次工艺 新增二次工艺列表

image.png

物料清单信息和核价清单的物料清单不一致的时候,点击【同步=删除差异+写入新增物料+保存不变物料】

image.png 所有行数累加 得出成本价格

image.png

流程模块

涉及不同部门的任务流转,可理解为流程系统 发布任务

image.png 开始任务

image.png

完成任务

image.png 查看任务进度

image.png

生产系统

生产操作手册

大货生产操作手册

生产接单

  1. 路径 : 生产管理-》大货生产请求-》待接单

所有运营下的生产请求单第一时间会出现在这里

1). 不能正常接单 : 选中要接的单,点击“备注”,填写不能正常接单的原因

2). 能正常接单 : 选中要接的单,点击“新增生产计划单”

转成生产计划时需要设置好生产类型,订单类型,跟单员

审核生产计划

  1. 生产计划生成以后默认是未审核状态,在此状态下可以自由修改此计划

  1. 生产计划审核以后系统将会根据生产类型来判断 并自动生成 外发加工需求及物料采购需求

1).FOB类型系统只会生成外发加工需求单

2).CMT类型系统将同时生成外发加工需求和物料采购需求

  1. 如果需要给工厂报单,也可以在生产计划页面执行打印报单操作

生成外发加工单

路径 : 生产管理-》外发加工需求

在线下要与加工厂沟通确认好,确认好后就可将生产加工需求单转化为“外发加工单”

选择要转化的需求单,点击 ”转生产单”

转生产单必须要选择加工厂,必须要设置交付时间(交付时间以此时设置的值为准)

录入裁数

路径 : 生产管理-》外发加工单

选择需要设置的外发加工单,点击 “查看进度”

选择开裁节点,录入裁数,如果裁数超过最大可发数,系统会提示你发起审批,需要写明申请原因

预约入库

添加预约入库单

路径 : 生产管理-》外发加工单

选择需要设置的外发加工单,点击 “预约入库”

1、可以预约不同产品性质的产品入库(成品,次品,半成品),注:这里的次品一般是CMT模式下在工厂加工过程中明确说明己经是次品,物料是公司采买,次品的二次处理权限也应该是公司,所以需要工厂将这些次品发回来(半成品也是相同的道理),一般FOB是不需要这些处理次品与半成品的

2、预约入库数总数不得超出实裁数总数+10件

取消预约入库

预约入库单在入库前可以操作取消

路径 : 仓储库存管理-》预约入库

只有未质检入库的预约入库单才支持修改与删除

质检入库查询

路径 : 质检管理-》质检管理

质检是由仓库品质部的同事添加,生产同事主要是查看质检情况,这里可以根据款号或采购单号搜索

物料采购单

生成物料采购单

路径 : 物料采购管理-》物料采购需求

CMT类型的生产计划单审核时,系统会根据打版时填写的物料清单及核价清单自动生产物料采购需求单

注:

1、针对不同颜色的款,如果用同一种面辅料系统会以面辅料及供应商为维度进行自动同并

2、系统自动产生的采购需求是包含的损耗的

3、如果物料存在散剪价,采购需求单可以设置本次采购为散剪价

选中对应采购需求单,点击 ”转物料采购单”, 就可以生产所有采购单 (注:采购单是以物料及供应商为单位,一个需求单有可能会生成多个采购单)

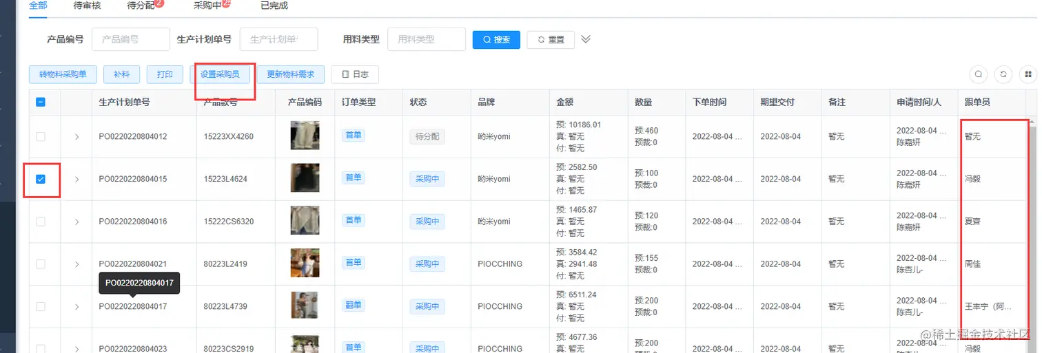
分配采购员

选择对应采购需求单,占击 ”设置采购员”, 就可以将此需求单的所有采购单都分配给选定的采购员

补料

在实际操作中可能会存在面辅料不足,这时可以额外添加补料单

选择原采购需求单,点击 ”补料”, 系统会自动读取此款号的所有物料信息,根据需要填入相关采购数量就可以完成补料操作

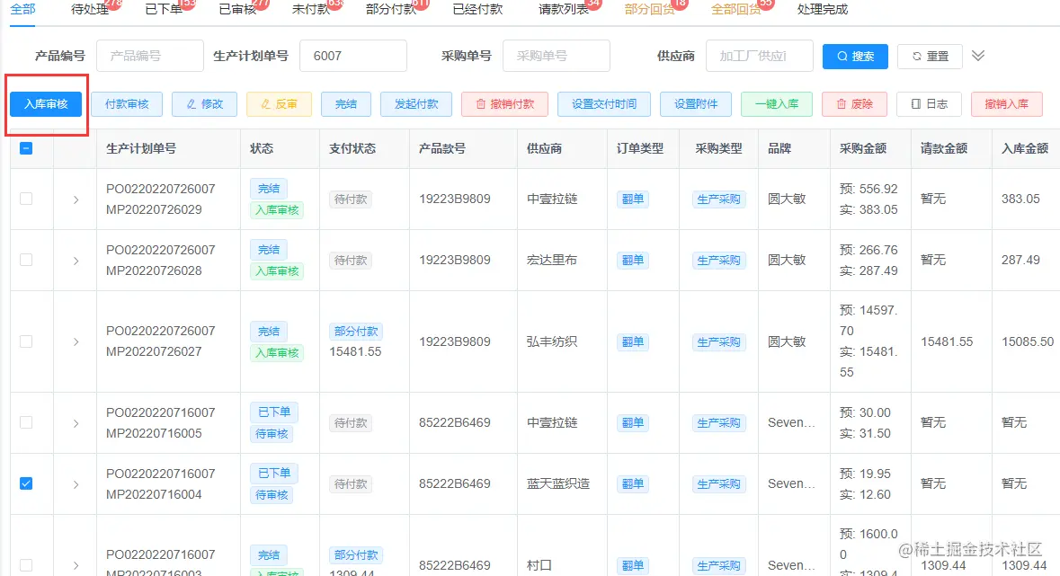
撤销付款

如果在操作过程中,错误请款了,可以在系统上操作撤销请款

撤销入库

如果入库金额输入错误,可以系统上操作撤销入库

付款审核

当采购员同事在外面发起请款后,需要跟单同事审核请求,此时跟单同时会查询系统上预计采购金额,对比完后没有异常,会在系统上做付款审核操作

入库审核

当采购单完成后,采购员同事将相关资料给到跟单员,跟单这边需要对入库数据进行复核,复核完在系统上操作入库审核

反审

跟单同事如果付款审核或入库审核操作失误,可以执行反审操作,取消以上两种审核

物料采购移动端

系统提供了移动端操作功能方便物料采购同事在外面跑市场时,查看,操作物料采购单

打开钉钉工作台,找到狮之谦ERP,找到物料采购管理-》物料采购需求(注:新入职的同事需要找系统管理员【刘田】开权限)

物料采购下单

在物料采购需求单页面能看到所有分配给你的采购需求单,上面搜索框可以搜索 生产计划单号或款号搜索

在此页面上可以方便看到 此需求单有待下单数量,待付款数量,待入库数量,生产数量,以及能看到此生产计划的生产加工厂

点击一个需求单

在这里可以看到所有采购单,选择一个采购单

1、根据实际给档口的下单情况,填写价格及数量,选择好相关物料计量单位

2、辅料可以在移动端修改供应商(面料只能找生产跟单同事申请修改)

3、选择好结算方式,注:“财务付款”方式可以在线申款

4、必须将档口开单的票据上传到附件中

5、如果此采购单取消了,可以点击废除按钮(注:下单后不能废除)

物料采购请款

针对结算方式为 “财务付款” 的采购单可以在线发起请款

选择相关采购单,点击 ”发起请款” 填入请款金额

注:

1、请款总金额不能超出采购单金额

2、在系统上发起请款后,会马上收到一条钉钉申请付款的审批流

3、采购员需要再单独申请一次财务付款

4、在“物料采购付款申请”这里选择系统刚刚生产的钉钉申请付款的审批流

5、钉钉会将系统全部带入当前流程,但还需要我们自己填写一次付款金额及付款账号

6、填写完上面信息后,提交申请,付款就会进入审批流程,审批完后财务会自动打款到指定账户

注:

系统自己生成的钉钉流程要等第二个流程审批通过后,再通过,如果第二次审批不能过,第一个审批需要由申请人设置为不通过,这样才可以重新请款

物料采购入库

己下单的采购单可以发起入库

1、入库时可以重新设定价格,填写入库数量,选择入库物料单位

2、物料支持多次入库

3、入库完后,可以设置此采购单完结

TPE移动端

1、打开外发加工单可以看到所有需要你处理的加工厂,及加工厂对应的在途订单,各状态下的订单数

2、选择一个工厂可以看到这个工厂的所有订单

3、选择一个订单

根据当前所属节点,填写相关信息