el-table中的type=“selection“列 不显示问题

602 阅读1分钟

el-table中的type=“selection“列 不显示问题

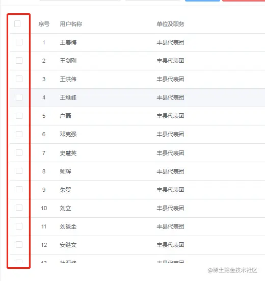
image.png 今天碰到一个比较奇怪的问题,想必也是很多新手前端同事会碰到的坑。今天分享一下我从碰到问题到解决问题的心路历程。 问题:想要给上图的表格加上一个复选框,但是加了type=“selection”却没有显示出来。这是代码:

image.png 代码看上去一点问题没有,然后我把这行代码换了一下位置,放到了后面

image.png 再看下效果,居然出来了,但是不是我想要的效果😔

image.png

解决:如果一个页面中用了多个表格,那么则需要分别给多个表格设置一个key,否则极容易导致出现上述情况,来看一下效果:

image.png

image.png