如何用JVS低代码实现配置设备管理应用,设备维保自动到期的功能

107 阅读2分钟

本项目采用低代码配置资产管理的系统,其中包括固定资产、耗材管理、采购、存储、出入库分配调拨等相关应用。这里详细介绍下如何动态实现设备维保自动到期的功能。

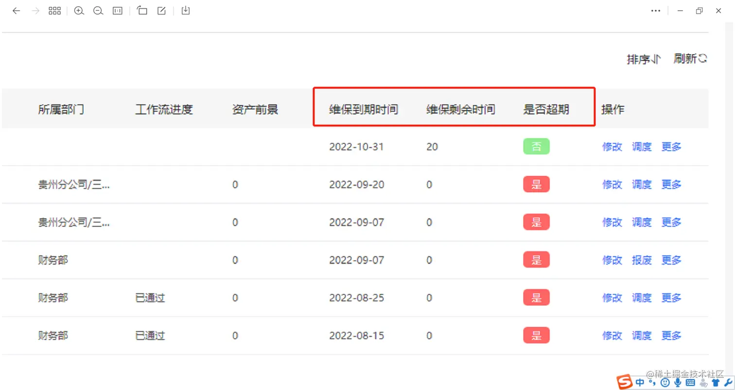
需求:在设备信息列表中,根据设备维保时间,自动变更维保到期状态,自动计算维保剩余时间。

这种需求在日常的业务系统中常常见到。那么接下来我们分析下如何实现这种数据自动变更的方式。

首先,我们分析需求,维保时间=当前时间与到期时间之间的天数, 一旦当前时间超过维保时间,状态为是,且以红色表示。

配置步骤:

1、配置硬件资产信息的列表页配置对应的剩余时间字段和超期状态 字段,设置字段的颜色显示,如图所示

2、配置一个每周期执行的周期性执行的业务逻辑,这个逻辑实现的功能是定时刷新两个字段的值,如下图,是设置定时任务的运行时间,通过con表达式实现定时启动

3、在逻辑引擎中设置对应的原子功能节点

4、设置执行的节点的流转条件,通过时间比较函数实现

5、通过公式配置计算,通过timebetween【时间之差】、now【当前时间】、dateformat【时间格式化】 几个函数的配合,维保时间和当前时间之差。

如果想要查看资产管理应用或者更多的应用 ,可以进入在线的demo 页面查看 knowledge.bctools.cn/, 也可以自己动手花30分钟部署在自己的服务器上试试。