如何通过车牌号查车辆信息?

1,204 阅读3分钟

牌照也叫车牌,是指车辆号牌,根据车牌号可以查到车主电话,可查到车辆的主人姓名以及车辆的登记信息。

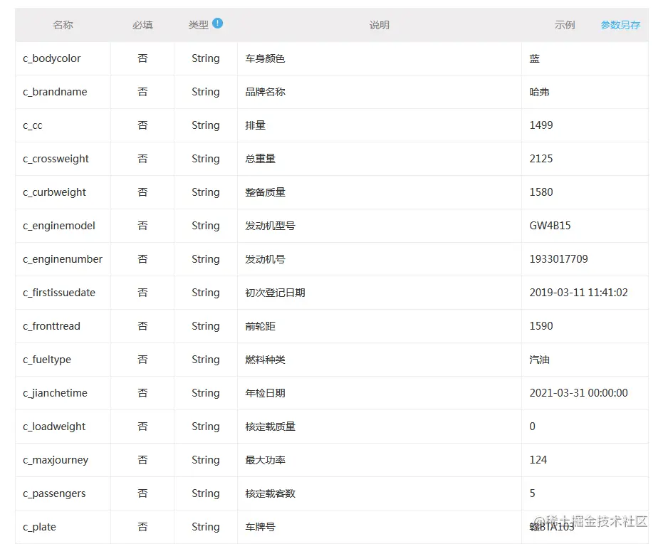
通过车牌号还可以查到的信息包括行驶证上的发动机号,车架号和初次登记日期以及车辆的年检日期,出厂日期和使用性质,车身的颜色以及最大功率,车辆年检信息等等,还能够查到车辆属于哪一种车型、类型。

但是并不是任何人都可以通过车牌号来查找相关信息的,只能够由公安机关和车主本人进行查询,其他人只有得到车主的授权才有可能查询,否则,是不可能查询别人的车辆信息的。如果,有车辆阻碍了交通,需要移动车辆,这时,你可以打114查询并通知车主及时挪开车子。

车牌号的功能

1、车牌号对于车子来说是必不可少的,机动车想要上路行驶的话基本上都需要有车牌号,也算是车子的一种身份证明,如果出现了违章情况的话,一般是通过车牌号来通知车主的。

2、在选择车牌号的时候,如果能够选择比较好的号码也是一件非常有意义的事情,比如8888或者9999等等,不过,获得这样的号码不容易。当然,在给车子上车牌号的时候也可以根据自身的喜好来选择号码,方便记忆。

通过车牌号查车辆信息的方法如下:

现在网络已经普及,很多事情都是通过网络来进行的。现在很多人就已经通过网络查询车辆信息,点击查询方法,输入车牌号码就可以查询行驶证上车架号、发动机号、初次登记日期、车身颜色、年检日期、最大功率、出厂日期、使用性质、检验有效期车型等相关信息,考虑到个人隐私,不能查询到车主信息的。

登陆【挖数据】平台进行查询,示意如下:

后附:

车牌号查车辆信息Api接口

子接口:

  • 车牌号查行驶证信息

返回格式:json,xml

请求方式:GET,POST

POST 请求需要设置Header头:Content-Type: application/x-www-form-urlencoded;charset=utf-8

请求说明:

返回参数说明:

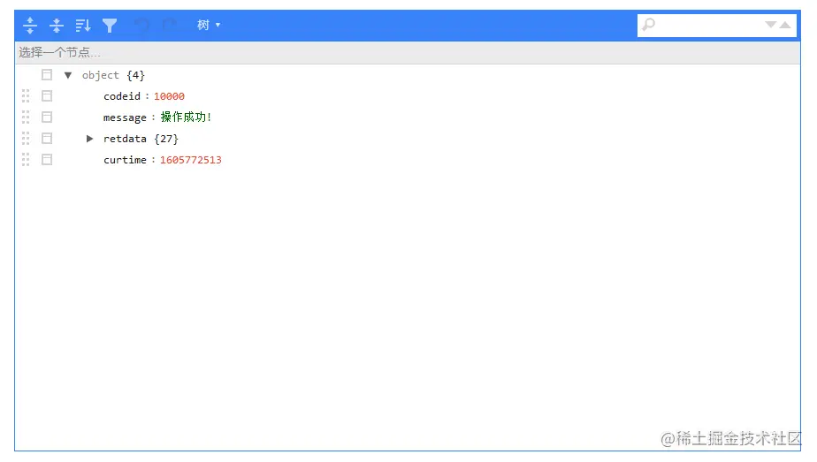
JSON返回示例:

请选择开发语言:


主要是返回发动机号和年检日期数据,其它参数不一定会全部返回,以查询的结果为主。

通过车牌号核查车辆行驶证信息,查询成功率约60%。

上【挖数据】平台查询可以为车主节约很多的时间和精力,让车主足不出户便可以了解关于自身车辆的问题。输入自己的车辆信息,就能很快地看到车辆信息的所有类型情况。