事件分发机制 ViewGroup分析

779 阅读5分钟

事件分发从手指触摸屏幕开始,即产生了触摸信息,被底层系统捕获后会传递给Android的输入系统服务IMS,通过Binder把消息发送到activity,activity会通过phoneWindow、DecorView最终发送给ViewGroup。这里就直接分析ViewGroup的事件分发

整体流程

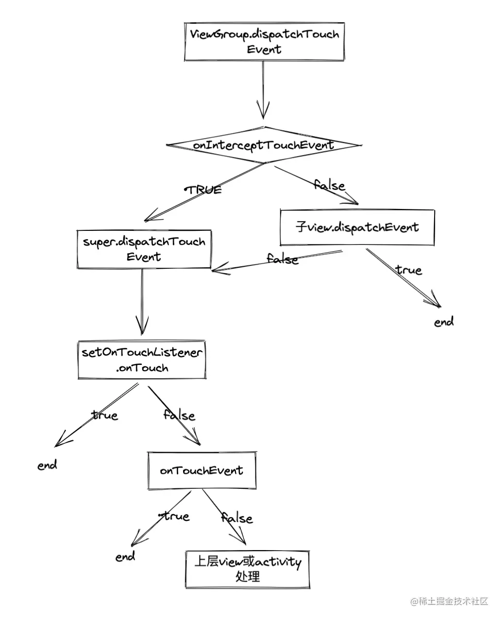
image.png

配合图在看一段伪代码:

public boolean dispatchTouchEvent(MotionEvent ev) :Boolean{
    val result = false  //处理结果,默认是没消费过的

    if (!onInterceptTouchEvent(ev)){ //是否拦截
        result = child.dispatchTouchEvent(ev) // 分发给子view处理
    }
    
    if (!result){ //事件没有消费
        if (onTouchListener != null) { //先询问是否设置了onTouchListener
            result = onTouchListener.onTouch(ev)
        }
        
        if (!result) { //还是没有消费就交给onTouchEvent处理
            result = onTouchEvent(ev)
        }
    }

    return result
}

这张图和这段伪代码实际上已经概括了ViewGroup和View对事件处理的整个流程,注意只有ViewGroup有拦截机制即onInterceptTouchEvent

源码分析

在分析源码之前先了解个基本概念 同一事件序列:同一个事件序列是指从手指接触屏幕的那一刻起,到手指离开屏幕的那一刻结束,在这个过程中所产生的一系列事件,这个事件序列以down事件开始,中间含有数量不定的move事件,最终以up事件结束

public boolean dispatchTouchEvent(MotionEvent ev) {

    boolean handled = false;
    if (onFilterTouchEventForSecurity(ev)) {
        final int action = ev.getAction();
        final int actionMasked = action & MotionEvent.ACTION_MASK;

        /**
         * step1
         * ACTION_DOWN是一个系列事件的起点,终点是ACTION_UP
         * 如果是ACTION_DOWN会重置一些flag并且会把mFirstTouchTarget置空
         */
        if (actionMasked == MotionEvent.ACTION_DOWN) {
            cancelAndClearTouchTargets(ev);
            resetTouchState();
        }

        final boolean intercepted;//变量判断消息是否被拦截
        /**
         * step2
         * 从以下代码可以看出如果事件不是ACTION_DOWN并且mFirstTouchTarget为空的话那么ViewGroup是不能再拦截同一系列的事件了
         * mFirstTouchTarget 代表的就是一个单链表,它会把处理当前这一系列事件的view保存下来
         * 假如当前事件是ACTION_MOVE,并拦截了该事件那么会在step9中把mFirstTouchTarget置空
         *
         * 结论1:
         * 如果View决定拦截一个事件那么该View的 onInterceptTouchEvent 方法不会再被调用了,
         * 同一序列事件后续的所有事件都只能由该View处理(当然前提是事件能分发到该view,有可能在上层被拦截了)
         */
        if (actionMasked == MotionEvent.ACTION_DOWN
                || mFirstTouchTarget != null) {
            /**
             * disallowIntercept表示是否禁用拦截功能,子view通过 requestDisallowInterceptTouchEvent 方法
             * 可以要求父view不准拦截事件,不过该方法在MotionEvent.ACTION_DOWN事件中不起作用,因为在step1中会把所有标志位重置
             *
             */
            final boolean disallowIntercept = (mGroupFlags & FLAG_DISALLOW_INTERCEPT) != 0;
            if (!disallowIntercept) {
                intercepted = onInterceptTouchEvent(ev);
                ev.setAction(action); // restore action in case it was changed
            } else {
                intercepted = false;
            }
        } else {
            /**
             * 如果进不到上面的if判断则表示当前系列事件viewGroup已经拦截过某个事件了
             * intercepted 直接置为true
             */
            intercepted = true;
        }


        final boolean canceled = resetCancelNextUpFlag(this)
                || actionMasked == MotionEvent.ACTION_CANCEL;

        final boolean isMouseEvent = ev.getSource() == InputDevice.SOURCE_MOUSE;
        final boolean split = (mGroupFlags & FLAG_SPLIT_MOTION_EVENTS) != 0
                && !isMouseEvent;
        TouchTarget newTouchTarget = null;
        boolean alreadyDispatchedToNewTouchTarget = false;
        /**
         * step3
         * 看这里如果ViewGroup拦截了该事件则不会进入step3里面了,而是直接走到step9中
         */
        if (!canceled && !intercepted) {
            /**
             * step4
             * 这里我们只考虑单指的点击、移动和抬起
             * ACTION_POINTER_DOWN和多点触控有关,ACTION_HOVER_MOVE和鼠标有关
             * 所以如果当前事件是MOVE也不会走step4也是直接走到step9中找到对应的子view继而分发事件
             * 结论2:如果DOWN事件被某个view消耗那么后续的事件都会直接交给这个view(前提是父view没有拦截)
             */
            if (actionMasked == MotionEvent.ACTION_DOWN
                    || (split && actionMasked == MotionEvent.ACTION_POINTER_DOWN)
                    || actionMasked == MotionEvent.ACTION_HOVER_MOVE) {
                final int actionIndex = ev.getActionIndex(); // always 0 for down
                final int idBitsToAssign = split ? 1 << ev.getPointerId(actionIndex)
                        : TouchTarget.ALL_POINTER_IDS;

                final int childrenCount = mChildrenCount;
                if (newTouchTarget == null && childrenCount != 0) {
                    final float x =
                            isMouseEvent ? ev.getXCursorPosition() : ev.getX(actionIndex);
                    final float y =
                            isMouseEvent ? ev.getYCursorPosition() : ev.getY(actionIndex);
                    // Find a child that can receive the event.
                    // Scan children from front to back.
                    final ArrayList<View> preorderedList = buildTouchDispatchChildList();
                    final boolean customOrder = preorderedList == null
                            && isChildrenDrawingOrderEnabled();
                    final View[] children = mChildren;
                    /**
                     * step5
                     * 遍历所有的子view
                     */
                    for (int i = childrenCount - 1; i >= 0; i--) {
                        final int childIndex = getAndVerifyPreorderedIndex(
                                childrenCount, i, customOrder);
                        final View child = getAndVerifyPreorderedView(
                                preorderedList, children, childIndex);

                        //省略部分代码。。。
                        /**
                         * step6
                         * 当找到一个合适的子view时,在 dispatchTransformedTouchEvent 中会调用子view的dispatchTouchEvent
                         * 如果该子view消耗了事件,会把子view保存到mFirstTouchTarget对应的链表中,并结束for循环
                         *
                         * 结论3:
                         * 如果一个view没有消耗DOWN事件那么后续的事件都不会再分发给该view
                         * 该结论和结论2呼应上了,因为在这个for循环中只有子view的 dispatchTransformedTouchEvent返回true才会被加入到链表中
                         * 下一次的事件并不会再到step4中来了
                         */
                        if (dispatchTransformedTouchEvent(ev, false, child, idBitsToAssign)) {
                            // Child wants to receive touch within its bounds.
                            mLastTouchDownTime = ev.getDownTime();
                            if (preorderedList != null) {
                                // childIndex points into presorted list, find original index
                                for (int j = 0; j < childrenCount; j++) {
                                    if (children[childIndex] == mChildren[j]) {
                                        mLastTouchDownIndex = j;
                                        break;
                                    }
                                }
                            } else {
                                mLastTouchDownIndex = childIndex;
                            }
                            mLastTouchDownX = ev.getX();
                            mLastTouchDownY = ev.getY();
                            /**
                             * step7
                             * 把子view保存到链表中,mFirstTouchTarget指向表头
                             * alreadyDispatchedToNewTouchTarget置为true
                             * 结束for循环
                             */
                            newTouchTarget = addTouchTarget(child, idBitsToAssign);
                            alreadyDispatchedToNewTouchTarget = true;
                            break;
                        }

                        // The accessibility focus didn't handle the event, so clear
                        // the flag and do a normal dispatch to all children.
                        ev.setTargetAccessibilityFocus(false);
                    }
                }
            }
        }

        /**
         * step8
         * 如果拦截了事件会把 mFirstTouchTarget 置空这个时候就直接调用viewGroup的super.dispatchTouchEvent
         * 即view中的dispatchTouchEvent
         */
        if (mFirstTouchTarget == null) {
            // No touch targets so treat this as an ordinary view.
            handled = dispatchTransformedTouchEvent(ev, canceled, null,
                    TouchTarget.ALL_POINTER_IDS);
        } else {
            // Dispatch to touch targets, excluding the new touch target if we already
            // dispatched to it.  Cancel touch targets if necessary.
            TouchTarget predecessor = null;
            TouchTarget target = mFirstTouchTarget;
            /**
             * step9
             * 如果拦截了就把mFirstTouchTarget置空,没有拦截就找到对应的childView把事件分发下去
             */
            while (target != null) {
                final TouchTarget next = target.next;
                if (alreadyDispatchedToNewTouchTarget && target == newTouchTarget) {
                    handled = true;
                } else {
                    final boolean cancelChild = resetCancelNextUpFlag(target.child)
                            || intercepted;
                    //注意这里cancelChild如果为true,并且target.child不为空的话,dispatchTransformedTouchEvent会把事件转成CANCEL分发给target.child
                    if (dispatchTransformedTouchEvent(ev, cancelChild,
                            target.child, target.pointerIdBits)) {
                        handled = true;
                    }
                    if (cancelChild) {
                        if (predecessor == null) {
                            mFirstTouchTarget = next;
                        } else {
                            predecessor.next = next;
                        }
                        target.recycle();
                        target = next;
                        continue;
                    }
                }
                predecessor = target;
                target = next;
            }
        }

    }

    return handled;
}

看下cancel事件的由来,这里需要结合上文代码step9看

private boolean dispatchTransformedTouchEvent(MotionEvent event, boolean cancel,
                                              View child, int desiredPointerIdBits) {
    final boolean handled;
    
    final int oldAction = event.getAction();
    if (cancel || oldAction == MotionEvent.ACTION_CANCEL) {
        /**
         * 把事件转换成ACTION_CANCEL
         */
        event.setAction(MotionEvent.ACTION_CANCEL);
        if (child == null) {
            handled = super.dispatchTouchEvent(event);
        } else {
            /**
             * 如果child不为空就分发给它
             */
            handled = child.dispatchTouchEvent(event);
        }
        event.setAction(oldAction);
        return handled;
    }
    
    return handled;
}