什么是身份证认证接口?有啥子什么作用?

536 阅读3分钟

自从人类发明了互联网络,网络就成了人类的另一个虚拟世界,既丰富了人们的想象空间,也方便人们的日常生活,当然,网络更成了一种安全工具,识别人们的身份认证更加方便了。

在网络数据里,会有各种行业众多的接口,其中一个最基础的接口就是身份证实名认证接口。这个API接口主要用于身份证二要素官方实名核验,通过用户输入姓名和身份证号码,来校验姓名和身份证号是否匹配并返回校验结果,判断你提供的姓名及身份证号是否匹配。

相信,这些实名认证场景应用你遇到过,例如:住酒店、上网吧、寄快递、注册账户及电话号码申请、乘坐飞机或列车及长途汽车购票等等。

一个合格的身份证二要素产品,需要同时具备安全、稳定、实时等特质。以挖数据的身份证实名认证接口为例,一个好的身份证实名认证接口需要具备以下几点:

1、权威数据:平台确保数据全部是来自于国家公安系统和银联系统。

2、实时更新:平台与公安系统/银联中心无缝链接数据,无延迟。

3、网络稳定:可靠、安全稳定的数据让用户应用放心,可快速发展业务。

4、便捷高效:API接口调用方便,应用自如。

5、安全放心:支持信息加密传输,多通道自动切换方式,保证业务不间断。

6、准确率高:实时查询0缓存,毫秒级响应, 准确率99.99%。

7、专业服务:7*24小时服务,极速响应,为用户保驾护航。

API接口:身份证实名认证在人们生活中使用广泛,其中游戏、出行、直播、金融、电商、等场景应用比较普遍:

网络购物类:

网络购物实行实名制,可与消费者信用相关联,建立完善的客户资源管理。

网络直播类:

API接口普遍应用于网络直播中用户实名认证,方便加强网络用户的管理。

网络金融类:

在网络金融领域,由于是高风险行业,不可能用人工识别,更需求高效精准的科技程序来支持,在线身份实名认证必不可少。

后附:

身份证二要素实名认证Api接口详情

Api文档:

子接口:

  • 身份验证核查详细版本

接口地址: www.wapi.cn/api_detail/…

返回格式:json,xml

请求方式:GET

POST 请求需要设置Header头:Content-Type: application/x-www-form-urlencoded;charset=utf-8

请求说明:

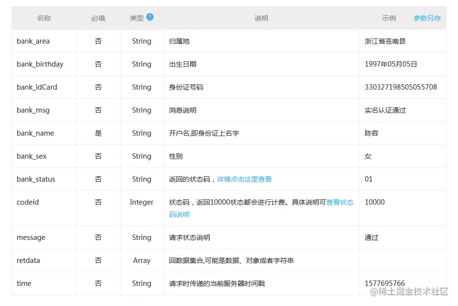
返回参数说明:

JSON返回示例:

服务器状态码:

请求示例:

网络实名认证制是一项社会管理的必要补充措施,其实施很大程度上带来了网络安全,甚至起到人们财产保障的重要作用。推荐使用挖数据提供的身份证实名认证接口,链接官方权威渠道,数据精准,实时核验,毫秒级响应,零缓存,99.99%准确率。