ERP,仓储系统官方淘宝订单详情接口taobao.trade.fullinfo.get( 获取单笔交易的详细信息 )

77 阅读1分钟

聚石塔获取订单详情(可脱敏) ERP,仓储系统

点击注册咨询:点击这里

公共请求参数:在这里插入图片描述 公共响应参数:

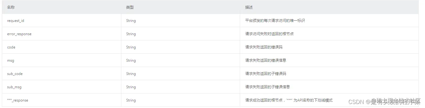
在这里插入图片描述 请求公共参数: 在这里插入图片描述 响应参数:

在这里插入图片描述