携手创作,共同成长!这是我参与「掘金日新计划·8 月更文挑战」的第17天,点击查看活动详情
四、功能截图:
4.1 登录注册:
编辑
4.2 用户首页:
4.2.1 首页:
电影推荐系统,在系统首页可以查看首页,免费电影,付费电影,电影论坛,电影资讯,个人中心等内容,并进行详细操作。
编辑
4.2.2 免费电影:
免费电影,在免费电影页面可以查看电影编号,电影分类,评分,开映时间,时长,导演,主演,点击次数等信息,并进行赞一下,踩一下,点我收藏等操作

编辑 4.2.3 付费电影:
付费电影,在免费电影页面可以查看电影编号,电影分类,评分,开映时间,时长,导演,主演,点击次数等信息,并进行赞一下,踩一下,点我收藏等操作
编辑
查看详情!进行预览播放视频!收藏 点餐 踩等功能!收藏越多权重越高
编辑 详情查看以及评论等操作
编辑
4.2.4 电影论坛:
编辑
编辑
4.2.5 电影资讯:
编辑
4.2.6 个人中心:
个人中心,在个人中心页面通过填写用户名,姓名,密码,性别,年龄,手机号等内容进行更新信息,还可以根据需要对我的发布,我的收藏进行相对应操作
编辑
4.3 用户后端:
4.3.1 个人信息:
编辑
4.3.2 电影订单:
编辑
4.4 管理员后端:
可以对首页,个人中心,用户管理,电影分类管理,免费电影管理,付费电影管理,电影订单管理、电影论坛,系统管理等功能进行相应的操作
4.4.1 用户管理:
用户管理,在用户管理页面可以对索引,用户名,姓名,性别,年龄,手机号等内容进行详情,修改和删除操作
编辑
4.4.2 电影分类:
编辑
4.4.3 免费电影:
免费电影管理,在免费电影管理页面可以对索引,电影编号,电影名称,视频,海报,评分,开映时间,时长,主演,导演等内容进行详情,修改,查看评论和删除操作
编辑
编辑
4.4.4 付费电影:
付费电影管理,在付费电影管理页面可以对索引,电影编号,电影名称,预告片,价格,海报,评分,开映时间,时长,主演,导演等内容进行详情,修改,查看评论和删除操作
编辑
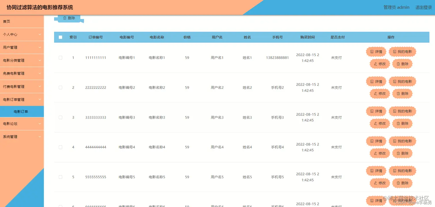
4.4.5 电影订单:
电影订单管理,在电影订单管理页面可以对 索引,订单编号,电影编号,电影名称,价格,用户名,姓名,手机号,购买时间,是否支付等内容进行详情,我的电影,修改和删除等操作
编辑
4.4.7 电影论坛:
编辑
4.4.8 系统管理:
编辑
4.4.9 首页轮播图:
编辑
五、代码实现:
5.1 用户登录:
form.on('submit(login)', function(data) {
data = data.field;
if (vue.roles.length!=1) {
if (!data.role) {
layer.msg('请选择登录用户类型', {
time: 2000,
icon: 5
});
return false;
}
} else {
data.role = vue.roles[0].tableName;
}
http.request(data.role + '/login', 'get', data, function(res) {
layer.msg('登录成功', {
time: 2000,
icon: 6
});
// 登录凭证
localStorage.setItem('Token', res.token);
var roleName = "";
if(typeof(jquery('#role:checked').attr('title')) == "undefined") {
roleName = vue.roles[0].roleName;
} else {
roleName = jquery('#role:checked').attr('title');
}
localStorage.setItem('role', roleName);
// 当前登录用户角色
localStorage.setItem('userTable', data.role);
localStorage.setItem('sessionTable', data.role);
// 用户名称
localStorage.setItem('adminName', data.username);
http.request(data.role + '/session', 'get', {}, function(res) {
// 用户id
localStorage.setItem('userid', res.data.id);
if(res.data.vip) {
localStorage.setItem('vip', res.data.vip);
}
// 路径访问设置
window.location.href = '../../index.html';
})
});
return false
});
5.2 文件上传;
/**
* 上传文件
*/
@RequestMapping("/upload")
public R upload(@RequestParam("file") MultipartFile file, String type,HttpServletRequest request) throws Exception {
if (file.isEmpty()) {
throw new EIException("上传文件不能为空");
}
String fileExt = file.getOriginalFilename().substring(file.getOriginalFilename().lastIndexOf(".")+1);
String fileName = new Date().getTime()+"."+fileExt;
File dest = new File(request.getSession().getServletContext().getRealPath("/upload")+"/"+fileName);
file.transferTo(dest);
// FileUtils.copyFile(dest, new File("D:\ssmpiv99\src\main\webapp\upload"+"/"+fileName)); /**修改了路径以后请将该行最前面的//注释去掉**/
if(StringUtils.isNotBlank(type) && type.equals("1")) {
ConfigEntity configEntity = configService.selectOne(new EntityWrapper<ConfigEntity>().eq("name", "faceFile"));
if(configEntity==null) {
configEntity = new ConfigEntity();
configEntity.setName("faceFile");
configEntity.setValue(fileName);
} else {
configEntity.setValue(fileName);
}
configService.insertOrUpdate(configEntity);
}
return R.ok().put("file", fileName);
}
5.3 电影订单:
/**
* 电影订单
* 后端接口
* @author
* @email
* @date 2022-08-06 21:42:07
*/
@RestController
@RequestMapping("/dianyingdingdan")
public class DianyingdingdanController {
@Autowired
private DianyingdingdanService dianyingdingdanService;
/**
* 前端列表
*/
@RequestMapping("/list")
public R list(@RequestParam Map<String, Object> params,DianyingdingdanEntity dianyingdingdan,
HttpServletRequest request){
EntityWrapper<DianyingdingdanEntity> ew = new EntityWrapper<DianyingdingdanEntity>();
PageUtils page = dianyingdingdanService.queryPage(params, MPUtil.sort(MPUtil.between(MPUtil.likeOrEq(ew, dianyingdingdan), params), params));
return R.ok().put("data", page);
}
/**
* 列表
*/
@RequestMapping("/lists")
public R list( DianyingdingdanEntity dianyingdingdan){
EntityWrapper<DianyingdingdanEntity> ew = new EntityWrapper<DianyingdingdanEntity>();
ew.allEq(MPUtil.allEQMapPre( dianyingdingdan, "dianyingdingdan"));
return R.ok().put("data", dianyingdingdanService.selectListView(ew));
}
/**
* 查询
*/
@RequestMapping("/query")
public R query(DianyingdingdanEntity dianyingdingdan){
EntityWrapper< DianyingdingdanEntity> ew = new EntityWrapper< DianyingdingdanEntity>();
ew.allEq(MPUtil.allEQMapPre( dianyingdingdan, "dianyingdingdan"));
DianyingdingdanView dianyingdingdanView = dianyingdingdanService.selectView(ew);
return R.ok("查询电影订单成功").put("data", dianyingdingdanView);
}
/**
* 前端详情
*/
@RequestMapping("/detail/{id}")
public R detail(@PathVariable("id") Long id){
DianyingdingdanEntity dianyingdingdan = dianyingdingdanService.selectById(id);
return R.ok().put("data", dianyingdingdan);
}
/**
* 前端保存
*/
@RequestMapping("/add")
public R add(@RequestBody DianyingdingdanEntity dianyingdingdan, HttpServletRequest request){
dianyingdingdan.setId(new Date().getTime()+new Double(Math.floor(Math.random()*1000)).longValue());
//ValidatorUtils.validateEntity(dianyingdingdan);
dianyingdingdanService.insert(dianyingdingdan);
return R.ok();
}
/**
* 修改
*/
@RequestMapping("/update")
public R update(@RequestBody DianyingdingdanEntity dianyingdingdan, HttpServletRequest request){
//ValidatorUtils.validateEntity(dianyingdingdan);
dianyingdingdanService.updateById(dianyingdingdan);//全部更新
return R.ok();
}
/**
* 删除
*/
@RequestMapping("/delete")
public R delete(@RequestBody Long[] ids){
dianyingdingdanService.deleteBatchIds(Arrays.asList(ids));
return R.ok();
}
}
5.4 协同过滤算法主要实现:
/**
* 协同算法(按收藏推荐)
*/
@RequestMapping("/autoSort")
public R autoSort2(@RequestParam Map<String, Object> params,MianfeidianyingEntity mianfeidianying, HttpServletRequest request){
String userId = request.getSession().getAttribute("userId").toString();
String inteltypeColumn = "dianyingfenlei";
List<StoreupEntity> storeups = storeupService.selectList(new EntityWrapper<StoreupEntity>().eq("type", 1).eq("userid", userId).eq("tablename", "mianfeidianying").orderBy("addtime", false));
List<String> inteltypes = new ArrayList<String>();
Integer limit = params.get("limit")==null?10:Integer.parseInt(params.get("limit").toString());
List<MianfeidianyingEntity> mianfeidianyingList = new ArrayList<MianfeidianyingEntity>();
//去重
if(storeups!=null && storeups.size()>0) {
for(StoreupEntity s : storeups) {
mianfeidianyingList.addAll(mianfeidianyingService.selectList(new EntityWrapper<MianfeidianyingEntity>().eq(inteltypeColumn, s.getInteltype())));
}
}
EntityWrapper<MianfeidianyingEntity> ew = new EntityWrapper<MianfeidianyingEntity>();
params.put("sort", "id");
params.put("order", "desc");
PageUtils page = mianfeidianyingService.queryPage(params, MPUtil.sort(MPUtil.between(MPUtil.likeOrEq(ew, mianfeidianying), params), params));
List<MianfeidianyingEntity> pageList = (List<MianfeidianyingEntity>)page.getList();
if(mianfeidianyingList.size()<limit) {
int toAddNum = (limit-mianfeidianyingList.size())<=pageList.size()?(limit-mianfeidianyingList.size()):pageList.size();
for(MianfeidianyingEntity o1 : pageList) {
boolean addFlag = true;
for(MianfeidianyingEntity o2 : mianfeidianyingList) {
if(o1.getId().intValue()==o2.getId().intValue()) {
addFlag = false;
break;
}
}
if(addFlag) {
mianfeidianyingList.add(o1);
if(--toAddNum==0) break;
}
}
}
page.setList(mianfeidianyingList);
return R.ok().put("data", page);
}
六、项目总结:
历经六个月左右的时间,本次的毕业设计已画上了句号。原本以为完成一个系统会很顺利,因为在之前课上,也曾动手操作过相关的模块编写,但当真正接触到一个完整的系统时,发现并没有想象地那么简单。首先,以前实践过的只是单独的模块,而这次,是一个庞大的系统,许多细节不容忽视,有时候稍不留意的一个小错误,会致使整个系统都运行不起来,而查找错误的过程又漫长且艰辛,这也正是经验不足所导致的。在整个系统开发过程中,也查阅了很多书籍和相关资料,这让我不但巩固了原本的知识,同时还学习到了一些新的知识,这让我受益匪浅。
此次系统从整体看来,已基本达到预期的设计目的,能够实现基本的功能,但相较于市场的一些优秀网站而言,还是有许多不足的地方。遗憾的是,由于时间的有限,已经不允许再投入更多的时间和精力进行研究开发。相信在以后的工作中,我会接触到更多相关的知识,会更丰富自身的经验,我希望到时能够在此基础上完成一个丰富完整的学习网站,这将对我有很大的意义。
通过这次的毕业设计,我学到了很多,除了学识方面的知识,在态度上也有了很大的转变,细心和耐心是整个开发过程中最重要的两件事。我也在跟随着系统的完善而成长,这次毕业设计考核地也不单单是所学的知识,也同样在衡量着面对困难时的态度。
大家点赞、收藏、关注、评论啦 、查看👇🏻👇🏻
打卡 文章 更新 308/ 365天