如何可视化编写和编排你的 K8s 任务

1,217 阅读7分钟

简介: 通过任务调度 SchedulerX 来调度你的 K8s 任务,能够降低学习成本,加快开发效率,让你的任务失败可报警,出问题可排查,打造云原生可观测体系下的可视化 K8s 任务。

作者:学仁

简介

K8s Job 是 Kubernetes 中的一种资源,用来处理短周期的 Pod,相当于一次性任务,跑完就会把 Pod 销毁,不会一直占用资源,可以节省成本,提高资源利用率。

阿里任务调度 SchedulerX 和云原生结合,重磅推出可视化 K8s 任务,针对脚本使用者,屏蔽了容器服务的细节,不用构建镜像就可以让不熟悉容器的同学(比如运维和运营同学)玩转K8s Job,受益容器服务带来的降本增效福利。针对容器使用者,SchedulerX 不但完全兼容原生的 K8s Job,还能支持历史执行记录、日志服务、重跑任务、报警监控、可视化任务编排等能力,为企业级应用保驾护航。架构图如下:

1.png

特性一:快速开发 K8s 可视化脚本任务

Kubernetes 的 Job,常见用来做离线数据处理和运维工作(比如每天凌晨 2 点把 mysql 数据同步到大数据平台,每隔 1 小时更新一次 redis 缓存等),一般以脚本实现居多。这里以一个简单的场景举例子,来对比两种方案的差异。

Kubernetes 原生解决方案

K8s 调度的最小单位是 Pod,想跑脚本任务,需要提前把脚本打包到镜像里,然后在 YAML 文件中配置脚本命令,下面以通过 python 脚本查询数据库为例子:

  • 编写 python 脚本 demo.py

    #!/usr/bin/python

    -- coding: UTF-8 --

    import MySQLdb

    打开数据库连接

    db = MySQLdb.connect("localhost", "testuser", "test123", "TESTDB", charset='utf8' )

    使用cursor()方法获取操作游标

    cursor = db.cursor()

    SQL 查询语句

    sql = "SELECT * FROM EMPLOYEE
    WHERE INCOME > %s" % (1000) try: # 执行SQL语句 cursor.execute(sql) # 获取所有记录列表 results = cursor.fetchall() for row in results: fname = row[0] lname = row[1] age = row[2] sex = row[3] income = row[4] # 打印结果 print "fname=%s,lname=%s,age=%s,sex=%s,income=%s" %
    (fname, lname, age, sex, income ) except: print "Error: unable to fetch data"

            # 关闭数据库连接
    

    db.close()

  • 编写 Dockerfile

    FROM python:3

    WORKDIR /usr/src/app

    COPY requirements.txt ./ RUN pip install --no-cache-dir -r requirements.txt

    COPY demo.py /root/demo.py

    CMD [ "python", "/root/demo.py" ]

  • 制作 docker 镜像,推到镜像仓库中

    docker build -t registry.cn-beijing.aliyuncs.com/demo/python:1.0.0 . docker push registry.cn-beijing.aliyuncs.com/demo/python:1.0.0

  • 编写 K8s Job 的 YAML 文件,image 选择第 3 步制作的镜像,command 的命令为执行脚本

    apiVersion: batch/v1 kind: Job metadata: name: demo-python spec: template: spec: containers: - name: demo-python image: registry.cn-beijing.aliyuncs.com/demo/python:1.0.0 command: ["python", "/root/demo.py"] restartPolicy: Never backoffLimit: 4

我们看到要在容器服务中跑脚本,需要这么多步骤,如果要修改脚本,还需要重新构建镜像和重新发布 K8s Job,非常麻烦。

阿里云解决方案

阿里任务调度 SchedulerX 结合云原生技术,提出了一套可视化的脚本任务解决方案,通过任务调度系统来管理脚本,直接在线编写脚本,不需要构建镜像,就可以将脚本以 Pod 的方式在用户的 K8s 集群当中运行起来,使用非常方便,如下图:

2.png

image.gif1. 在 SchedulerX 任务管理新建一个 K8s 任务,资源类型选择 Python-Script(当前支持shell/python/php/nodejs 四种脚本类型)

3.png

image.gif2. 点击运行一次,在 Kubernetes 集群中可以看到 pod 启动,pod 名称为 schedulerx-python-{JobId}

4.png

3. 在 SchedulerX 控制台也可以看到历史执行记录

5.png

4. 在 SchedulerX 控制台可以看到 Pod 运行的日志

6.png

下面通过一个表格更方便的看到两个方案的差异:

7.png

特性二:完全兼容原生 K8s Job

SchedulerX 不但能够快速开发 K8s 脚本任务,屏蔽容器服务的细节,给不熟悉容器服务的同学带来福音,同时还能托管原生 K8s Job。

原生自带的Job方案

  • Job

以官方提供的 Job 为例:

1. 编写 YAML 文件 pi.yaml,故意写一个错误,bpi(-1)是非法的

apiVersion: batch/v1
kind: Job
metadata:
  name: pi
spec:
  template:
    spec:
      containers:
      - name: pi
        image: perl:5.34
        command: ["perl",  "-Mbignum=bpi", "-wle", "print bpi(-1)"]
      restartPolicy: Never
  backoffLimit: 4

2. 在 K8s 集群中运行该 Job,并查看 Pod 的状态和日志:image.gif

8.png

K8s 原生的 Job 不支持重跑,修改完 Job 后想要重跑,需要先删除,再重新 apply,非常麻烦。

9.png

  • CronJob

以官方提供的 CronJob 为例:

1. 编写 hello.yaml

apiVersion: batch/v1
kind: CronJob
metadata:
  name: hello
spec:
  schedule: "* * * * *"
  jobTemplate:
    spec:
      template:
        spec:
          containers:
          - name: hello
            image: perl:5.34
            command: ["perl",  "-Mbignum=bpi", "-wle", "print bpi(100)"]
          restartPolicy: OnFailure

2. 在 K8s 集群中运行该 CronJob,查看 pod 历史记录和日志

10.png

发现原生的 CronJob 只能查看最近3条执行记录,想要查看更久之前的记录无法看到,这在业务出现问题想排查的时候就变得尤为困难。

阿里云解决方案

阿里任务调度 SchedulerX 可以托管原生 K8s 任务,方便移植,使用 SchedulerX 托管,可以享有任务调度的特性,比如任务重跑、历史记录、日志服务、报警监控等。

1. 新建 K8s 任务,任务类型选择 K8s,资源类型选择 Job-YAML,打印 bpi(-1)image.gif

11.png

2. 通过工具来生成 cron 表达式,比如每小时第 8 分钟跑image.gif

12.png

3. 调度时间还没到,也可以手动点击“运行一次”来进行测试image.gif

13.png

4. 在 K8s 集群中可以看到 Job 和 Pod 启动成功image.gif

14.png

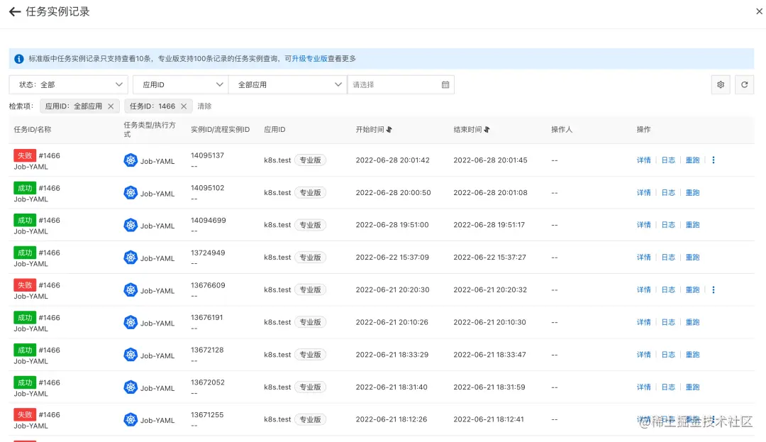
5. 在 SchedulerX 控制台也可以看到历史执行记录

15.png

6. 在 SchedulerX 控制台可以看到任务运行日志

16.png

7. 在线修改任务的 YAML,打印 bpi(100)

17.png

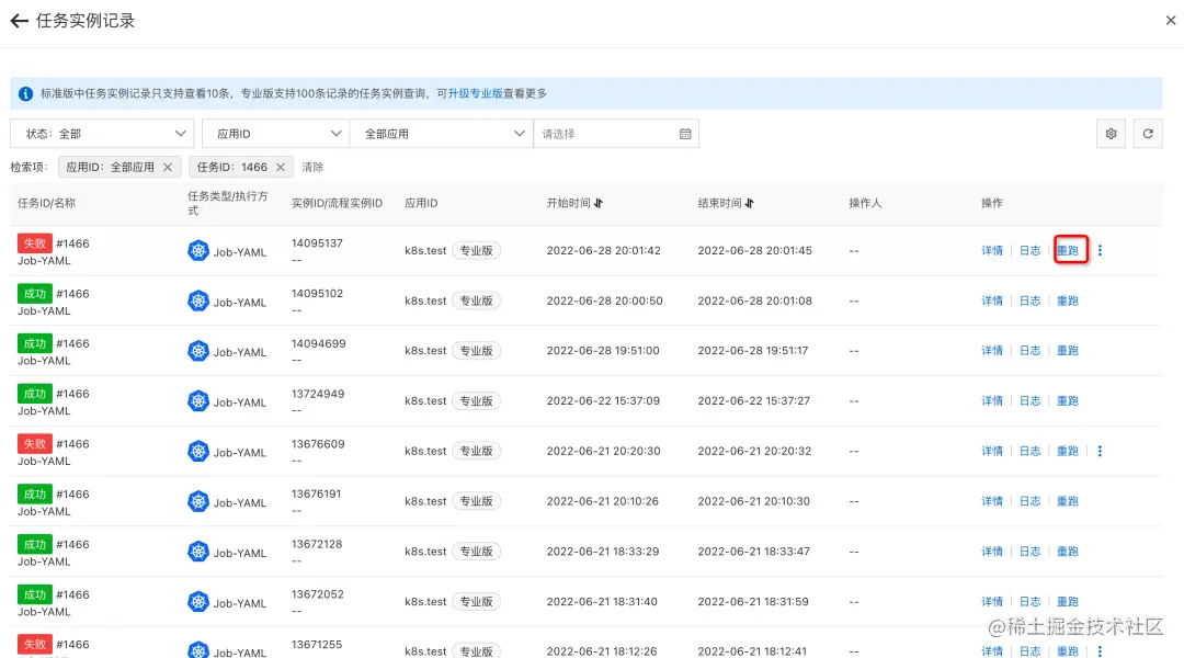
8. 不需要删除 Job,通过控制台来重跑任务image.gif

18.png

9. 任务重跑成功,且能看到新的日志

19.png

20.png

下面通过一个表格来对比两个方案的差异

image.gif

21.png

特性三:增强原生 Job,支持可视化任务编排

在数据处理场景下,任务之间往往有依赖关系,比如 A 任务依赖 B 任务的完成才能开始执行。

Kubernetes 原生解决方案

当前 K8s 中主流的解决方案是使用 argo 进行工作流编排,比如定义一个 DAG 如下:

# The following workflow executes a diamond workflow
# 
#   A
#  / \
# B   C
#  \ /
#   D
apiVersion: argoproj.io/v1alpha1
kind: Workflow
metadata:
  generateName: dag-diamond
spec:
  entrypoint: diamond
  templates:
  - name: diamond
    dag:
      tasks:
      - name: A
        template: echo
        arguments:
          parameters: [{name: message, value: A}]
      - name: B
        depends: "A"
        template: echo
        arguments:
          parameters: [{name: message, value: B}]
      - name: C
        depends: "A"
        template: echo
        arguments:
          parameters: [{name: message, value: C}]
      - name: D
        depends: "B && C"
        template: echo
        arguments:
          parameters: [{name: message, value: D}]

  - name: echo
    inputs:
      parameters:
      - name: message
    container:
      image: alpine:3.7
      command: [echo, "{{inputs.parameters.message}}"]

我们看到构建这么简单的一个 DAG,就需要写这么多 YAML,如果依赖关系复杂,则 YAML 就变得非常难维护。

阿里云解决方案

阿里任务调度 SchedulerX 支持通过可视化的工作流进行任务编排

1. 创建一个工作流,可以导入任务,也可以在当前画布新建任务,通过拖拽构建一个工作流image.gif

22.png

2. 点击运行一次,可以实时看到工作流的运行情况,方便排查任务卡在哪个环节:image.gif

23.png

3. 如果有任务失败了,通过控制台查看日志

24.png

4. 把任务修改正确,在工作流实例图上,原地重跑失败的节点

25.png

5. 失败的任务会重新按照最新的内容执行

26.png

6. 当上游都执行成功,下游就可以继续执行了

27.png

总结

通过任务调度 SchedulerX 来调度你的 K8s 任务,能够降低学习成本,加快开发效率,让你的任务失败可报警,出问题可排查,打造云原生可观测体系下的可视化 K8s 任务。

原文链接:click.aliyun.com/m/100035335…

本文为阿里云原创内容,未经允许不得转载。