hncloud新加坡云服务器测评(新加坡SG1机房)

354 阅读3分钟

下面我们就会对华纳云新加坡 VPS的网络情况进行详细测评介绍。

先看看我本地网络的 Ping延迟情况,如下所示:

 

\

可以看到我本地 Ping的平均延迟在89ms左右,对于一般的新加坡VPS来说我本地的平均延迟一般都在150~180ms左右,这样可以延迟可以说是相当给力。而且因为我是在内陆地区测试,如果你是东南沿海地区,那么这个延迟还会低很多的。并且可以看到网络稳定性也是相当给力的,没有丢包的情况。

我本地个人的测试情况不代表全国三网用户的情况,所以我们通过工具再测试下全国三网的延迟,如下所示:

\

从测试结果可以看到,三网 Ping的平均延迟在81ms左右,其中居然是移动网络延迟是最低的,其次是电信、联通。不过整体而已三网延迟都差不多。另外你也可以看到在东南沿海的广东地区,延迟更是低到只有40ms左右,可谓是相当给力的。

接下来我们就看看三网的去程路由线路。

电信网络去程路由:

 

\

可以看到电信网络是经过香港节点,然后直连新加坡机房,并且走是是 59.43的CN2 GIA线路。

联通网络去程路由:

 

\

联通网络去程先走的 AS4837优化线路,然后再走的AS9929的联通VIP优化线路,相当的给力。线路也是通过香港节点后直连新加坡机房的。

移动网络去程路由:

 

\

移动网络同样是通过香港节点后直连新加坡机房的。

接下来我们再看看三网的回程路由测试。

电信网络回程路由:

  

电信网络回程走的是直连线路,并且也是走的 59.43的CN2线路。

联通网络回程路由:

  

联通网络回程也是通过香港节点后回到大陆节点,都是直连线路。

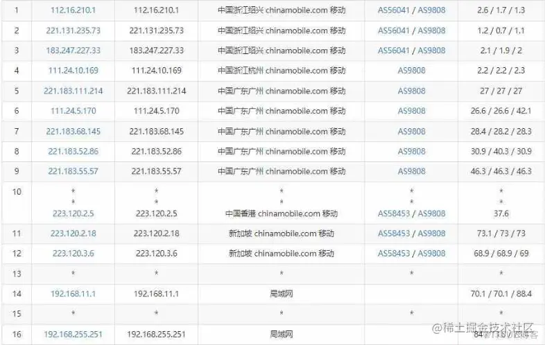
移动网络回程路由:

  

移动网络回程则是直连内地节点,似乎比电信和联通还要更好一些。

可以看到华纳云这款新加坡 VPS三网不管去程和回程都是直连线路,并且是拥有双向的CN2 GIA线路,相当的给力。

接下来我们再看看这款新加坡 VPS的服务器性能和上下载速度怎么样,如下所示:

  

可以看到磁盘的 I/O在161MB/秒左右,这个肯定是采用的SSD固态硬盘无疑了。因为我测试的5Mbps带宽的机子,所以上传和下载速度都跑满了5Mbps。

从上面的各方面数据来看,华纳云新加坡 vps云服务器还是相当给力的,速度稳定性不错,无限流量,支持windows linux等多种操作系统,也支持宝塔面板。套餐可以选择月付 年付 3年付,如果你长期使用,建议年付或者3年付。支持支付宝、paypal进行付款。