Spring Security 实现动态权限菜单方案(附源码)

670 阅读7分钟

本文已参与「新人创作礼」活动,一起开启掘金创作之路。

系统权限管理

1、前言

在实际开发中,开发任何一套系统,基本都少不了权限管理这一块。这些足以说明权限管理的重要性。其实SpringSecurity去年就学了,一直没有时间整理,用了一年多时间了,给我的印象一直都挺好,实用,安全性高(Security可以对密码进行加密)。而且这一块在实际开发中也的确很重要,所以这里整理了一套基于SpringSecurity的权限管理。

案例代码下面有下载链接。

2、案例技术栈

如果对于SpringSecurity还不了解的话可以先了解一下SpringSecurity安全控件的学习,页面采用的是Bootstrap写的(页面就简单的写了一下,可以根据自己的需求更改),其实后端理解了,前台就是显示作用,大家可以自行更换前台页面显示框架,持久层使用的是Spring-Data-Jpa。

并且对后端持久层和控制器进行了一下小封装,Java持久层和控制器的封装。页面使用的Thymeleaf模板,SpringBoot整合Thymeleaf模板。

数据库设计

1、表关系

图片

  • 菜单(TbMenu)=====> 页面上需要显示的所有菜单
  • 角色(SysRole)=====> 角色及角色对应的菜单
  • 用户(SysUser)=====> 用户及用户对应的角色
  • 用户和角色中间表(sys_user_role)====> 用户和角色中间表

2、数据库表结构

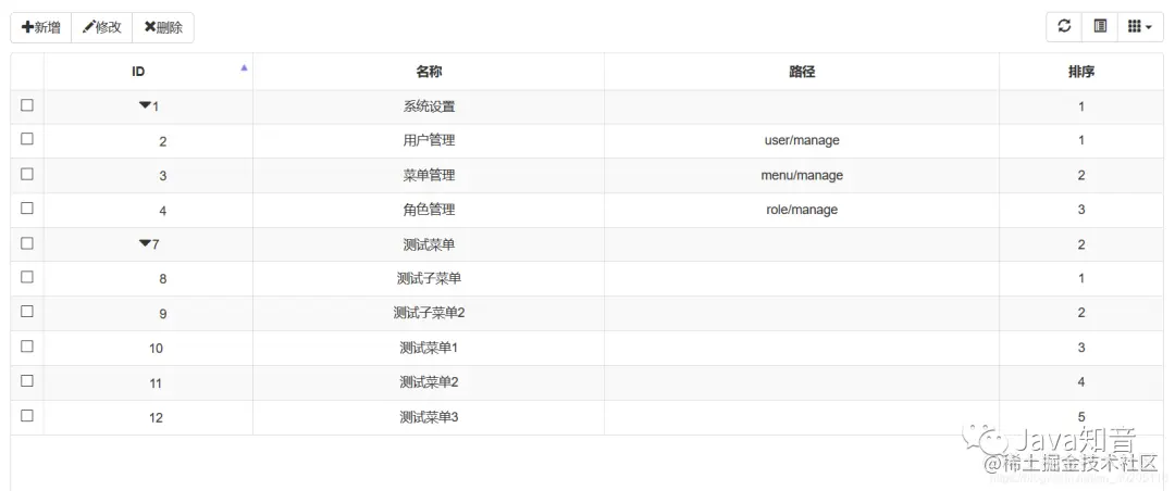
菜单表tb_menu

图片

角色及菜单权限表sys_role,其中父节点parent 为null时为角色,不为null时为对应角色的菜单权限。

图片

用户表sys_user

图片

用户和角色多对多关系,用户和角色中间表sys_user_role(有Spring-Data-Jpa自动生成)。

图片

新建项目

1、新建springboot项目

新建springboot项目,在项目中添加SpringSecurity相关Maven依赖,pom.map文件

<?xml version="1.0" encoding="UTF-8"?>
<project xmlns="http://maven.apache.org/POM/4.0.0" xmlns:xsi="http://www.w3.org/2001/XMLSchema-instance"
         xsi:schemaLocation="http://maven.apache.org/POM/4.0.0 https://maven.apache.org/xsd/maven-4.0.0.xsd">
    <modelVersion>4.0.0</modelVersion>
    <parent>
        <groupId>org.springframework.boot</groupId>
        <artifactId>spring-boot-starter-parent</artifactId>
        <version>2.2.2.RELEASE</version>
        <relativePath/> <!-- lookup parent from repository -->
    </parent>
    <groupId>com.mcy</groupId>
    <artifactId>springboot-security</artifactId>
    <version>0.0.1-SNAPSHOT</version>
    <name>springboot-security</name>
    <description>Demo project for Spring Boot</description>
 
    <properties>
        <java.version>1.8</java.version>
    </properties>
 
    <dependencies>
        <dependency>
            <groupId>org.springframework.boot</groupId>
            <artifactId>spring-boot-starter-data-jpa</artifactId>
        </dependency>
        <dependency>
            <groupId>org.springframework.boot</groupId>
            <artifactId>spring-boot-starter-security</artifactId>
        </dependency>
        <dependency>
            <groupId>org.springframework.boot</groupId>
            <artifactId>spring-boot-starter-thymeleaf</artifactId>
        </dependency>
        <dependency>
            <groupId>org.springframework.boot</groupId>
            <artifactId>spring-boot-starter-web</artifactId>
        </dependency>
 
        <dependency>
            <groupId>mysql</groupId>
            <artifactId>mysql-connector-java</artifactId>
            <scope>runtime</scope>
        </dependency>
        <dependency>
            <groupId>org.springframework.boot</groupId>
            <artifactId>spring-boot-starter-test</artifactId>
            <scope>test</scope>
            <exclusions>
                <exclusion>
                    <groupId>org.junit.vintage</groupId>
                    <artifactId>junit-vintage-engine</artifactId>
                </exclusion>
            </exclusions>
        </dependency>
        <dependency>
            <groupId>org.springframework.security</groupId>
            <artifactId>spring-security-test</artifactId>
            <scope>test</scope>
        </dependency>
        <dependency>
            <groupId>org.thymeleaf.extras</groupId>
            <artifactId>thymeleaf-extras-springsecurity5</artifactId>
        </dependency>
        <dependency>
            <groupId>org.springframework.boot</groupId>
            <artifactId>spring-boot-devtools</artifactId>
            <scope>runtime</scope>
            <optional>true</optional>
        </dependency>
        <dependency>
            <groupId>org.webjars.bower</groupId>
            <artifactId>bootstrap-select</artifactId>
            <version>2.0.0-beta1</version>
        </dependency>
        <dependency>
            <groupId>org.webjars</groupId>
            <artifactId>bootbox</artifactId>
            <version>4.4.0</version>
        </dependency>
    </dependencies>
 
    <build>
        <plugins>
            <plugin>
                <groupId>org.springframework.boot</groupId>
                <artifactId>spring-boot-maven-plugin</artifactId>
            </plugin>
        </plugins>
    </build>
 
</project>

2、项目结构

图片

编写代码

1、编写实体类

菜单表实体类TbMenu,Spring-Data-Jpa可以根据实体类去数据库新建或更新对应的表结构,详情可以访问Spring-Data-Jpa入门:

blog.csdn.net/qq_40205116…

import com.fasterxml.jackson.annotation.JsonIgnore;
import com.mcy.springbootsecurity.custom.BaseEntity;
import org.springframework.data.annotation.CreatedBy;
 
import javax.persistence.*;
import java.util.ArrayList;
import java.util.List;
 
/**
 * 菜单表
 * @author
 *
 */
@Entity
public class TbMenu extends BaseEntity<Integer> {
 private String name;
 private String url;
 private Integer idx;
 @JsonIgnore
 private TbMenu parent;
 @JsonIgnore
 private List<TbMenu> children=new ArrayList<>();
 
 @Column(unique=true)
 public String getName() {
  return name;
 }
 
 public void setName(String name) {
  this.name = name;
 }
 
 public String getUrl() {
  return url;
 }
 
 public void setUrl(String url) {
  this.url = url;
 }
 
 public Integer getIdx() {
  return idx;
 }
 
 public void setIdx(Integer idx) {
  this.idx = idx;
 }
 
 @ManyToOne
 @CreatedBy
 public TbMenu getParent() {
  return parent;
 }
 
 public void setParent(TbMenu parent) {
  this.parent = parent;
 }
 
 @OneToMany(cascade=CascadeType.ALL,mappedBy="parent")
 @OrderBy(value="idx")
 public List<TbMenu> getChildren() {
  return children;
 }
 
 public void setChildren(List<TbMenu> children) {
  this.children = children;
 }
 
 public TbMenu(Integer id) {
  super(id);
 }
 
 public TbMenu(){
  super();
 }
 
 public TbMenu(String name, String url, Integer idx, TbMenu parent, List<TbMenu> children) {
  this.name = name;
  this.url = url;
  this.idx = idx;
  this.parent = parent;
  this.children = children;
 }
 
 public TbMenu(Integer integer, String name, String url, Integer idx, TbMenu parent, List<TbMenu> children) {
  super(integer);
  this.name = name;
  this.url = url;
  this.idx = idx;
  this.parent = parent;
  this.children = children;
 }
 
 @Transient
 public Integer getParentId() {
  return parent==null?null:parent.getId();
 }
}

表新建好了,下面就是实现增删改查就可以了,实现效果如下。

图片

新增和修改菜单。

图片

对于Bootstrap的树形表格,可以移步到:BootStrap-bable-treegrid树形表格的使用。

blog.csdn.net/qq_40205116…

菜单管理实现了,下一步就是实现角色及角色对应的权限管理了。

角色及权限表SysRole,parent 为null时为角色,不为null时为权限。

package com.mcy.springbootsecurity.entity;
 
import com.fasterxml.jackson.annotation.JsonIgnore;
import com.mcy.springbootsecurity.custom.BaseEntity;
import org.springframework.data.annotation.CreatedBy;
import javax.persistence.*;
import java.util.ArrayList;
import java.util.List;
 
@Entity
/***
 * 角色及角色对应的菜单权限
 * @author
 *parent 为null时为角色,不为null时为权限
 */
public class SysRole extends BaseEntity<Integer> {
 private String name; //名称
 private String code; //代码
 @JsonIgnore
 private SysRole parent;
 private Integer idx; //排序
 @JsonIgnore
 private List<SysRole> children = new ArrayList<>();
 
 @Column(length=20)
 public String getName() {
  return name;
 }
 
 public void setName(String name) {
  this.name = name;
 }
 
 public String getCode() {
  return code;
 }
 
 public void setCode(String code) {
  this.code = code;
 }
 
 @ManyToOne
 @CreatedBy
 public SysRole getParent() {
  return parent;
 }
 
 public void setParent(SysRole parent) {
  this.parent = parent;
 }
 
 @OneToMany(cascade=CascadeType.ALL,mappedBy="parent")
 public List<SysRole> getChildren() {
  return children;
 }
 
 public void setChildren(List<SysRole> children) {
  this.children = children;
 }
 
 //获取父节点id
 @Transient
 public Integer getParentId() {
  return parent==null?null:parent.getId();
 }
 
 public Integer getIdx() {
  return idx;
 }
 
 public void setIdx(Integer idx) {
  this.idx = idx;
 }
 
 public SysRole(String name, String code, SysRole parent, Integer idx, List<SysRole> children) {
  this.name = name;
  this.code = code;
  this.parent = parent;
  this.idx = idx;
  this.children = children;
 }
 
 public SysRole(Integer id, String name, String code, SysRole parent, Integer idx, List<SysRole> children) {
  super(id);
  this.name = name;
  this.code = code;
  this.parent = parent;
  this.idx = idx;
  this.children = children;
 }
 
 public SysRole(Integer id) {
  super(id);
 }
 
 public SysRole(){}
}

首先需要实现角色管理,之后在角色中添加对应的菜单权限。

实现效果(也可以和菜单管理一样,用树形表格展示,根据个人需求。这里用的是树形菜单展示的)。

图片

给角色分配权限。

图片

最后实现的就是用户管理了,只需要对添加的用户分配对应的角色就可以了,用户登录时,显示角色对应的权限。

用户表SysUser,继承的BaseEntity类中就一个ID字段。

import com.fasterxml.jackson.annotation.JsonIgnore;
import com.mcy.springbootsecurity.custom.BaseEntity;
 
import javax.persistence.*;
import java.util.ArrayList;
import java.util.List;
 
/**
 * 用户表
 */
@Entity
public class SysUser extends BaseEntity<Integer> {
 private String username; //账号
 private String password; //密码
 private String name;  //姓名
 private String address;  //地址
 
 @JsonIgnore
 private List<SysRole> roles=new ArrayList<>(); //角色
 
 @Column(length=20,unique=true)
 public String getUsername() {
  return username;
 }
 public void setUsername(String username) {
  this.username = username;
 }
 
 @Column(length=100)
 public String getPassword() {
  return password;
 }
 public void setPassword(String password) {
  this.password = password;
 }
 
 @Column(length=20)
 public String getName() {
  return name;
 }
 public void setName(String name) {
  this.name = name;
 }
 
 @ManyToMany(cascade=CascadeType.REFRESH,fetch=FetchType.EAGER)
 @JoinTable(name="sys_user_role",joinColumns=@JoinColumn(name="user_id"),inverseJoinColumns=@JoinColumn(name="role_id"))
 public List<SysRolegetRoles() {
  return roles;
 }
 public void setRoles(List<SysRole> roles) {
  this.roles = roles;
 }
 
 public String getAddress() {
  return address;
 }
 
 public void setAddress(String address) {
  this.address = address;
 }
 
 //角色名称
 @Transient
 public String getRoleNames() {
  String str="";
  for (SysRole role : getRoles()) {
   str+=role.getName()+",";
  }
  if(str.length()>0) {
   str=str.substring(0, str.length()-1);
  }
  return str;
 }
 
 //角色代码
 @Transient
 public String getRoleCodes() {
  String str="";
  for (SysRole role : getRoles()) {
   str+=role.getCode()+",";
  }
  if(str.indexOf(",")>0) {
   str=str.substring(0,str.length()-1);
  }
  return str;
 }
 
}

用户管理就基本的数据表格,效果如图。

图片

2、Security配置文件

Security相关配置文件,下面两个文件如果看不懂,可以访问SpringSecurity安全控件的学习中有详细讲解。

blog.csdn.net/qq_40205116…

package com.mcy.springbootsecurity.security;
 
import com.mcy.springbootsecurity.service.SysUserService;
import org.springframework.beans.factory.annotation.Autowired;
import org.springframework.context.annotation.Configuration;
import org.springframework.security.config.annotation.authentication.builders.AuthenticationManagerBuilder;
import org.springframework.security.config.annotation.web.builders.HttpSecurity;
import org.springframework.security.config.annotation.web.configuration.WebSecurityConfigurerAdapter;
import org.springframework.security.crypto.bcrypt.BCryptPasswordEncoder;
 
@Configuration
public class WebSecurityConfig extends WebSecurityConfigurerAdapter {
 
    @Autowired
    private SysUserService userService;
 
    /**
     * 用户认证操作
     * @param auth
     * @throws Exception
     */
    @Override
    protected void configure(AuthenticationManagerBuilder auth) throws Exception {
        //添加用户,并给予权限
        auth.inMemoryAuthentication().withUser("aaa").password("{noop}1234").roles("DIY");
        //设置认证方式
        auth.userDetailsService(userService).passwordEncoder(new BCryptPasswordEncoder());
    }
 
    /**
     * 用户授权操作
     * @param http
     * @throws Exception
     */
    @Override
    protected void configure(HttpSecurity http) throws Exception {
        http.csrf().disable();    //安全器令牌
        http.formLogin()
                //登录请求被拦截
                .loginPage("/login").permitAll()
                //设置默认登录成功跳转页面
                .successForwardUrl("/main")
                .failureUrl("/login?error");   //登录失败的页面
        http.authorizeRequests().antMatchers("/static/**""/assets/**").permitAll();    //文件下的所有都能访问
        http.authorizeRequests().antMatchers("/webjars/**").permitAll();
        http.logout().logoutUrl("/logout").permitAll();     //退出
        http.authorizeRequests().anyRequest().authenticated();    //除此之外的都必须通过请求验证才能访问
    }
}

获取登录者相关信息,工具类。

import com.mcy.springbootsecurity.entity.SysUser;
import com.mcy.springbootsecurity.service.SysUserService;
import org.springframework.beans.factory.annotation.Autowired;
import org.springframework.security.core.GrantedAuthority;
import org.springframework.security.core.context.SecurityContextHolder;
import org.springframework.security.core.userdetails.UserDetails;
import org.springframework.stereotype.Component;
 
import java.util.ArrayList;
import java.util.List;
 
//创建会话,获取当前登录对象
@Component
public class UserUtils {
 @Autowired
 private SysUserService userService;
 
 /**
  * 获取当前登录者的信息
  * @return 当前者信息
  */
 public SysUser getUser() {
  //获取当前用户的用户名
  String username = SecurityContextHolder.getContext().getAuthentication().getName();
  SysUser user = userService.findByUsername(username);
  return user;
 }
 
 /**
  * 判断此用户中是否包含roleName菜单权限
  * @param roleName
  * @return
  */
 public Boolean hasRole(String roleName) {
  //获取UserDetails类,
  UserDetails userDetails = (UserDetailsSecurityContextHolder.getContext().getAuthentication().getPrincipal();
  List<String> roleCodes=new ArrayList<>();
  for (GrantedAuthority authority : userDetails.getAuthorities()) {
   //getAuthority()返回用户对应的菜单权限
   roleCodes.add(authority.getAuthority());
  }
  return roleCodes.contains(roleName);
 }
}

3、动态权限菜单加载相关方法

用户表的SysUserService需要实现UserDetailsService接口,因为在SpringSecurity中配置的相关参数需要是UserDetailsService类的数据。

重写UserDetailsService接口中的loadUserByUsername方法,通过该方法查询对应的用户,返回对象UserDetails是SpringSecurity的一个核心接口。其中定义了一些可以获取用户名,密码,权限等与认证相关信息的方法。

重写的loadUserByUsername方法。

@Override
public UserDetails loadUserByUsername(String username) throws UsernameNotFoundException {
    //调用持久层接口findByUsername方法查询用户。
    SysUser user = userRepository.findByUsername(username);
    if(user == null){
        throw new UsernameNotFoundException("用户名不存在");
    }
    //创建List集合,用来保存用户菜单权限,GrantedAuthority对象代表赋予当前用户的权限
    List<GrantedAuthority> authorities = new ArrayList<>();
    //获得当前用户角色集合
    List<SysRole> roles = user.getRoles();
    List<SysRole> haveRoles=new ArrayList<>();
    for (SysRole role : roles) {
        haveRoles.add(role);
        List<SysRole> children = roleService.findByParent(role);
        children.removeAll(haveRoles);
        haveRoles.addAll(children);
    }
    for(SysRole role: haveRoles){
        //将关联对象role的name属性保存为用户的认证权限
        authorities.add(new SimpleGrantedAuthority(role.getName()));
    }
    //此处返回的是org.springframework.security.core.userdetails.User类,该类是SpringSecurity内部的实现
    //org.springframework.security.core.userdetails.User类实现了UserDetails接口
    return new User(user.getUsername(), user.getPassword(), authorities);
}

所有功能实现了,最后就是根据角色去显示对应的菜单了。

TbMenuService类中的findAuditMenu方法,查询当前用户所拥有的权限菜单。

/**
 * 获取用户所拥有的权限对应的菜单项
 * @return
 */
public List<TbMenu> findAuditMenu() {
    List<TbMenu> menus;
    //判断是否是后门用户
    if(userUtils.hasRole("ROLE_DIY")){
        //查询所有菜单,子菜单可以通过父级菜单的映射得到
        menus = menuRepository.findByParentIsNullOrderByIdx();
    }else{
        //获取此用户对应的菜单权限
        menus = auditMenu(menuRepository.findByParentIsNullOrderByIdx());
    }
    return menus;
}
 
//根据用户的菜单权限对菜单进行过滤
private List<TbMenu> auditMenu(List<TbMenu> menus) {
    List<TbMenu> list = new ArrayList<>();
    for(TbMenu menu: menus){
        String name = menu.getName();
        //判断此用户是否有此菜单权限
        if(userUtils.hasRole(name)){
            list.add(menu);
            //递归判断子菜单
            if(menu.getChildren() != null && !menu.getChildren().isEmpty()) {
                menu.setChildren(auditMenu(menu.getChildren()));
            }
        }
    }
    return list;
}

在UserUtils工具类中的hasRole方法,判断此用户中是否包含roleName菜单权限。

public Boolean hasRole(String roleName) {
 //获取UserDetails类,
 UserDetails userDetails = (UserDetails) SecurityContextHolder.getContext().getAuthentication().getPrincipal();
 List<String> roleCodes=new ArrayList<>();
 for (GrantedAuthority authority : userDetails.getAuthorities()) {
  //getAuthority()返回用户对应的菜单权限
  roleCodes.add(authority.getAuthority());
 }
 return roleCodes.contains(roleName);
}

之后在控制器中返回用户对应的菜单权限,之后在前台页面遍历就可以了。

@RequestMapping(value = "/main")
public String main(ModelMap map){
    //加载菜单
    List<TbMenu> menus = menuService.findAuditMenu();
    map.put("menus", menus);
    if (menus.isEmpty()) {
        return "main/main";
    }
    return "main/main1";
}

4、首页菜单遍历

首页菜单遍历,这里使用的是LayUI菜单,如果其他框架可以自行根据页面标签规律遍历,因为页面使用的是Thymeleaf模板,不是JSP,使用遍历菜单时不是采用的EL表达式,而是使用的Thymeleaf自带的标签表达式。

<div id="main">
    <div id="main_nav">
        <div class="panel-group" id="accordion" style="margin-bottom: 0;">
            <div th:each="menu, menuStat: ${menus}" th:if="${menu.children.size() != 0 && menu.children != null}" class="panel panel-default">
                <div class="panel-heading">
                    <h4 class="panel-title">
                        <p data-toggle="collapse" data-parent="#accordion" th:href="|#collapseOne${menuStat.index}|">
                            <span th:text="${menu.name}">系统设置</span><span class="caret"></span>
                        </p>
                    </h4>
                </div>
                <div th:if="${menuStat.first}" th:id="|collapseOne${menuStat.index}|" class="panel-collapse collapse collapse in">
                    <div class="panel-body">
                        <p th:each="subMenu:${menu.children}" th:src="${subMenu.url}" th:text="${subMenu.name}">菜单管理</p>
                    </div>
                </div>
                <div th:if="${!menuStat.first}" th:id="|collapseOne${menuStat.index}|" class="panel-collapse collapse collapse">
                    <div class="panel-body">
                        <p th:each="subMenu:${menu.children}" th:src="${subMenu.url}" th:text="${subMenu.name}">菜单管理</p>
                    </div>
                </div>
            </div>
        </div>
        <div id="nav_p">
            <p th:each="menu:${menus}" th:if="${menu.children.size() == 0}" th:src="${menu.url}" th:text="${menu.name}">成绩管理</p>
        </div>
    </div>
    <div id="main_home">
        首页内容
    </div>
</div>

测试应用

1、对应效果展示

用户数据及对应的角色

图片

管理员对应的菜单权限。

图片

用户角色对应的菜单权限。

图片

测试用户角色对应的菜单权限。

图片

2、测试应用

用户名为admin1有管理员角色的用户登录,菜单显示。

图片

用户名为admin2有用户角色的用户登录,菜单显示。

图片

用户名为admin3有测试用户角色的用户登录,菜单显示。

图片

3、案例代码下载

下载地址:github.com/machaoyin/S…