给大家推荐一个好用的面单打印工具--这些主要运用到物流方面业务

925 阅读1分钟

1.需求

客户一下子发来十来张这样的模板(每一个不一样,不同快递的)让去实现

EMS 空运.jpg 这要是手写 写到猴年马月了,这么复杂的东西 所以就在网上找一些好用的模板打印的工具

2.找到这么一个 打印模板的组件,现在推荐给大家,炒鸡好用!

网站地址 github.com/myliuxia/kr… (使用方法看git地址介绍,很清晰 引入使用就行) 这是我使用的情况

image.png 可以创建右边对应的小组件,可以上传背景图片(也即是你打印模板的照片)

这是组件的预览效果

image.png

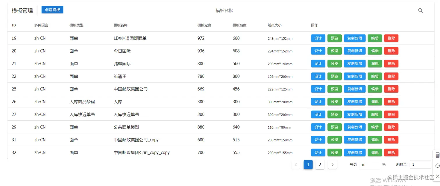
这是我创建的模板列表(可设计\可预览\可复制\可编辑)

image.png