Mapreduce实例(七):单表join

148 阅读2分钟

大家好,我是风云,欢迎大家关注我的博客 或者 微信公众号【笑看风云路】,在未来的日子里我们一起来学习大数据相关的技术,一起努力奋斗,遇见更好的自己!

知识回顾

区分笛卡儿积,自然连接,等值连接,内连接,外连接 <= 回顾下数据库基础知识

实现思路

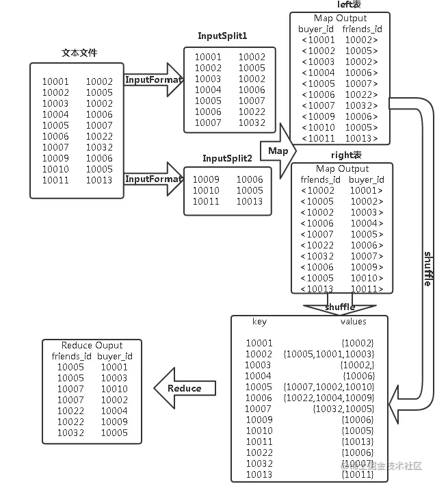
以本实验的buyer1(buyer_id,friends_id)表为例来阐述单表连接的实验原理。单表连接,连接的是左表的buyer_id列和右表的friends_id列,且左表和右表是同一个表。

因此,在map阶段将读入数据分割成buyer_id和friends_id之后,会将buyer_id设置成key,friends_id设置成value,直接输出并将其作为左表;再将同一对buyer_id和friends_id中的friends_id设置成key,buyer_id设置成value进行输出,作为右表。

为了区分输出中的左右表,需要在输出的value中再加上左右表的信息,比如在value的String最开始处加上字符1表示左表,加上字符2表示右表。这样在map的结果中就形成了左表和右表,然后在shuffle过程中完成连接

reduce接收到连接的结果,其中每个key的value-list就包含了"buyer_idfriends_id--friends_idbuyer_id"关系。取出每个key的value-list进行解析,将左表中的buyer_id放入一个数组,右表中的friends_id放入一个数组,然后对两个数组求笛卡尔积就是最后的结果了。

img

代码编写

Map代码

public static class Map extends Mapper<Object,Text,Text,Text>{  
    //实现map函数  
    public void map(Object key,Text value,Context context)  
      throws IOException,InterruptedException{  
      String line = value.toString();  
      String[] arr = line.split("\t");   //按行截取  
      String mapkey=arr[0];  
      String mapvalue=arr[1];  
      String relationtype=new String();  //左右表标识  
      relationtype="1";  //输出左表  
      context.write(new Text(mapkey),new Text(relationtype+"+"+mapvalue));  
      //System.out.println(relationtype+"+"+mapvalue);  
      relationtype="2";  //输出右表  
      context.write(new Text(mapvalue),new Text(relationtype+"+"+mapkey));  
      //System.out.println(relationtype+"+"+mapvalue);  
  
    }  
  } 

Map处理的是一个纯文本文件,Mapper处理的数据是由InputFormat将数据集切分成小的数据集InputSplit,并用RecordReader解析成<key/value>对提供给map函数使用。map函数中用split("\t")方法把每行数据进行截取,并把数据存入到数组arr[],把arr[0]赋值给mapkey,arr[1]赋值给mapvalue。用两个context的write()方法把数据输出两份,再通过标识符relationtype为1或2对两份输出数据的value打标记。

Reduce代码

 public static class Reduce extends Reducer<Text, Text, Text, Text>{  
    //实现reduce函数  
    public void reduce(Text key,Iterable<Text> values,Context context)  
      throws IOException,InterruptedException{  
      int buyernum=0;  
      String[] buyer=new String[20];  
      int friendsnum=0;  
      String[] friends=new String[20];  
      Iterator ite=values.iterator();  
      while(ite.hasNext()){  
        String record=ite.next().toString();  
        int len=record.length();  
        int i=2;  
        if(0==len){  
          continue;  
        }  
        //取得左右表标识  
        char relationtype=record.charAt(0);  
        //取出record,放入buyer  
        if('1'==relationtype){  
          buyer [buyernum]=record.substring(i);  
          buyernum++;  
        }  
        //取出record,放入friends  
        if('2'==relationtype){  
          friends[friendsnum]=record.substring(i);  
          friendsnum++;  
        }  
      }  
      //buyernum和friendsnum数组求笛卡尔积  
      if(0!=buyernum&&0!=friendsnum){  
        for(int m=0;m<buyernum;m++){  
          for(int n=0;n<friendsnum;n++){  
            if(buyer[m]!=friends[n]){  
              //输出结果  
              context.write(new Text(buyer[m]),new Text(friends[n]));  
            }  
          }  
        }  
      }  
    }  
  }

​ reduce端在接收map端传来的数据时已经把相同key的所有value都放到一个Iterator容器中values。reduce函数中,首先新建两数组buyer[]和friends[]用来存放map端的两份输出数据。然后Iterator迭代中hasNext()和Next()方法加while循环遍历输出values的值并赋值给record,用charAt(0)方法获取record第一个字符赋值给relationtype,用if判断如果relationtype为1则把用substring(2)方法从下标为2开始截取record将其存放到buyer[]中,如果relationtype为2时将截取的数据放到frindes[]数组中。然后用两个for循环嵌套遍历输出<key,value>,其中key=buyer[m],value=friends[n]。

完整代码

package mapreduce;  
  import java.io.IOException;  
  import java.util.Iterator;  
  import org.apache.hadoop.conf.Configuration;  
  import org.apache.hadoop.fs.Path;  
  import org.apache.hadoop.io.Text;  
  import org.apache.hadoop.mapreduce.Job;  
  import org.apache.hadoop.mapreduce.Mapper;  
  import org.apache.hadoop.mapreduce.Reducer;  
  import org.apache.hadoop.mapreduce.lib.input.FileInputFormat;  
  import org.apache.hadoop.mapreduce.lib.output.FileOutputFormat;  
  public class DanJoin {  
    public static class Map extends Mapper<Object,Text,Text,Text>{  
      public void map(Object key,Text value,Context context)  
        throws IOException,InterruptedException{  
        String line = value.toString();  
        String[] arr = line.split("\t");  
        String mapkey=arr[0];  
        String mapvalue=arr[1];  
        String relationtype=new String();  
        relationtype="1";  
        context.write(new Text(mapkey),new Text(relationtype+"+"+mapvalue));  
        //System.out.println(relationtype+"+"+mapvalue);  
        relationtype="2";  
        context.write(new Text(mapvalue),new Text(relationtype+"+"+mapkey));  
        //System.out.println(relationtype+"+"+mapvalue);  
      }  
    }  
    public static class Reduce extends Reducer<Text, Text, Text, Text>{  
      public void reduce(Text key,Iterable<Text> values,Context context)  
        throws IOException,InterruptedException{  
        int buyernum=0;  
        String[] buyer=new String[20];  
        int friendsnum=0;  
        String[] friends=new String[20];  
        Iterator ite=values.iterator();  
        while(ite.hasNext()){  
          String record=ite.next().toString();  
          int len=record.length();  
          int i=2;  
          if(0==len){  
            continue;  
          }  
          char relationtype=record.charAt(0);  
          if('1'==relationtype){  
            buyer [buyernum]=record.substring(i);  
            buyernum++;  
          }  
          if('2'==relationtype){  
            friends[friendsnum]=record.substring(i);  
            friendsnum++;  
          }  
        }  
        if(0!=buyernum&&0!=friendsnum){  
          for(int m=0;m<buyernum;m++){  
            for(int n=0;n<friendsnum;n++){  
              if(buyer[m]!=friends[n]){  
                context.write(new Text(buyer[m]),new Text(friends[n]));  
              }  
            }  
          }  
        }  
      }  
    }  
    public static void main(String[] args) throws Exception{  
  
      Configuration conf=new Configuration();  
      String[] otherArgs=new String[2];  
      otherArgs[0]="hdfs://localhost:9000/mymapreduce7/in/buyer1";  
      otherArgs[1]="hdfs://localhost:9000/mymapreduce7/out";  
      Job job=new Job(conf," Table join");  
      job.setJarByClass(DanJoin.class);  
      job.setMapperClass(Map.class);  
      job.setReducerClass(Reduce.class);  
      job.setOutputKeyClass(Text.class);  
      job.setOutputValueClass(Text.class);  
      FileInputFormat.addInputPath(job, new Path(otherArgs[0]));  
      FileOutputFormat.setOutputPath(job, new Path(otherArgs[1]));  
      System.exit(job.waitForCompletion(true)?0:1);  
  
    }  
  }  

-------------- end ----------------

微信公众号:扫描下方二维码或 搜索 笑看风云路 关注

笑看风云路