CDN绕过技术

129 阅读4分钟

本文已参与[新人创作礼]活动,一起开启掘进创作之路。

今天继续给大家介绍渗透测试相关知识,本文主要内容是CDN绕过技术。

免责声明: 本文所介绍的内容仅做学习交流使用,严禁利用文中技术进行非法行为,否则造成一切严重后果自负! 再次强调:严禁对未授权设备进行渗透测试!

一、CDN介绍

CDN,即Content Delivery Network,内容分发网络的简称。可以为指定的站点提供缓存服务,从而缩短站点访问时间,提升用户体验。目前,网络上大型站点都使用了CDN技术,当我们访问网站时,根据访问用户的IP地址信息,将用户的DNS请求定位到不同的IP地址,这样用户就可以就近访问了。 我们在进行渗透测试的过程中,遇见有CDN的网站,应该绕过CDN,找到目标网站真是的IP地址进行渗透,这是因为CDN设备上存储的是目标网站的缓存信息,并不是真正的网站服务器。

二、CDN判断

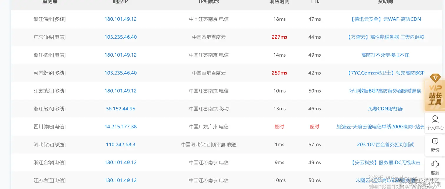
判断CDN是否存在的方法非常加单,即借助第三方网站ping.chinaz.com/。我们对百度的网站进行测试,结果如下: 在这里插入图片描述 从上图可以看出,这个网站可以使得多个不同地域的站点对指定目标进行渗透测试,从结果来看,从不同的地区访问百度,其DNS解析的IP地址是不同的,这就说明百度网站使用了CDN技术。 如果我们在进行测试的时候,目标站点在不同的地区反馈回相同的IP地址,这就说明目标站点没有使用CDN服务。

三、CDN绕过

那么我们应该如何绕过CDN呢,通常可以有以下方法: 1、子域名查询 CDN技术的使用,需要目标网站花费额外的经费,并且进行CDN的站点越多,该网站需要花费的也就越高。基于此,很多网站为了经济上的原因,只对主站进行了CDN,但是没有对子站进行CDN。我们基于此就可以对目标站点的子域名进行测试,从而查看目标站点是否使用了CDN技术。 PS:我们在访问站点时,为了访问的便利,很多站点都会作两条DNS解析记录,一条是带www的,另一条是不带www的。例如,我们访问www.baidu.com或者baidu.com,会访问到相同的网站,有的网站只对带有www的网站进行了CDN设置,而没有多不带www的网站进行CDN设置。因此,我们在信息收集时,可以测试这一点。 2、邮件服务查询 邮件服务是找到目标站点真实IP地址,绕过CDN的一大很实用的工具。通常而言,现代公司一般都搭建有自己的邮件服务器,我们可以想办法使得目标站点给自己发一封邮件,我们就可以通过该邮件查询到其发送者的IP地址。通常而言,这封邮件是无法使用CDN掩盖自己的IP地址的,因此我们可以获取到真实的IP地址。很多网站在注册的时候,有时会采用邮件注册的方式,我们可以利用这一点使得目标站点给自己的邮箱发送邮件。 3、国外地址请求查询 同样为了节约,很多站点只对国内站点的访问进行了CDN设置,但是没有对国外的站点进行CDN设置。或者说只对主流国家(美国、英国等我们叫的上名字的国家)进行CDN设置,没有对一些小国家(例如非洲、拉丁美洲等小国家)进行CDN设置,我们可以利用这一点,想办法使得国外的站点访问目标网站,从而得到真实的IP地址。 4、遗留文件查询 有的网站一些站点会暴露自己的真实IP地址。例如,phpinfo.php文件,就会暴露自己而真实IP地址。 5、黑暗引擎搜索 shodan、zoomeye等黑暗引擎,可以搜索全网,深层次爬取目标站点的的内容,并且通常会剔除缓存信息,利用这一点,我们也可以绕过CDN,获取目标站点的真实IP地址。 6、DNS历史记录 有的网站在建设初期,由于资金等原因,没有设置CDN。当网站建设后,设置了CDN。这种情况下,我们就可以查询之前的DNS解析记录,从而获取网站的真实IP地址。 原创不易,转载请说明出处:掘金——永远是少年