几种改进的PID算法

1,069 阅读6分钟

位置式PID算法

本文已参与「新人创作礼」活动,一起开启掘金创作之路 在这里插入图片描述   位置式PIDPID算法是一种比较直观的的PIDPID算法,如系统框图中所示,inin表示设定值,errorerror表示差值,uu表示控制器输出值,outout表示被控量。算法表达式如下: 在这里插入图片描述

增量式PID算法

  增量式PIDPID算法不比位置式更直观,当执行机构需要控制量的增量时,适合采用增量式PIDPID算法,比如步进电机控制。算法表达式如下: 在这里插入图片描述 在这里插入图片描述

积分分离PID算法

  PIDPID算法中,积分可消除稳态误差,提高控制精度,在系统启动或设定值大幅改变时,被控量与设定值之间会产生较大的偏差,造成过大的积分积累,甚至使控制量超过执行机构允许最大动作范围对应的极限控制量,引起系统过大的超调量,从而振荡,为避免这些不利的情况出现,可在被控量与设定值之间有较大偏差时,取消积分作用,避免超调量增大;当被控量接近设定值时,引入积分控制,消除稳态误差,提高控制进度。   设被控量与设定值之间的偏差阈值为X>0X>0,该值人为设定,即 在这里插入图片描述 算法表达式如下: 在这里插入图片描述

梯形积分PID算法

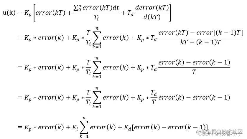
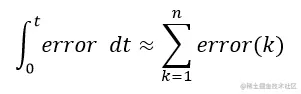
  在PIDPID算法中,积分项的作用就是为了消除稳态误差,故而提高积分项的运算精度能更好的提高控制精度。在单片机中,对于积分运算通常使用累加的形式,也就是矩形积分,即 在这里插入图片描述 上述式子在程序中经常这样使用,但在PIDPID算法中,并不是这样,这不得不从原始的PIDPID算法说起,其表达式如下所示。

在这里插入图片描述

将其离散化,令t=kTt=kT,得 在这里插入图片描述 也就是说,从严格意义来讲,积分项应该为 在这里插入图片描述

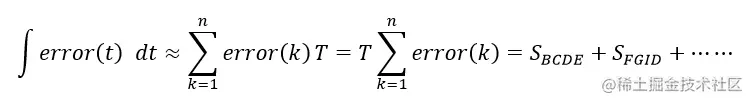
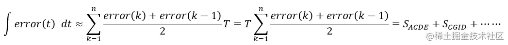
为方便编程计算把系数项全部整合在一块,称之为积分系数,所以就把TT省略了。积分从图像上来看,就是求面积。因此在单片机中计算积分的思路就是把图形划分为宽度为TTnn个等份,然后在每个等份中自图形曲线以下画出一个最大矩形,然后将所有矩形面积相加便可近似为求积分的过程。TT越小矩形面积和越接近于积分运算,但在实际工程中,TT不可能太小,因为TT实际上就是采样时间,也是PIDPID的计算周期,TT过小会加大单片机的负担。这样的计算方式很直观,但计算的精度较低,误差大。假设偏差errorerror在某段时间服从函数error=at+berror=-a*t+b,如下所示 在这里插入图片描述 那么积分运算就是指 在这里插入图片描述 很明显,这使得每个矩形上面的三角形都未参与计算,使得积分运算精度大大降低,为避免出现过大的误差或者进一步提高运算精度,引入梯形积分的概念,就是把矩形和三角形加在一起,也就是梯形的面积,即 在这里插入图片描述 故梯形积分的PIDPID的表达式为 在这里插入图片描述   当偏差errorerror不服从线性关系,或者是其他一些曲线,则不会向示例中那般毫无误差,仍会有些许误差无法计算到,但同矩形积分相比,运算精度已经得到了很大的改善。

变速积分PID算法

  变速积分PIDPID算法与积分分离PIDPID算法本质上相同,都是为了减小系统超调,提高系统响应速度,但是积分分离PIDPID算法较为粗暴,变速积分PIDPID算法则是根据偏差errorerror的大小来改变积分的速度,偏差越大,积分越慢,反之越快。即积分项的表达式为

在这里插入图片描述

ββ是关于偏差errorerror的函数,即 在这里插入图片描述

其中A,BA,B表示人为设定的阈值,则变速积分PID算法的表达式为 在这里插入图片描述

带滤波器的PID算法

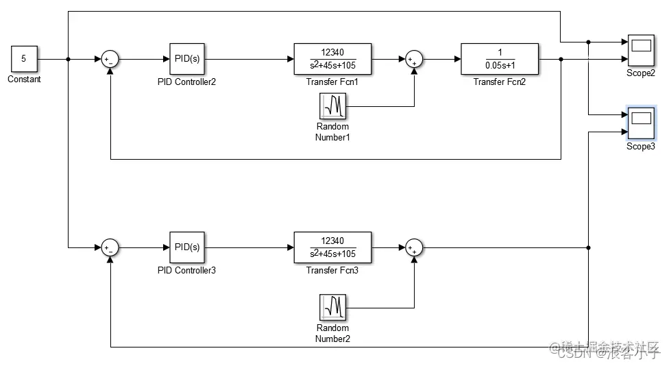
  当系统中存在高频干扰时,会使得系统变得不稳定,另外,在PIDPID算法中,微分项会将高频干扰放大,所以需要将高频干扰过滤掉,从而使系统稳定,故引入低通滤波器。假设该滤波器传递函数为 在这里插入图片描述 该滤波器的转折频率为20HzHz,对如下系统 在这里插入图片描述 当干扰信号频率低于20HzHz,设为10HzHz,输出曲线如下 在这里插入图片描述 左图为带滤波器的输出响应,右图不带滤波器,可以看出此时两个系统输出很不稳定,波动都很大,再看看干扰信号频率大于20HzHz时的情况,设为100HzHz,输出曲线如下 在这里插入图片描述 很明显,此时带有滤波器的系统输出相比于之前10HzHz干扰信号时的输出波动幅度要小很多,此时不带滤波器的系统输出已经受到剧烈干扰,带有滤波器的系统输出波动幅度更小。在加大干扰信号的频率,设为10kHzkHz,输出曲线如下 在这里插入图片描述 此时带有滤波器的系统输出几乎已经没有了波动。   

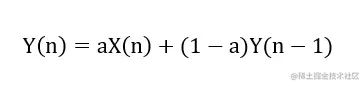
在编程中使用带滤波器的PIDPID算法时,需要对滤波器的传递函数进行ZZ变换并离散化,其公式为 在这里插入图片描述

——aa表示滤波系数,取值0,1(0,1)之间

——Y(n)Y(n)表示滤波后的输出值

——X(n)X(n)表示滤波前的输入值

——Y(n1)Y(n-1)表示上一次滤波的输出值 一阶低通滤波器的系统框图如下 在这里插入图片描述

由此可得 在这里插入图片描述 接着开始ZZ变换并离散化,令 在这里插入图片描述

故而 在这里插入图片描述

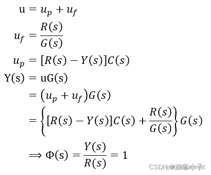
基于前馈补偿的PID算法

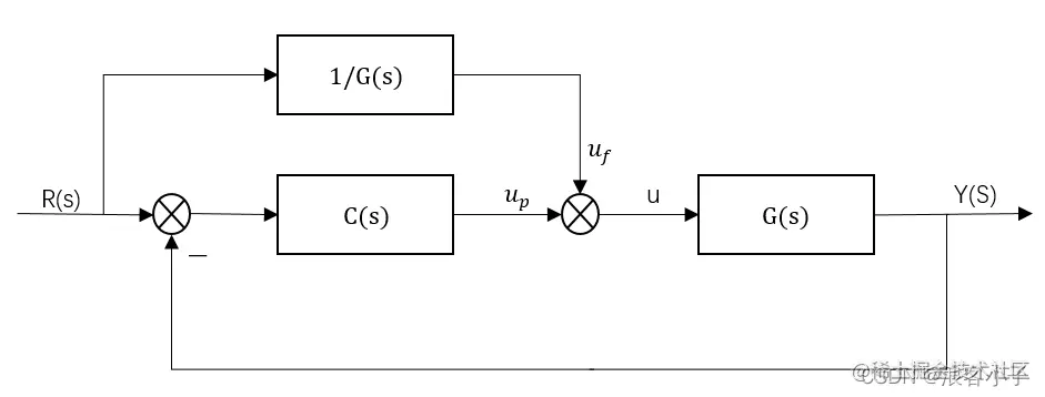
  对于设定值变化的系统中,为提高系统的跟踪性能,需要加入前馈补偿。既然是提高系统的跟踪性能,那自然就是系统的输出越接近于甚至等于系统的输入,也就是闭环系统的传递函数为11。如下图所示 在这里插入图片描述 在这里插入图片描述   

假设有一个被控对象为 在这里插入图片描述 不加前馈补偿,如下 在这里插入图片描述 系统输入为正弦信号,输出图像如下 在这里插入图片描述   黄线表示系统输入的信号曲线,蓝线表示系统输出曲线,可以看出,输出曲线不仅幅值较系统输入小,且滞后于系统输入,再来看看加入前馈补偿的效果,系统框图如下 在这里插入图片描述 输出曲线如下 在这里插入图片描述 此时只能看到一条曲线,因为输入曲线与输出曲线重合了,此时的跟踪效果较之前有了很大的提升。在编程中,使用前馈补偿的PIDPID算法,在计算uf时,可对1/G(s)1/G(s)进行ZZ变换并离散化。