详细了解一下Nginx

1,356 阅读22分钟

前言

LAMP和LNMP架构两者之间只有这Apache和Nnginx的区别,那为什么现在大部分都是使用LNMP的架构呢?

Nginx 是开源、高性能、高可靠的 Web 和反向代理服务器,而且支持热部署,几乎可以做到 7 * 24 小时不间断运行,即使运行几个月也不需要重新启动,还能在不间断服务的情况下对软件版本进行热更新。

而且对HTTP并发连接的处理能力高,单台物理服务器可支持30000~50000个并发请求。

而Apache是以进程为基础的结构,进程要比线程消耗更多的系统开支,不太适用于多处理器环境,因此,在一个apache Web站点扩容时,通常是增加服务器或扩充群集节点而不是增加处理器。

Nginx是什么?

  • Nginx代码完全用C语言从头写成,已经移植到许多体系结构和操作系统,包括:Linux、FreeBSD、Solaris、Mac OS X、AIX以及Microsoft Windows。

  • Nginx有自己的函数库,并且除了zlib、PCRE和OpenSSL之外,标准模块只使用系统C库函数。而且,如果不需要或者考虑到潜在的授权冲突,可以不使用这些第三方库

  • Nginx (engine x) 是一个高性能的HTTP和反向代理web服务器,同时也提供了IMAP/POP3/SMTP服务。Nginx是由伊戈尔·赛索耶夫为俄罗斯访问量第二的Rambler.ru站点(俄文:Рамблер)开发的,第一个公开版本0.1.0发布于2004年10月4日。

  • 其将源代码以类BSD许可证的形式发布,因它的稳定性、丰富的功能集、示例配置文件和低系统资源的消耗而闻名。2011年6月1日,nginx 1.0.4发布。

  • Nginx是一款轻量级的Web 服务器/反向代理服务器及电子邮件(IMAP/POP3)代理服务器,在BSD-like 协议下发行。其特点是占有内存少,并发能力强,事实上nginx的并发能力在同类型的网页服务器中表现较好,中国大陆使用nginx网站用户有:百度、京东、新浪、网易、腾讯、淘宝等。

  • 总而言之 Nginx 就是NB,成熟,稳定 ,应用范围广 主要还是开源。

Nginx架构原理图

20210408163348799.jpg

Nginx的正反向代理

反向代理概念

  • 反向代理(Reverse Proxy)方式是指以代理服务器来接受internet上的连接请求,然后将请求转发给内部网络上的服务器,并将从服务器上得到的结果返回给internet上请求连接的客户端,此时代理服务器对外就表现为一个服务器。

  • 举个例子,比如我想访问www.test.com/readme,但www… www.test.com 这个域名对应的服务器就设置了反向代理功能。

  • 结论就是,反向代理服务器对于客户端而言它就像是原始服务器,并且客户端不需要进行任何特别的设置。客户端向反向代理的命名空间(name-space)中的内容发送普通请求,接着反向代理服务器将判断向何处(原始服务器)转交请求,并将获得的内容返回给客户端,就像这些内容原本就是它自己的一样。

20210408163606509.jpg

正向代理概念

  • 正向代理(Forward Proxy)通常都被简称为代理,就是在用户无法正常访问外部资源,比方说受到GFW的影响无法访问twitter的时候,我们可以通过代理的方式,让用户绕过防火墙,从而连接到目标网络或者服务。

  • 正向代理的工作原理就像一个跳板,比如:我访问不了google.com,但是我能访问一个代理服务器A,A能访问google.com,于是我先连上代理服务器A,告诉他我需要google.com的内容,A就去取回来,然后返回给我。从网站的角度,只在代理服务器来取内容的时候有一次记录,有时候并不知道是用户的请求,也隐藏了用户的资料,这取决于代理告不告诉网站。

  • 结论就是,正向代理是一个位于客户端和原始服务器(origin server)之间的服务器。为了从原始服务器取得内容,客户端向代理发送一个请求并指定目标(原始服务器),然后代理向原始服务器转交请求并将获得的内容返回给客户端。

20210408163606501.jpg

Nginx工作流程

用户通过域名发出访问Web服务器的请求,该域名被DNS服务器解析为反向代理服务器的IP地址;

反向代理服务器接受用户的请求;

反向代理服务器在本地缓存中查找请求的内容,找到后直接把内容发送给用户;

如果本地缓存里没有用户所请求的信息内容,反向代理服务器会代替用户向源服务器请求同样的信息内容,并把信息内容发给用户,如果信息内容是缓存的还会把它保存到缓存中。

Nginx优点

保护了真实的web服务器,保证了web服务器的资源安全

  • 通常的代理服务器,只用于代理内部网络对Internet外部网络的连接请求,客户机必须指定代理服务器,并将本来要直接发送到Web服务器上的http请求发送到代理服务器中。不支持外部网络对内部网络的连接请求,因为内部网络对外部网络是不可见的。当一个代理服务器能够代理外部网络上的主机,访问内部网络时,这种代理服务的方式称为反向代理服务。此时代理服务器对外就表现为一个Web服务器,外部网络就可以简单把它当作一个标准的Web服务器而不需要特定的配置。不同之处在于,这个服务器没有保存任何网页的真实数据,所有的静态网页或者CGI程序,都保存在内部的Web服务器上。因此对反向代理服务器的攻击并不会使得网页信息遭到破坏,这样就增强了Web服务器的安全性。

节约了有限的IP地址资源

  • 企业内所有的网站共享一个在internet中注册的IP地址,这些服务器分配私有地址,采用虚拟主机的方式对外提供服务。

减少WEB服务器压力,提高响应速度

  • 反向代理就是通常所说的web服务器加速,它是一种通过在繁忙的web服务器和外部网络之间增加一个高速的web缓冲服务器来降低实际的web服务器的负载的一种技术。反向代理是针对web服务器提高加速功能,作为代理缓存,它并不是针对浏览器用户,而针对一台或多台特定的web服务器,它可以代理外部网络对内部网络的访问请求。

  • 反向代理服务器会强制将外部网络对要代理的服务器的访问经过它,这样反向代理服务器负责接收客户端的请求,然后到源服务器上获取内容,把内容返回给用户,并把内容保存到本地,以便日后再收到同样的信息请求时,它会把本地缓存里的内容直接发给用户,以减少后端web服务器的压力,提高响应速度。因此Nginx还具有缓存功能。

其他优点

  1. 请求的统一控制,包括设置权限、过滤规则等;

  2. 区分动态和静态可缓存内容;

  3. 实现负载均衡,内部可以采用多台服务器来组成服务器集群,外部还是可以采用一个地址访问;

  4. 解决Ajax跨域问题;

  5. 作为真实服务器的缓冲,解决瞬间负载量大的问题;

  6. 支持其他插件广泛应用 自带丰富的库文件lib 底层C语言编写,所以异常强大。

Nginx模块划分

Nginx有五大优点:模块化、事件驱动、异步、非阻塞、多进程单线程。由内核和模块组成的,其中内核完成的工作比较简单,仅仅通过查找配置文件将客户端请求映射到一个location block,然后又将这个location block中所配置的每个指令将会启动不同的模块去完成相应的工作。

Nginx的模块从结构上分为核心模块、基础模块和第三方模块:

  • 核心模块:HTTP模块、EVENT模块和MAIL模块

  • 基础模块:HTTP Access模块、HTTP FastCGI模块、HTTP Proxy模块和HTTP Rewrite模块,

  • 第三方模块:HTTP Upstream Request Hash模块、Notice模块和HTTP Access Key模块。 Nginx的模块从功能上分为如下四类:

  • Core(核心模块):构建nginx基础服务、管理其他模块。

  • Handlers(处理器模块):此类模块直接处理请求,并进行输出内容和修改headers信息等操作。

  • Filters (过滤器模块):此类模块主要对其他处理器模块输出的内容进行修改操作,最后由Nginx输出。

  • Proxies (代理类模块):此类模块是Nginx的HTTP Upstream之类的模块,这些模块主要与后端一些服务比如FastCGI等进行交互,实现服务代理和负载均衡等功能。

    Nginx的核心模块主要负责建立nginx服务模型、管理网络层和应用层协议、以及启动针对特定应用的一系列候选模块。其他模块负责分配给web服务器的实际工作:

  • 当Nginx发送文件或者转发请求到其他服务器,由Handlers(处理模块)或Proxies(代理类模块)提供服务;

  • 当需要Nginx把输出压缩或者在服务端加一些东西,由Filters(过滤模块)提供服务。

模块处理

  1. 当服务器启动,每个handlers(处理模块)都有机会映射到配置文件中定义的特定位置(location);如果有多个handlers(处理模块)映射到特定位置时,只有一个会“赢”(说明配置文件有冲突项,应该避免发生)。

处理模块以三种形式返回:

  • OK
  • ERROR
  • 或者放弃处理这个请求而让默认处理模块来处理(主要是用来处理一些静态文件,事实上如果是位置正确而真实的静态文件,默认的处理模块会抢先处理)
  1. 如果handlers(处理模块)把请求反向代理到后端的服务器,就变成另外一类的模块:load-balancers(负载均衡模块)。负载均衡模块的配置中有一组后端服务器,当一个HTTP请求过来时,它决定哪台服务器应当获得这个请求。

Nginx的负载均衡模块采用两种方法:

  • 轮转法,它处理请求就像纸牌游戏一样从头到尾分发;
  • IP哈希法,在众多请求的情况下,它确保来自同一个IP的请求会分发到相同的后端服务器。
  1. 如果handlers(处理模块)没有产生错误,filters(过滤模块)将被调用。多个filters(过滤模块)能映射到每个位置,所以(比如)每个请求都可以被压缩成块。它们的执行顺序在编译时决定。
  • filters(过滤模块)是经典的“接力链表(CHAIN OF RESPONSIBILITY)”模型:一个filters(过滤模块)被调用,完成其工作,然后调用下一个filters(过滤模块),直到最后一个filters(过滤模块)。

过滤模块链的特别之处在于:

  • 每个filters(过滤模块)不会等上一个filters(过滤模块)全部完成;
  • 它能把前一个过滤模块的输出作为其处理内容;有点像Unix中的流水线;

过滤模块能以buffer(缓冲区)为单位进行操作,这些buffer一般都是一页(4K)大小,当然你也可以在nginx.conf文件中进行配置。这意味着,比如,模块可以压缩来自后端服务器的响应,然后像流一样的到达客户端,直到整个响应发送完成。

总之,过滤模块链以流水线的方式高效率地向客户端发送响应信息。

所以总结下上面的内容,一个典型的HTTP处理周期是这样的:

  • 客户端发送HTTP请求 –>
  • Nginx基于配置文件中的位置选择一个合适的处理模块 ->
  • (如果有)负载均衡模块选择一台后端服务器 –>
  • 处理模块进行处理并把输出缓冲放到第一个过滤模块上 –>
  • 第一个过滤模块处理后输出给第二个过滤模块 –>
  • 然后第二个过滤模块又到第三个 –>
  • 依此类推 –> 最后把响应发给客户端。

下图展示了Nginx模块处理流程

20210408165240911.jpg

Nginx本身做的工作实际很少,当它接到一个HTTP请求时,它仅仅是通过查找配置文件将此次请求映射到一个location block,而此location中所配置的各个指令则会启动不同的模块去完成工作,因此模块可以看做Nginx真正的劳动工作者。通常一个location中的指令会涉及一个handler模块和多个filter模块(当然,多个location可以复用同一个模块)。handler模块负责处理请求,完成响应内容的生成,而filter模块对响应内容进行处理。

Nginx请求处理

Nginx在启动时会以daemon形式在后台运行,采用多进程+异步非阻塞IO事件模型来处理各种连接请求。多进程模型包括一个master进程,多个worker进程,一般worker进程个数是根据服务器CPU核数来决定的。master进程负责管理Nginx本身和其他worker进程。如下图:

20210408165407687.jpg

Master进程负责管理Nginx本身和其他worker进程

20210408165413300.jpg 从上图中可以很明显地看到,4个worker进程的父进程都是master进程,表明worker进程都是从父进程fork出来的,并且父进程的ppid为1,表示其为daemon进程。

需要说明的是,在nginx多进程中,每个worker都是平等的,因此每个进程处理外部请求的机会权重都是一致的。

Master进程的作用是?

读取并验证配置文件nginx.conf;管理worker进程;

Worker进程的作用是?

每一个Worker进程都维护一个线程(避免线程切换),处理连接和请求;注意Worker进程的个数由配置文件决定,一般和CPU个数相关(有利于进程切换),配置几个就有几个Worker进程。

Nginx如何做到热部署?

所谓热部署,就是配置文件nginx.conf修改后,不需要stop Nginx,不需要中断请求,就能让配置文件生效!(nginx -s reload 重新加载/nginx -t检查配置/nginx -s stop)

通过上文我们已经知道worker进程负责处理具体的请求,那么如果想达到热部署的效果,可以想象:

方案一:

修改配置文件nginx.conf后,主进程master负责推送给woker进程更新配置信息,woker进程收到信息后,更新进程内部的线程信息。

方案二:

修改配置文件nginx.conf后,重新生成新的worker进程,当然会以新的配置进行处理请求,而且新的请求必须都交给新的worker进程,至于老的worker进程,等把那些以前的请求处理完毕后,kill掉即可。

Nginx采用的就是方案二来达到热部署的!

Nginx如何做到高并发下的高效处理?

上文已经提及Nginx的worker进程个数与CPU绑定、worker进程内部包含一个线程高效回环处理请求,这的确有助于效率,但这是不够的。

作为专业的程序员,我们可以开一下脑洞:BIO/NIO/AIO、异步/同步、阻塞/非阻塞…

要同时处理那么多的请求,要知道,有的请求需要发生IO,可能需要很长时间,如果等着它,就会拖慢worker的处理速度。

Nginx采用了Linux的epoll模型,epoll模型基于事件驱动机制,它可以监控多个事件是否准备完毕,如果OK,那么放入epoll队列中,这个过程是异步的。worker只需要从epoll队列循环处理即可。

Nginx挂了怎么办?

Nginx既然作为入口网关,很重要,如果出现单点问题,显然是不可接受的。

答案是:Keepalived+Nginx实现高可用。

Keepalived是一个高可用解决方案,主要是用来防止服务器单点发生故障,可以通过和Nginx配合来实现Web服务的高可用。(其实,Keepalived不仅仅可以和Nginx配合,还可以和很多其他服务配合)

Keepalived+Nginx实现高可用的思路:

第一:请求不要直接打到Nginx上,应该先通过Keepalived(这就是所谓虚拟IP,VIP)

第二:Keepalived应该能监控Nginx的生命状态(提供一个用户自定义的脚本,定期检查Nginx进程状态,进行权重变化,,从而实现Nginx故障切换)

可以通过其他工具做动态负载均衡。

20210408165609120.jpg

Nginx真正处理请求业务的是Worker之下的线程。worker进程中有一个ngx_worker_process_cycle()函数,执行无限循环,不断处理收到的来自客户端的请求,并进行处理,直到整个Nginx服务被停止。

worker 进程中,ngx_worker_process_cycle()函数就是这个无限循环的处理函数。在这个函数中,一个请求的简单处理流程如下:

  • 操作系统提供的机制(例如 epoll, kqueue 等)产生相关的事件。
  • 接收和处理这些事件,如是接收到数据,则产生更高层的 request 对象。
  • 处理 request 的 header 和 body。
  • 产生响应,并发送回客户端。
  • 完成 request 的处理。
  • 重新初始化定时器及其他事件。

多进程处理模型

下面来介绍一个请求进来,多进程模型的处理方式:

首先,master进程一开始就会根据我们的配置,来建立需要listen的网络socket fd,然后fork出多个worker进程。

其次,根据进程的特性,新建立的worker进程,也会和master进程一样,具有相同的设置。因此,其也会去监听相同ip端口的套接字socket fd。

然后,这个时候有多个worker进程都在监听同样设置的socket fd,意味着当有一个请求进来的时候,所有的worker都会感知到。这样就会产生所谓的“惊群现象”。为了保证只会有一个进程成功注册到listenfd的读事件,nginx中实现了一个“accept_mutex”类似互斥锁,只有获取到这个锁的进程,才可以去注册读事件。其他进程全部accept 失败。

最后,监听成功的worker进程,读取请求,解析处理,响应数据返回给客户端,断开连接,结束。因此,一个request请求,只需要worker进程就可以完成。

进程模型的处理方式带来的一些好处就是:进程之间是独立的,也就是一个worker进程出现异常退出,其他worker进程是不会受到影响的;此外,独立进程也会避免一些不需要的锁操作,这样子会提高处理效率,并且开发调试也更容易。

如前文所述,多进程模型+异步非阻塞模型才是胜出的方案。单纯的多进程模型会导致连接并发数量的降低,而采用异步非阻塞IO模型很好的解决了这个问题;并且还因此避免的多线程的上下文切换导致的性能损失。

worker进程会竞争监听客户端的连接请求:这种方式可能会带来一个问题,就是可能所有的请求都被一个worker进程给竞争获取了,导致其他进程都比较空闲,而某一个进程会处于忙碌的状态,这种状态可能还会导致无法及时响应连接而丢弃discard掉本有能力处理的请求。这种不公平的现象,是需要避免的,尤其是在高可靠web服务器环境下。

针对这种现象,Nginx采用了一个是否打开accept_mutex选项的值,ngx_accept_disabled标识控制一个worker进程是否需要去竞争获取accept_mutex选项,进而获取accept事件。

ngx_accept_disabled值:nginx单进程的所有连接总数的八分之一,减去剩下的空闲连接数量,得到的这个ngx_accept_disabled。

当ngx_accept_disabled大于0时,不会去尝试获取accept_mutex锁,并且将ngx_accept_disabled减1,于是,每次执行到此处时,都会去减1,直到小于0。不去获取accept_mutex锁,就是等于让出获取连接的机会,很显然可以看出,当空闲连接越少时,ngx_accept_disable越大,于是让出的机会就越多,这样其它进程获取锁的机会也就越大。不去accept,自己的连接就控制下来了,其它进程的连接池就会得到利用,这样,nginx就控制了多进程间连接的平衡了。

http请求

从 Nginx 的内部来看,一个 HTTP Request 的处理过程涉及到以下几个阶段:

  • 初始化 HTTP Request(读取来自客户端的数据,生成 HTTP Request 对象,该对象含有该请求所有的信息)。
  • 处理请求头。
  • 处理请求体。
  • 如果有的话,调用与此请求(URL 或者 Location)关联的 handler。
  • 依次调用各 phase handler 进行处理。

在建立连接过程中,对于nginx监听到的每个客户端连接,都会将它的读事件的handler设置为ngx_http_init_request函数,这个函数就是请求处理的入口。在处理请求时,主要就是要解析http请求,比如:uri,请求行等,然后再根据请求生成响应。下面看一下nginx处理的具体过程:

2021040816581658.jpg

在这里,我们需要了解一下 phase handler 这个概念。phase 字面的意思,就是阶段。所以 phase handlers 也就好理解了,就是包含若干个处理阶段的一些 handler。

在每一个阶段,包含有若干个 handler,再处理到某个阶段的时候,依次调用该阶段的 handler 对 HTTP Request 进行处理。

通常情况下,一个 phase handler 对这个 request 进行处理,并产生一些输出。通常 phase handler 是与定义在配置文件中的某个 location 相关联的。

一个 phase handler 通常执行以下几项任务:

  • 获取 location 配置。

  • 产生适当的响应。

  • 发送 response header。

  • 发送 response body。 当 Nginx 读取到一个 HTTP Request 的 header 的时候,Nginx 首先查找与这个请求关联的虚拟主机的配置。如果找到了这个虚拟主机的配置,那么通常情况下,这个 HTTP Request 将会经过以下几个阶段的处理(phase handlers):

  • NGX_HTTP_POST_READ_PHASE: 读取请求内容阶段

  • NGX_HTTP_SERVER_REWRITE_PHASE: Server 请求地址重写阶段

  • NGX_HTTP_FIND_CONFIG_PHASE: 配置查找阶段

  • NGX_HTTP_REWRITE_PHASE: Location请求地址重写阶段

  • NGX_HTTP_POST_REWRITE_PHASE: 请求地址重写提交阶段

  • NGX_HTTP_PREACCESS_PHASE: 访问权限检查准备阶段

  • NGX_HTTP_ACCESS_PHASE: 访问权限检查阶段

  • NGX_HTTP_POST_ACCESS_PHASE: 访问权限检查提交阶段

  • NGX_HTTP_TRY_FILES_PHASE: 配置项 try_files 处理阶段

  • NGX_HTTP_CONTENT_PHASE: 内容产生阶段

  • NGX_HTTP_LOG_PHASE: 日志模块处理阶段

在内容产生阶段,为了给一个 request 产生正确的响应,Nginx 必须把这个 request 交给一个合适的 content handler 去处理。如果这个 request 对应的 location 在配置文件中被明确指定了一个 content handler,那么Nginx 就可以通过对 location 的匹配,直接找到这个对应的 handler,并把这个 request 交给这个 content handler 去处理。这样的配置指令包括像,perl,flv,proxy_pass,mp4等。

如果一个 request 对应的 location 并没有直接有配置的 content handler,那么 Nginx 依次尝试:

  • 如果一个 location 里面有配置 random_index on,那么随机选择一个文件,发送给客户端。
  • 如果一个 location 里面有配置 index 指令,那么发送 index 指令指明的文件,给客户端。
  • 如果一个 location 里面有配置 autoindex on,那么就发送请求地址对应的服务端路径下的文件列表给客户端。
  • 如果这个 request 对应的 location 上有设置 gzip_static on,那么就查找是否有对应的.gz文件存在,有的话,就发送这个给客户端(客户端支持 gzip 的情况下)。
  • 请求的 URI 如果对应一个静态文件,static module 就发送静态文件的内容到客户端。

内容产生阶段完成以后,生成的输出会被传递到 filter 模块去进行处理。filter 模块也是与 location 相关的。所有的 filter 模块都被组织成一条链。输出会依次穿越所有的 filter,直到有一个 filter 模块的返回值表明已经处理完成。

这里列举几个常见的 filter 模块,例如:

  • server-side includes。

  • XSLT filtering。

  • 图像缩放之类的。

  • gzip 压缩。

在所有的 filter 中,有几个 filter 模块需要关注一下。按照调用的顺序依次说明如下:

  • copy: 将一些需要复制的 buf(文件或者内存)重新复制一份然后交给剩余的 body filter 处理。

  • postpone: 这个 filter 是负责 subrequest 的,也就是子请求的。

  • write: 写输出到客户端,实际上是写到连接对应的 socket 上。

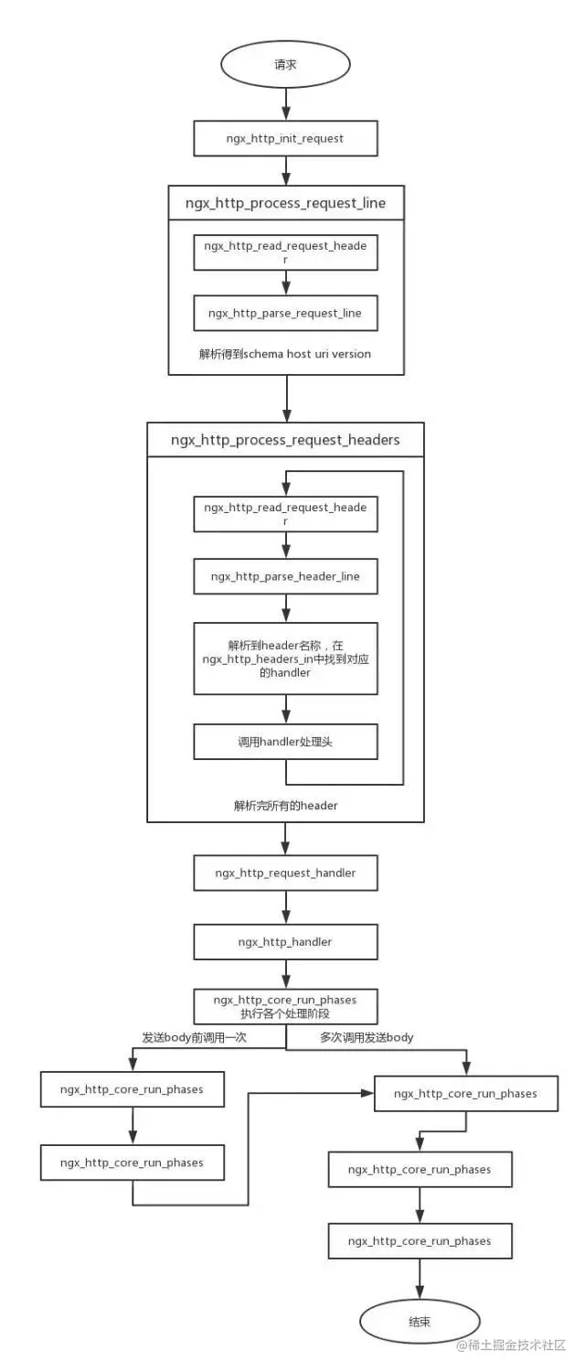
请求完整处理过程

根据以上请求步骤所述,请求完整的处理过程如下图所示:

20210408170015380.jpg