ngs

424 阅读6分钟

NGS检测

什么是NGS检测

NGS(下一代测序技术),又称高通量测序技术。目前经常用于遗传病的筛查、产前的检测或诊断、肿瘤的临床诊断、药物基因组学检测、癌症的化疗与治疗、单基因疾病筛查或诊断等。
早筛:用作预防检测,遗传病检测。
伴随:已经得病,比如得了癌症,需要对疾病筛查诊断,耐药史。

与普检的区别
  • 样本流转,跨专业组合作,需要完成上个流程的流传才可以进入下个流程检测。
  • 检测周期较长,与传统检测时效性有较大差异。
  • 同一个检测项目支持多种样本检测,不同样本需要走不同的专业组&不同的检测子项
  • 由于检测周期较长,检测过程中,随时会出现样本不合格的问题。
  • 为了确保检测准确性,检测过程中会加入对照实验。
  • 检测过程中,可能由于某些原因,随时可以终止检测。
  • 样本接收模式,相比普检大批量送检单位送来的样本(医院模式),还有销售和医院/科室医生合作的单子(医院走廊模式)
  • 同样,虽然过程繁琐,但是对应的价格也是普检的几百倍,几千倍。
流程图
graph TD
申请单录入 --> 前端核收
前端核收 --> 申请单审核
申请单审核 --> 样本交接A

样本交接A --> 专业组A
样本交接B --> 专业组B
前端核收 --> 暂存
前端核收 --> 不合格管理
专业组A  --> 样本接收A 
专业组B --> 样本接收B
样本接收A --> 不合格管理
样本接收A --> 开始检测A
样本接收B --> 开始检测B
开始检测A --> 提取建库

提取建库 --> 样本交接B
开始检测B --> 杂交捕获

提取建库 --> 不合格管理
杂交捕获 --> 上机测序
杂交捕获 --> 不合格管理
上机测序 --> 生物分析
上机测序 --> 不合格管理
生物分析 --> 生成报告单
生物分析 --> 不合格管理

lims-NGS流程图.jpg

lims-NGS细节展示.jpg

流程步骤
  1. 小程序录入

用于企业自己内部的销售角色人员来录单,录入信息较少,只录入少量的必要信息,然后将申请单&样本通过快递邮寄给检验所。

- 销售前期将单子通过小程序录入系统
- 小程序可实时查看申请单状态
- 可以根据检验所要求对样本进行补寄
- 可以查看报告单

image.png 2. 前端录入

用于后台前处理角色人员进行样本录入,录入信息较多,可根据不同项目类型,填写自定义字段。

- 可以录入/导入申请单,不同的项目类型展示字段不一,如:早筛产品需要吸烟史&饮酒史,伴随产品不需要。
- 原单信息的上传。
- 可以对样本进行暂存。
- 样本不合格需转交不合格管理。

3. 申请单审核

前处理角色对已录入的申请单进行审核,审核同时执行分拣流水号规则。

- 可以对已录入的申请信息/样本信息编辑修改。
- 对录入的申请单进行审核,审核执行分拣流水号规则,审核完成后,数据流转到待交接列表。

4. 样本交接

前处理角色实验室角色进行样本交接管理的地方。

- 将待交接的样本数据,按照检测项目下对应样本类型的流转流程交接给不同专业组人员
- 打印交接清单

5. 样本检验

实验室人员对样本的结果保存,审核。

- 接收样本后,实验室人员对样本进行结果填写/保存/审核。
- 检测结果数据可以按指定模版导入/导出。
- 检验环节对样本可暂存/不合格/结束检测。
- 检验环节可以增加对照实验/变更检测流程。
- 可以看到当前样本当前所处检测环节,样本流转状态上下游专业组信息。
- 样本状态可回退。
- 该专业组检测完成后,如需要下个专业组检测,需要专业组与专业组之间进行样本交接,然后下个专业组继续样本检测。

6. 报告单

当样本流程完结,上传报告单。

- 上传报告单。
- lims报告单查看/下载。
- 外网/小程序报告单查看。
- 报告单邮件推送。
功能模块
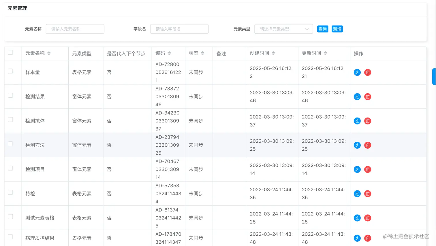
  1. 基础配置
    • 元素一览
功能点功能描述
元素新增同现有功能
元素编辑同现有功能
元素删除同现有功能
元素查询同现有功能

image.png

  • 表格一览
功能点功能描述
表格新增同现有功能+选择专业组
表格编辑同现有功能+选择专业组
表格删除同现有功能
表格查询同现有功能

image.png

  • 检测流程管理
功能点描述
新增检测流程名称,通过样本类型关联创建好的表格,流程状态(启用禁用)
编辑同新增
删除删除对应数据,二次确认
查询搜索条件(流程名称 & 流程编码)列表显示字段(流程编码 & 流程名称 & 状态)

检测流程管理.jpg

  • 项目类型管理 | 功能点 | 描述 | | --- | --- | | 新增 | 项目类型名称,状态(启用禁用) | | 编辑 | 同新增| | 删除 | 删除对应数据,二次确认| | 查询 | 搜索条件(项目类型名称&项目类型名称编码)列表显示字段(项目类型编码&项目类型名称&状态)| | 关联申请单 | 勾选对应申请单自定义字段|

项目类型管理1.png

  • 检测项目管理 | 功能点 | 描述 | | --- | --- | | 新增 | 项目名称,关联项目类型,关联检测流程,状态(启用禁用) | | 编辑 | 同新增| | 删除 | 删除对应数据,二次确认| | 查询 | 搜索条件(项目名称&项目编码)列表显示字段(检测项目编码&检测项目名称&项目类型&检测流程&状态)|

检测项目管理1.png

  • 专业组管理 | 功能点 | 描述 | | --- | --- | | 新增 | 同现有功能 | | 编辑 | 同现有功能| | 删除 | 同现有功能| | 查询 | 同现有功能| | 关联人员 | 同现有功能 | | 权限分配 | 保存&审核&暂存&不合格&增加对照&变更检测流程&回退 |

专业组管理.jpg

2.前处理

  • 样本核收 | 功能点 | 描述 | | --- | --- | | 录入 | 前处理人员录入申请单信息 | | 核收 | 前处理人员对已录入的申请单进行核收| | 查询 | 同现有功能| |导入 |批量导入信息,下载模版| |导出 |导出选中数据或者导出所有数据|

1.1样本核收.jpg

3.样本核收-新增2.jpg 4.样本核收-新增3.jpg

  • 申请单审核 | 功能点 | 描述 | | --- | --- | | 审核 | 前处理人员对已核收申请单审核,批量审核打印条码 | | 查看,修改 | 前处理人员对已录入的信息查看并可编辑状态 | | 备注 | 审核之后要进行流水号分拣| 6.1申请单审核.jpg

6.3申请单审核-查看申请单.jpg

  • 申请单反审核 | 功能点 | 描述 | | --- | --- | | 反审核 | 前处理人员对已审核申请单进行反审核,批量反审核 |

6.1申请单审核.jpg

6.3申请单审核-查看申请单.jpg

  • 样本交接 | 功能点 | 描述 | | --- | --- | | 样本交接 | 前处理人员对已审核样本进行样本交接 |

8.1样本交接.jpg

3.实验室

  • 样本接收 | 功能点 | 描述 | | --- | --- | | 样本接收 | 实验室人员对已交接的样本进行样本接收,同现有功能 |

  • 样本检验 | 功能点 | 描述 | | --- | --- | | 样本接收 | 实验室人员对已交收的样本进行样本检验 | | 保存 | 实验室人员样本实验数据保存 | | 审核 | 实验室人员样本实验数据审核 | | 不合格 | 样本不合格处理 | | 变更检测流程 | 对既定检测流程进行增加,不可删,只可加 | | 回退 | 检测流程回退到上个流程节点 | | 导入 | 导入实验数据 | | 导出 | 导出实验数据,导出模版 | | 备注 | 如下个环节的专业组跨组,则该环节检测完成后需将样本交接给下个组 |

样本检测.jpg

样本检测-列表详情.jpg

4.报告单

  • 报告单管理 | 功能点 | 描述 | | --- | --- | | | 同现有功能,流程节点全部检测完成流转到报告单 |

报告单管理.png 报告单管理-详情弹窗.png 5.财务

  • 财务管理 | 功能点 | 描述 | | --- | --- | | | 同现有功能 |

6.综合查询

  • 财务管理 | 功能点 | 描述 | | --- | --- | | | 同现有功能 |