Linux服务器搭建JavaWeb开发环境(序章)

210 阅读3分钟

昨天刚在阿里云买了个云服务器,准备在服务器上从零开始搭建一套JavaWeb开发环境,所以新开个专栏记录下所有过程。

本文是此专栏的序章,主要介绍下基本环境和需要搭建的软件及软件安装包的资源位置。

基本环境介绍

基本环境包括客户端和服务端,客户端是一台mac电脑,主要用来连接服务器,服务端是阿里云Linux CentOS 7.6版本系统。

  • 客户端:操作系统macos 12.3.1、操作软件iterm2、系统安装了oh-my-zsh

  • 服务端:轻量应用服务器(香港)、Linux CentOS 7.6、在阿里云上只安装了基本的一个CentOS 7.6

由于这次配置只是为了方便学习如何搭建真实的云环境,所以需要在阿里云上配置一下防火墙安全组规则,开放我们常用的一些端口。

阿里云配置

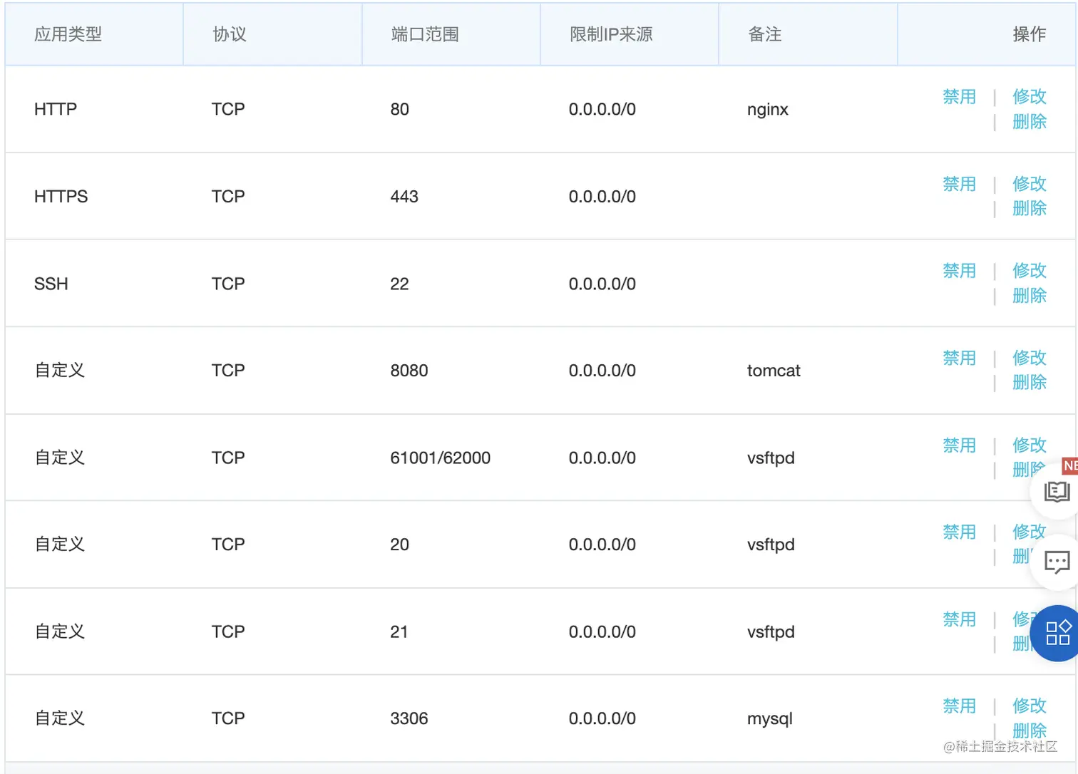
防火墙配置在阿里云->控制台->轻量应用服务器->选择自己的服务器->左边安全栏下有个防火墙。我的配置如下:

截屏2022-05-09 13.31.56.png

由于我需要安装tomcat、vsftpd、nginx、mysql,所以我开放了这些端口:

  • tomcat:8080
  • vsftpd:20、21、61001~62000(范围端口在阿里云用startPort/endPort表示)
  • nginx:80
  • mysql:3306
  • ssh:22
  • https:443

阿里云的安全组规则也可以直接抄这里的就行。

安装的软件

此次搭建开发环境共用到了以下几款软件

  1. oh-my-zsh(美化终端)
  2. jdk 1.8(tomcat依赖jdk)
  3. maven 3.0(管理java包依赖)
  4. Tomcat 7.0.73(高版本tomcat有坑,如果下错了包会缺失文件)
  5. vsftpd(用来搭建ftp文件服务器)
  6. nginx(配置域名转发,方便客户端浏览器使用域名访问网站)
  7. mysql 5.6(数据库)
  8. git(拉去)

服务器基础配置

客户端登录服务器

先在阿里云上设置登录密码,然后客户端使用iterm软件ssh登录服务端

//22端口
ssh root@服务端公网IP 
//非22端口
ssh -p 端口号 root@服务端公网IP 

登录成功了会出现下图阿里云欢迎语句

截屏2022-05-09 14.15.16.png

如果服务端重置了需要先删除配置然后再重新登录:

ssh-keygen -R 服务端IP

美化终端

由于默认的linux终端默认所有输出都是白色的不太好区分,所以美化一下

安装配置zsh

yum install -y zsh
chsh -s /bin/bash

安装git

yum install -y git

克隆ohmyzsh仓库

sh -c "$(wget -O- https://raw.githubusercontent.com/ohmyzsh/ohmyzsh/master/tools/install.sh)"

安装常用插件

git clone https://github.com/zsh-users/zsh-syntax-highlighting.git ${ZSH_CUSTOM:-~/.oh-my-zsh/custom}/plugins/zsh-syntax-highlighting                                                    

git clone https://github.com/zsh-users/zsh-autosuggestions ${ZSH_CUSTOM:-~/.oh-my-zsh/custom}/plugins/zsh-autosuggestions  

git clone https://github.com/zsh-users/zsh-completions ${ZSH_CUSTOM:=~/.oh-my-zsh/custom}/plugins/zsh-completions

修改~/.zshrc文件的plugins=(git)plugins=(git zsh-completions zsh-autosuggestions zsh-syntax-highlighting)

修改主机名称

由于默认主机名称太长(就是root@后面那个主机名),影响美观,所以改了它

hostnamectl set-hostname 新主机名

TIPS:修改完后需要重新登录才生效,mac退出ssh按键盘control+d即可

修改源

由于CentOS的仓库源默认在国外,所以下载速度会很慢,需要替换成阿里的源,替换操作如下配置:

mv /etc/yum.repos.d/CentOS-Base.repo /etc/yum.repos.d/CentOS-Base.repo.backup

wget -O /etc/yum.repos.d/CentOS-Base.repo http://mirrors.aliyun.com/repo/Centos-7.repo
或者
curl -o /etc/yum.repos.d/CentOS-Base.repo http://mirrors.aliyun.com/repo/Centos-7.repo
yum makecache