vim编辑器

226 阅读2分钟

vim编辑器

1.什么是文本编辑器

文本编辑器,顾名思义,就是用于编写文本、修改配置文件和程序的计算机软件。 在Windows系统中,这种软件通常为记事本、notepad等等,而在Linux系统中,通常使用vi/vim作为首选的文本编辑器, 当然Linux中肯定不止这两种编辑器。但是,我个人认为,刚接触Linux的小白,只需掌握vi/vim编辑器,就足以应对新手期,等到后面学扎实了,是完全可以按照个人的爱好再进行抉择的。 (vim编辑器在最小化安装的系统中是没有的,需要 yum install vim 进行手动安装

vim作为vi编辑器的升级版,其功能要比vi强大得多,也更加方便操作人员的使用,所以,我们接下来的内容全部都使用vim编辑器进行讲解操作。 (注:在Linux中,如果使用vim编辑了一个本不存在的文件,例如 vim 123.txt(123.txt是不存在的),那么进行的操作就是vim帮助我们新建了一个叫123.txt的文件,然后再对123.txt进行编辑;如果123.txt事先存在,那么就是直接对123.txt进行编辑。)

image.png 2. vim编辑器使用指南

格式:vim [选项] [文件名] (注:选项可有可无,不加选项就是普通的进入文件,并且光标位于文件的最开始的位置,然后进行编辑;添加选项,就是对所需编辑的文件进行一些特殊的操作,下面我们以etc目录下的passwd文件进行演示。 !!!友情提示:无论是做实验还是工作,在对配置文件进行修改时,最好将源文件至少备份一份,以免出现因修改配置文件而导致部分服务宕机的问题!!!

image.png 1.插入模式

此模式下,可使用方向键(上、下、左、右键)或 k、j、h、i 移动光标的位置,还可以对文件内容进行复制、粘贴、替换、删除等操作。 image.png 2. 命令模式

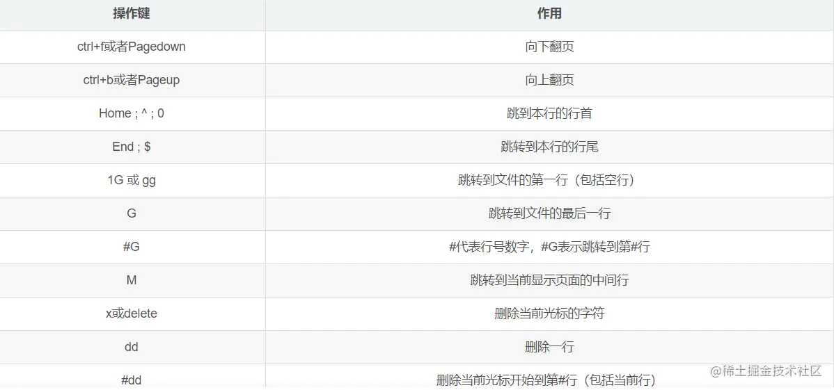
image.png image.png 3 末行模式

文件中的指定内容执行保存、查找或替换等操作。使 vim 切换到末行模式的方法是在命令模式状态下按  : (英文冒号)键,此时 vim 窗口的左下方出现一个  :  符号,这是就可以输入相关指令进行操作了 image.png image.png

image.png

总结

以上就是Linux系统中vim编辑器的大致使用方法,作为小白来说,初期掌握以上知识是完全够用的。vim编辑器的知识点、小技巧等有太多了,讲是讲不完的,这个就需要我们以后在工作中去慢慢摸索了。