安装及管理程序

196 阅读4分钟

Linux应用程序基础

image.png

典型应用程序的目录结构

image.png

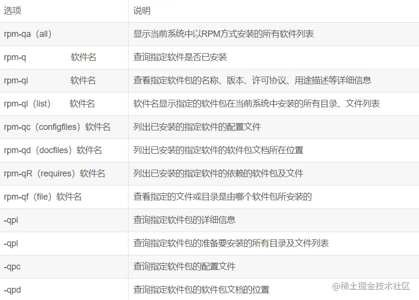
常见的软件包封装类型

image.png

rpm命令的格式

  • rpm命令能够实现几乎所有对RPM软件包的管理功能

  • 执行"man rpm"命令可以获得关于rpm命令的详细帮助信息

  • rpm命令功能

    • 查询、验证RPM软件包的相关信息、
    • 安装、升级、卸载RPM软件包
    • 维护重建RPM数据库信息等综合管理操作 常用选项

image.png 示例:当前系统已安装的软件包查询 image.png

查看已安装的指定软件的详细信息 image.png 查看已安装的指定软件包在当前系统中安装的所有目录 image.png

反向查看已安装的指定的文件或目录属于哪个安装包 image.png

列出已安装的指定软件的软件包文档所在位置 image.png

查询未安装的RPM软件包文件中信息

rpm -qp[子选项] RPM包文件

常用选项

image.png

安装、升级、卸载RPM包

image.png

解决软件包依赖关系的方法

安装有依赖关系的多个软件时 被依赖的软件包需要先安装

可同时指定多个.rpm包文件进行安装

卸载有依赖关系的多个软件时 依赖其他程序的软件包需要先卸载

可同时指定多个软件名进行卸载

忽略依赖关系 结合“- -nodeps”选项,但可能导致软件异常

yum安装

什么是yum

yum( Yellow dog Updater, Modified)是一个在 Fedora 和 RedHat 以及 SUSE 中的 Shell 前端软件包管理器。基于 RPM 包管理,能够从指定的服务器自动下载 RPM 包并且安装,可以自动处理依赖性关系,并且一次安装所有依赖的软件包,无须繁琐地一次次下载、安装。

安装:yun install 软件名

卸载:yun remove 软件名

配置yum本地仓库

Linux 系统中“一切皆文件”,所有文件都放置在以根目录为树根的树形目录结构中。在 Linux 来,任何硬件设备也都是文件,它们各有自己的一套文件系统(文件目录结构)

mount:挂载,你的包在你的光驱里并没有放在系统中,光盘的包只有先挂载在光盘到我的系统

unmount:解挂载,跟着硬件设备走,不在挂载的文件下

(什么是挂载:将硬件,比如光盘、光驱等,挂载在目录上使用,变成文件)

image.png image.png image.png 可以看到/mnt目录已经被sr0全部占用

进入yum目录移走系统原有yum image.png

新建本地yum仓库

设置虚拟机配置

image.png

在终端关闭防火墙

image.png

挂载并查看是否成功

[root@localhost ~]# mount /dev/sr0 /mnt/    //写保护,将以只读的方式挂载,挂载到/mnt目录下
[root@localhost ~]# df -Th  #查看挂载

切换至yum.repo.d目录,新建一个文件夹,再将自带的仓库移走

[root@localhost ~]# cd /etc/yum.repos.d/      //切换至cd /etc/yum.repos.d/ 
[root@localhost yum.repos.d]# mkdir beifen   //创建一个文件夹,名为beifen
[root@localhost yum.repos.d]# mv *.repo beifen/   //把自带的仓库以.repo结尾的移到新建的beifen文件夹下

新建本地yum仓库

vim 123.repo                //新建yum文件
 
 
[123]                       
 
name=123                   //名称随便取
 
baseurl=file:///mnt       //设置本地仓库的链接  
 
enabled=1                  //设置开启 
 
gpgcheck=0               //无需验证

安装tree软件​​​​​

image.png 安装软件包

yum install httpd -y                 //以安装httpd包为例
 
systemctl start httpd.service       //启动httpd服务

此时我们在浏览器输入linux中的网络号就会出现httpd服务的页面

image.png

一键安装本地yun仓库

[root@localhost data]#vim yumlocal.sh
 
#!/bin/bash
mount /dev/sr0 /mnt/
 
cd /etc/yum.repos.d/
mkdir bakup
mv *.repo bakup/
echo "[local]
name=local
baseurl=file:///mnt
enabled=1
gpgcheck=0" > localyum.repo
 
yum clean all
yum list
 
 
[root@localhost data]#bash yumrepo.sh
 
#然后就可以用yum下载软件了
 
[root@localhost opt]#yum install -y httpd

源码编译安装

1.下载源代码安装包文件,以 APACHE 服务为例,我们需要进入httpd.apache.org/找到httpd的软件包。

image.png

image.png

2.解压安装包

使用 tar xvf 压缩包名字 将压缩包解压,解压后会在同级目录下出现一个以软件包为名字的文件夹,也可 -C 指定目录

image.png

3/.configure配置

cd 到该文件夹里,发现有一个名为configure的可执行文件,使用./configure配置进行安装目录、安装模块等选项的设置。

image.png

image.png yum install -y pcre*

image.png 再执行./configure,这次发现没有报错

image.png

4.make编译

直接在该文件夹中执行 make 命令,进行编译,make编译是为了生成可执行的二进制文件。 image.png

5.make install 安装

接着使用 make install 命令进行安装,其用途是将可执行的二进制文件复制到系统中,配置应用环境。

image.png

6.测试

首先,我们使用 cd 到 /usr/local/apache文件夹,ls 一下,发现有一个 bin 文件夹,ls bin,发现有许多的可执行文件,其中有一个 apachectl 的可执行文件,我们./apachectl ,就将apache服务开启了。(httpd的可执行文件是一样的)

image.png

image.png

其次,关闭虚拟机防火墙

systemctl  stop firewalld.service

setenforce 0

最后,物理机访问

image.png